KV NUM MONT-014 Cooker Hood

Product Information
The product is a cooker hood manufactured by COKKER. It is designed to be installed in a niche cabinet. The hood is made of metal and comes with a railing for support. The product version is 2023-01.
Product Usage Instructions
- Before assembly, paint the inside of the primed cabinet. Remove the railing before painting.
- Install the cabinets and hood board.
- Build a framework (stud wall) for support.
- Place the niche cabinets either to the left or right.
- Screw the cabinet to the wall, screwing inside the back of the cabinet for minimal visibility.
- Follow the placement measurements for screwing the cabinet to the wall.
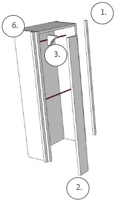
- Thread the railing into the bracket and splice it into place.
- Lock the railing with a locking screw in the bracket using a screw bit for slotted screws.
- Glue the back edges of the corner block.
- Place the corner block in the corner of the moulding on the underside of the hood board.
- Pre-drill two holes for nails and carefully nail the corner block in place.
- Fill any nail holes with putty and sand them down.
Please note that these instructions are based on version 2023-01 of the product. For any additional information or support, you can contact Montagesupport at +46 512 30 10 71 or [email protected].
Assembly support
+46 512 30 10 71
[email protected]
We reserve the right for possible printing errors and product changes.
Assembly of Hood Hällekis

Facts hood Hällekis
Parts



- Mouldings to cabinets
- Cover strip wall gable
- Corner blocks
- Railing metal
- Hood board
- Niche cabinet
Niche cabinet for kitchen utensils
Rail (detachable for painting).
Niche cabinet for spices
Fixed shelves Rail (detachable for painting).
Note
The niche cabinets can be placed either to the left or to the right
Note: Primed cabinet must be painted inside before assembly, remove railing before painting.
Railing is mounted in place in pre-drilled holes. The number of railing brackets can vary based on the width of the cover.

The fan housing should be mounted in the recess of the hood shroud

Assembly order of niche in principle. Worktop must be in place during assembly.

Install base cabinet in wall niche.

Install the cabinets and hood board. Build framework (stud wall).

Cover wall with wall panels.
Note
The lower width of the niche is determined by the base cabinets, The width of the upper part (hood board) is made based on its width.
Niche dimensions in wall for hood Hällekis
Build the wall niche for the hood board according to the measurements below. Measure the hood board.
With niche = With hood board + 396 mm


Deep niche = Deep hood board + 55 mm

Assembly order hood
- Bring out the niche cabinets Screw the fastening strip onto the cabinet

- Glue and screw the outer pass strip 80 mm to the cabinets


- Place the cupboards in the wall niche so that the (80 mm) fitting strip lines up with the wall, move the cupboards further out from the wall approx. 5 mm to get a nice meeting with the wall and the fitting stripe.

- Placement measurements
4b Screw the cabinet to the wall, screw inside the back of the cabinet (least visible).

- Measure the distance from the side of the cabinet to the wall, cut to a matching strip which is then glued to the assembled faste-ning strip on the nische cabinet.

- Lift up the fan frame on the upper side of the cabinets, center the fan frame between the cabinet and the wall

- Make sure the fan frame is mounted horizontal.
- Fasten and screw the fan frame with studs in the frame and wall, using construction studs (not included in delivery).
- Screw the fan frame into the niche cabinets. Screw the fan frame into the niche cabinets.

- Build a framework with studs (not included in delivery) around the niche of the fan hood.

- Mount wallboards on the framework around the niche

- Mount the railing brackets in the pre-drilled holes in the shelf

- Mount the rail brackets in the shelf

- Mount the rail brackets in the shelf
12a Thread the railing into the bracket. Railing is spliced in bracket
12b End distance cc bracket to end edge
12c Lock the railing with locking screw in bracket with screw bit for slotted screw
- Glue the back edges of the corner block
13 b Put the corner block in the corner of the moulding on the underside of the hood board. Pre-drill 2 holes for nails. 13 c Carefully nail the corner block
13 d Putty and sand the nail holes

- Connect the fan and fasten it to the fan frame. Follow the fan supplier’s installation instructions for the fan housing


Rail (detachable for painting).
Fixed shelves Rail (detachable for painting).































