
Owner’s Manual.
PT200
6FT Pool Table
www.viavito.com

Congratulations on purchasing your very own PT200 6FT Pool Table
You have chosen a high-quality, safe, and innovative product, and we are certain it will keep you entertained for hours.
Please take the time to read this owner’s manual as it will help you to get the most out of your new product.
For more information, or if you require any assistance please email us at [email protected]
Safety Information.
- Please read all instructions carefully before using this product.
- Retain this manual for future reference.
- The specifications of this product may vary slightly from the illustrations and are subject to change without notice.
Note the following precautions before using the product:
- Assemble the product exactly as per the instructions in this manual. We recommend that two adults work together to assemble this table.
- Check all the bolts, nuts, and other connections before using the table for the first time and ensure that it has been built correctly and is safe to be used.
- Set up the table in a dry, level place and keep it away from moisture and water.
- This product is intended for home and indoor use only.
- Choking hazard! Keep small parts and polybags away from children during and after assembly.
- Not suitable for children under 3 years of age.
- Only use the table for its intended purpose.
- Damaged or worn parts may be dangerous for users and the integrity of the table. Replace worn or damaged components immediately and do not use the table until any issues have been resolved. Use only spare parts supplied by Viavito.
- Unauthorized repairs or altering the table’s design or functions may be dangerous and will void the warranty.
- DO NOT use aggressive cleaning products such as detergents. Only use a clean cloth to clean the product.
SAFETY STANDARDS
This product meets the requirements of European safety directives.
Table Assembly.
Contents Checklist
Make sure you have the following parts:

Assembly Instructions
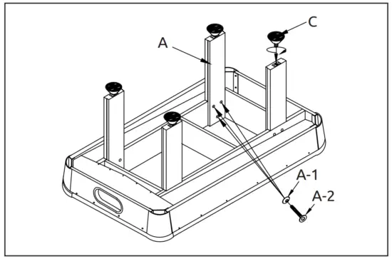
Step One.
- Find a clean, level place to begin the assembly of your table.
- Attach the legs (A) to the skeleton using the bolts (A-2) and the washers (A1) as shown below.
- Attach one leg leveler (C) to the bottom of each leg as shown below.

Note: It requires two adults to assemble this table.
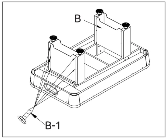
Step Two.
- Attach the leg end panels (B) to the legs (A) using the screws (B-1) as shown below.


CAUTION
- We recommend that two adults turn the table over
- Lift up the table as shown
- Turn the table over
- Place the table on all four feet at the same time on the ground

Please note: The PT200 table comes without markings. This allows you to set up the table for a variety of games including both snooker and pool.
Customer Support.
Contact Information
Should you require any assistance regarding this product please gather the following information and then contact us using the details below:
- Original purchase date
- Place of purchase
- Information about the place and conditions of use
- A precise description of the issue or defect.
IMPORTANT!! – Please retain your sales receipt, Viavito Customer Care may request proof of purchase to validate eligibility for warranty service. Warranty cover starts from the date shown on the proof of purchase. The best way to contact us is via the website: www.viavito.com
![]() | https://www.facebook.com/MyViavito |
![]() | https://instagram.com/Viavito |
| https://twitter.com/MyViavito |
Manufacturer’s Warranty
Viavito ltd warrants this product to be free of defects of material and workmanship, under normal use and conditions, for a period of 6 months from the date of the original purchase.
Terms.
This warranty extends only to the original purchaser and is not transferable.
The warranty does not cover:
01 Normal wear and tear
02 Any changes to upgrade this product from its normal state or use other than as described in the user manual
03 Damage resulting from:
a) Transport
b) Abuse, misuse, failure to follow instructions, or improper or abnormal use
c) Non-home use – including commercial, professional, or rental purposes
d) Repairs not provided by Viavito ltd
e) Accidents, lightning, water, fire, or any other causes beyond the control of Viavito
f) Improper location including, but not limited to, garden sheds, uninsulated garages, humid, damp, cold, hot, dusty, or outdoor environments, or near water such as swimming pools, etc.
Viavito is not responsible or liable for direct, indirect, or consequential losses arising out of or in connection with the use of this product or damages with respect to any loss of property, revenue, profits, enjoyment, or use, nor for any costs of removal or installation of this product.
This warranty covers products purchased as new inside the United Kingdom.
This warranty is in addition to and does not in any way affect your statutory rights.
Technical Information.
Exploded Diagram
Parts List
| No. | DESCRIPTION | Q’TY | |
| A | Leg | 4 | PCS |
| A-1 | Washer | 12 | PCS |
| A-2 | Bolt | 12 | PCS |
| B | Leg Panel | 4 | PCS |
| B-1 | Screw | 24 | PCS |
| C | Leg Leveller | 4 | PCS |
| D | Tool | 1 | PCS |
| E | Billiard Ball | 1 | SET |
| F | Triangle | 1 | PCS |
| G | Brush | 1 | PCS |
| H | Cue Stick | 2 | PCS |
| I | Chalk | 2 | PCS |
















