Sirio 7ft Pool Table Billiards
Instruction Manual
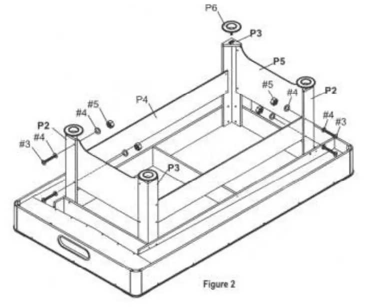
PARTS IDENTIFIER
![]() | ![]() |
ASSEMBLY INSTRUCTIONS
WARNING TWO ADULTS NEEDED TO ASSEMBLE POOL TABLE
![]() | ![]() |
![]() | |
Sirio 7ft Pool Table Billiards
Instruction Manual
![]() | ![]() |
WARNING TWO ADULTS NEEDED TO ASSEMBLE POOL TABLE
![]() | ![]() |
![]() | |
Download manual
Here you can download full pdf version of manual, it may contain additional safety instructions, warranty information, FCC rules, etc.