promed LTL-749 LED Table Lamp

Getting Started


- A. Power adapter
- B. Power adapter plug
- C. Power adapter socket
- D. ON / OFF switch (dimmer)
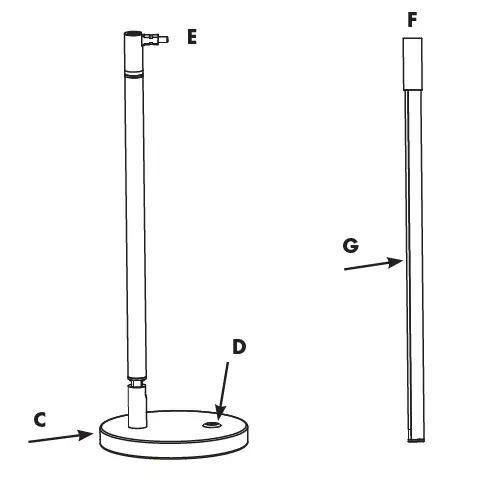
- E. Male connector
- F. Female connector
- G. LED torch
Secured by https://mereneid.eu/
Description of the unit
Please keep this user manual in a safe place!
Please read the user manual thoroughly before using the appliance for the first time.Thank you very much for choosing the Promed LTL-749 LED table lamp. We, as the manufacturer, cannot be made liable in any way for injury or damages to people or objects that arise from failure to comply with this warning. We wish you a lot of enjoyment with your new Promed LTL-749 LED lamp. We would like to familiarize you with the appliance in the following sections. Please read the user manual thoroughly before using the lamp for the first time.
Information on the unit / accessories
Before operating the unit for the first time, please check that all contents have been delivered and that the line voltage is correct. The supplied power adapter (A) is an electronic power supply unit intended for an operating voltage of 100 VAC to 240 VAC.
- You can use the Promed LTL-749 both as a table lamp and as a torch.
- If needed, the power adapter (Product No. 330097) can be purchased from Promed separately.
Safety instructions
Please pay attention to the following before first time operation:
Never place the unit in direct contact with fire, gas, oxygen or hot objects such as hot plates.
Please observe the following during operation:
- A. Power supply for the device: 100 VAC – 240 VAC.
- B. Take any measures necessary to prevent the device from falling or becomes damaged in any way.
- C. If problems do arise with the unit handpiece, take it immediately to get it repaired.
- D. Do not lubricate or wash the unit.
- E. For indoor use only.
- F. Scrupulous supervision is required when the device is being used in the vicinity of children.
- G. The device may only be used with the power adapter supplied.
DANGER!
- Do not place the unit in direct contact with water or other fluids.
- Never place or use the unit in a wet or moist environment.
- Do not touch the unit with wet hands.
Safety instructions
- Children must not play with the device.
- Never leave the unit unattended when children or inexperienced persons are in its vicinity.
- Only use the unit for the applications described in this manual.
- Never use the unit after the electrical lead has been damaged, when the unit has fallen down or when it has come in contact with water.
- This device can be used by children from the age of 8 years and by persons with reduced physical, sensory or mental abilities or lack of experience and knowledge if they are supervised by persons responsible for their safety or if they were instructed in detail on how to use this device so that they understand the risks associated with the device.
- Never let children play with the packaging material; there is a risk of suffocation.
- An electrical appliance is not a toy. Children do not recognize the risks that could develop when using electrical appliances. Therefore, operate and store the unit out of the reach of children.
- Never carry or pull the unit by the power cord. Use the plug to pull the power cord out of the wall socket. Do not pull on the power cord itself.
- Do not pull the power cord over sharp edges, wedge it in between objects, hang it down or position or hang it over hot objects (e.g., hot plates) or naked flames. Protect the power cord from heat or oil.
- Only use extension cords when you have satisfied yourself beforehand that they are not defect or damaged.
- Do not store the unit near a wash basin or bath tub as there is the danger that the unit may fall or be pulled into the wash basin or the bath tub.
- Children must not clean or maintain the device without supervision.
- If the supply cable of this unit is damaged, you must get it replaced from the manufacturer or its service agent or similarly a qualified person to avoid hazards.
Note:
The AC adapter may become slightly warm. This does not indicate a malfunction. The device can be used easily.
Operating the unit
- A. Insert the LED torch (G) with the female connector (F) into the male connector (E) at the arm of the base plate.
- B. Insert the power adapter (A) into the power socket and the male power adapter connector (B) into the provided female power adapter connector (C) on the rear side of the base plate.
- C. To switch on the device, tap the switch (D). To switch off the lamp, tap the switch (D) 3 times. To adjust the brightness of the lamp, switch on the lamp and tap the switch (D). With every tap, you dim down the lamp by one stage.
- D. Using the lamp as a torch: To use the Promed LTL-749 as a torch, insert the male power adapter connector (B) directly into the female connector (F) at the LED torch (G). Then insert the power adapter
(A) into the power socket.
In case of malfunction:
- Check that the power supply is correct.
- Check if all elements of the LED table lamp are connected to each other.
- Please contact your service point if the problems are not yet solved.
Special quality features
3-axis adjustment
With the multi-dimensional 3-axis adjustment of the table lamp, you can adjust the light precisely and thus achieve the ideal brightness for your work area.
3-stage dimming
With the 3-stage dimming, you can adjust the brightness of the lamp to your personal requirements.
Maintenance tips
To ensure that the safety, reliability and performance of the unit are not adversely affected, enhancements, readjustments, alterations or repairs are not permitted aside from those performed by Promed authorized persons.
- A. Remove dirt from the outer surface of the device with a cloth moistened with alcohol. Prevent moisture from entering the unit.
- B. Adhere to the safety measures stipulated by the manufacturer.
Disposal
Power tools, accessories, and packaging should be recycled in an environmentally suitable manner.
Only for EU countries:
Do not dispose of power tools with the domestic waste! In accordance with the European Directive 2012/19/EU on waste electrical and electronic equipment and its implementation into national law, nonfunctioning power tools must be collected separately and recycled in an environmentally suitable manner. This symbol indicates that disposal of this product in the domestic waste is not permitted within the EU. Waste devices contain valuable recyclable material that should be recycled. Recycling also prevents uncontrolled waste disposal from damaging the environment and human health. Therefore, please dispose of all waste devices in the appropriate collection systems or send the device to the place where you bought the device for disposal. They will then recycle the device.
Warranty
This product was produced with the utmost care and was thoroughly tested before it left the factory. Therefore, we provide a warranty period of 24 months from the date of purchase for this product. Promed products conform to their description and the relevant specifications; it is your responsibility to ensure that the product which you have purchased is designed for your intended use.
- In the event of material defects and/or manufacturing errors which appear during proper use and are detected during the warranty period, we will replace all defective parts of the product free of charge within the warranty period, including the labour costs for warranty repairs.
- The warranty does not cover:
- Normal wear on the product
- Defects which were caused during transportation or storage of the product
- Defects or damage which were caused through improper use or inadequate maintenance
- Damage resulting from disregarding the notes in the operating manual
- Damage resulting from modifications to the product which were not carried out by Promed.
- Damage caused by sharp objects or as a result of torsion, compression, being dropped, an abnormal impact or other actions which are beyond Promed’s reasonable control.
- Parts which are subject to wear (e.g. moving parts such as ball bearings, Motors, motor carbon brushes etc., fasteners, etc.) are generally excluded from the warranty.
- A claim under the warranty is not enforceable if:
- the product is not sent back in its original packaging or in adequately secure packaging;
- it has been modified or repaired by a person or company other than Promed or one of Promed’s authorised dealers;
- the product has been repaired using parts which are not approved by Promed;
- the serial number / LOT number of the product has been removed, deleted, changed or made illegible.
- • For reasons of hygiene, any products which have been exposed to direct contact with a body or with bodily fluids (e.g. blood) must be packaged in an additional plastic bag before they are sent back. In this case, a specific note of this situation must be made in the package or in the accompanying documents.
- For components or products which are replaced during the warranty period, a warranty is only provided for the remainder of the original warranty period; provided that the product or part replacement was carried out by Promed or one of Promed’s authorised dealers.
- The warranty period begins on the day of purchase. Claims under the warranty must be established within the warranty period. Complaints arising after the expiry of the warranty period cannot be considered.
- Under these warranty conditions, the warranty shall only apply if the date of purchase can be proven by means of a sales receipt or similar.
- We reserve the right to make technical and visual changes as well as changes to the features.
- This warranty is only valid and enforceable in the country in which it was purchased by the original buyer, provided that it was Promed’s intention that the product should be offered for sale in this country. This warranty is also enforceable in any country within the European Economic Area in which Promed has an authorized importer or sales partner. Depending on each country, specific and differing warranties and guarantees may be applicable owing to the particular applicable legislation. These legal provisions are neither excluded nor limited by these warranty conditions. To the extent permissible under national law, the warranty period shall not be extended, renewed or otherwise affected by any subsequent resale, repair or replacement of the product.
- The provisions of the UN Convention on Contracts for the International Sale of Goods shall not apply.
- Our warranty conditions do not affect the seller’s legal warranty obligation.
- To the fullest extent possible under the applicable mandatory legislation, these warranty conditions constitute your sole and exclusive legal remedy and shall apply in place of any other express or implied warranty conditions. Promed is not liable for any unusual, incidental, punitive or consequential damages including, but not limited to loss of profits, loss of use, loss of revenue, costs of replacement equipment or facilities, third party insurance claims, and damage to property which are the result of the purchase or use of the product or occur owing to a breach of warranty, a breach of contract, negligence, product defects or any other legal or statutory circumstances, even though Promed was aware of the possibility of such damages. Promed is not liable for any delay in warranty claims.
- Promed cannot be held liable for any possible translation errors.
- The following information is vital for problem-free processing:
- Original sales slip/receipt or dealer´s stamp with the date of purchase
- Defect detected
- Unit name / type
It is designed for operation with a line voltage of 100 -240 VAC, 50 / 60 Hz. CE according to EC Directive 2014/35/EU in accordance with the EC Directive
- 87/308/EC,
- 2014/30/EU,
- 1194/2012/EC,
- 2011/65/EC,
- 1907/2006/EC,
- 2001/95/EC and
- 93/68/EEC.
- Furthermore, the device
- fulfills the requirements
- of the standards:
- EN 60598-1:2005
- IEC 60598-1:2014
- EN 60598-2-4:1997
- IEC 60598-2-4:1997
- EN 62031:2008
- +A1:2013 +A2:2015
- EN 61347-1:2008
- +A1:2011 +A1:2013
- EN 61347-2-13:2014
- EN 62471:2008
- EN 62493:2010
- EN 55015:2013
- EN 61000-3-2:2014
- EN 61000-3-3:2013
- EN 61547:2009
- IEC 62471:2006
Adapter:
- EN 55014-1:2006
- +A1:2009 +A2:2011
- EN 55014-2:1997
- +A1:2001 +A2:2008
- EN 61000-3-2:2006
- +A1:2009 +A2:2009
- EN 61000-3-3:2008
- EN 61588-1:2005
- +A1:2009
- En 61558-2-16:2009
- ZEK01.4-08/11.11
TECHNICAL SPECIFICATIONS
- Appliance type:
- LED table lamp
- Power supply:
- 100 VAC – 240 VAC,
- 50/60 Hz, 0,3 A
- Sek. 24 VDC, 0,25 A
- Energy consumption with zero loading:
- 0,25 W
- Average efficiency when operating:
- 74.5 % Level V
- Nominal power: 7 W
- Number of LEDs: 49
- LED service life:
- At least 40 000 h
- Colour temperature: 5 000 K
Luminous flux: 420 lm Colour rendering index (CRI): >80 Ra - Dimensions (ØxWxH) in mm:
- Ø 152.4 x 440 x 419.2
- Weight: 959 g
Protection class: III
LAGER
- Only transport in the original packaging.
- Transport and storage temperature:
- -20° C – +90° C
- Operating temperature:
- -20° C – +40° C
- Relative humidity:
- < 95 % non-condensing
- Atmospheric pressure:
- 700 to 1 060 hPa
- An abrupt change in temperature is to be avoided as condensation may arise in the unit. Only operate the unit after the temperature has been equalized.
MANUFACTURER
Promed GmbH · Lindenweg 11· D-82490 Farchant · Tel: +49 (0)8821/9621-0 Fax: +49 (0)8821/9621-21· [email protected] · www.promed.de
WARRANTY CARD
- Device classification
- LED table lamp
- Serial Number
- Name/address of customer
Important: In a warranty case, please return the fully completed warranty card, and if required enclose the proof of purchase (receipt) to the device.
Promed GmbH Lindenweg 11
- D-82490 Farchant
- Tel: +49 (0)8821/9621-0 Fax: +49 (0)8821/9621-21
- [email protected]
- www.promed.de
Secured by https://mereneid.eu/
















