Quick Installation Guide
Ruggedized Access Point
Step 1 Package Content
- Access Point

- Power Adapter

- Wall Mounting kit & screw set

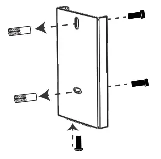
Step 2 Mounting Kits Installation
- For Wall Mount Installation:
- Determine where the mounting plate of Access Point is to be placed and mark the location on the surface for the two mounting holes.
Use the appropriate drill bit to drill two 26mm depth holes in the markings and hammer the bolts into the openings.
- Screw the anchors into the holes until they are flush with the wall.

- Put a mounting plate on the wall to map with a hole of anchor then screw the included screws into the anchors.
- Place the Access Point against wall fitting throughout the slots of the Access Point.
Step 3 Connecting the Device for Configuration
- Connect one end of the Ethernet cable to the LAN1 port of the Access Point and the other end to the Ethernet port on the computer.
- Plug in power source in different ways that depend on the user setup environment
(A) PoE Switch (Plugin from LAN1 Port)
(B) PoE Injector (Plugin from LAN1 Port)
(C) DC Power Adapter (Plugin from DC Jack)
-Connect the Power Adapter to the DC-IN port of the Access Point and plug the other end into an electrical outlet.
Note: The Access Point supports both IEEE 802.3at PoE (Power over Ethernet) or the included power adapter. You may use either one as the power source. DO NOT use both at the same time.
Step 4 IP Address Configuration
- Once your computer is on, ensure that your TCP/IP is enabled. Open Network Connections and then click Local Area Connection. Select Internet Protocol Version 4 (TCP/IPv4).

- If your computer is already on a network, ensure that you have set it to a Static IP Address on the interface. (Example:
192.168.1.2, the Subnet Mask address as 255.255.255.0. and Default Gateway is 192.168.1.254 )
Step 5 Access Point Setup
- Open a web browser on your computer. In the address bar of the web browser, enter 192.168.1.254 and enter.

- A login screen will appear. By default, the username of the Access Point is admin and the password is admin. Enter the current username and password of the Access Point and then click Login.
(Username: admin, Password: admin)
- The Access Point User Interface will appear. This device can operate in Access Point operating mode.

Federal Communication Commission Interference Statement
This device complies with Part 15 of the FCC Rules. Operation is subject to the following two conditions: (1) This device may not cause harmful interference, and (2) this device must accept any interference received, including interference that may cause undesired operation.
This equipment has been tested and found to comply with the limits for a Class B digital device, pursuant to Part 15 of the FCC Rules.
These limits are designed to provide reasonable protection against harmful interference in a residential installation.
This equipment generates, uses, and can radiate radio frequency energy and, if not installed and used in accordance with the instructions, may cause harmful interference to radio communications.
However, there is no guarantee that interference will not occur in a particular installation. If this equipment does cause harmful interference to radio or television reception, which can be determined by turning the equipment off and on, the user is encouraged to try to correct the interference by one of the following measures:
-Reorient or relocate the receiving antenna.
-Increase the separation between the equipment and receiver.
-Connect the equipment into an outlet on a circuit different from that to which the receiver is connected.
-Consult the dealer or an experienced radio/TV technician for help.
FCC Caution:
Any changes or modifications not expressly approved by the party responsible for compliance could void the user’s authority to operate this equipment.
This transmitter must not be co-located or operating in conjunction with any other antenna or transmitter.
Radiation Exposure Statement:
This equipment complies with FCC radiation exposure limits set forth for an uncontrolled environment. This equipment should be installed and operated with a minimum distance of 20cm between the radiator & your body.
Installation location
The product shall be installed at a location where the radiating antenna can be kept 20cm from a nearby person in normal operating conditions to meet regulatory RF exposure requirements.





(B) PoE Injector (Plugin from LAN1 Port)
(C) DC Power Adapter (Plugin from DC Jack)






















