Levenhuk Camo 10×42
Binoculars with Reticle
Camo 10×42 Binoculars with Reticle

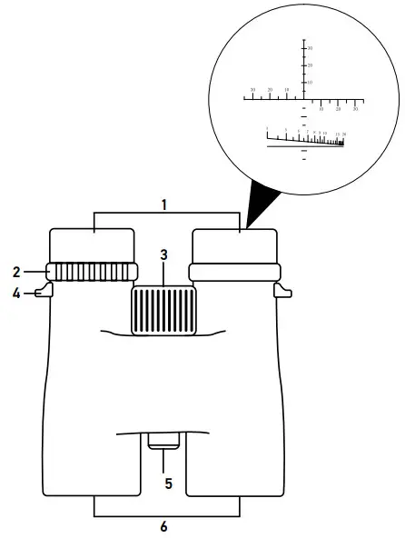
- Eyepieces
- Diopter adjustment ring
- Focusing ring
- Strap hooks
- Tripod socket cover
- Objective lenses
Levenhuk Camo 10×42 Binoculars with Reticle
Caution! Never look directly at the Sun through this device, as this may cause permanent eye damage and even blindness.
Reliable and sturdy, Levenhuk Camo 10×42 binoculars produce a perfect flat image and are a perfect choice for people who like to travel a lot, often go hiking and sometimes, along the way, find themselves in extreme situations and harsh conditions, where regular binoculars just would not do. The rugged shell of these binoculars protects the intricate optical system inside from any sudden impacts or moisture.
Features:
- High-quality roof prisms made of fully multi-coated BK-7 optical glass;
- Waterproof shells (IP67), rubberized for the perfect grip;
- Central focusing and diopter adjustment mechanisms;
- Rangefinder scale for convenient measuring of the observed object’s size or distance to the object;
- Adaptable to a tripod (purchased separately).
The kit includes: binoculars, dust caps for eyepieces and objective lenses, strap, pouch, cleaning wipe, user manual, and warranty.
Reticle
This device is equipped with a rangefinder scale. It consists of vertical and horizontal lines with divisions on the lens and enables the measurement of the height, distance, and size of a target as well as the angle between two close targets (or between the two ends of one target). A division value on both vertical and horizontal lines equals 5mils (360º equals 6400mils) and, therefore, the distance between two big nicks on a scale equals 10mils.
The reticle also has an additional scale on the bottom half of the lens that enables the quick measurement of the distance to a target 2m high.
The reticle appearance in your model may differ from the one in this user guide.
Using the reticle to calculate distance
When you know the target’s size in meters, calculate the distance to the target in kilometers using this formula:
where S is the distance to the target in km, H is the estimated height of the target in m, and w is the vertical angle of the target in mil. For example, the estimated height of the lighthouse shown in fig. 1 is 30m, and its vertical angle is 75mils. The distance to the target is calculated as follows:
Therefore, the distance to the target is 0.4km.
Calculating the target’s size using angle readings
When you know the distance to the target in kilometers, you can calculate its height and width in meters using the distance measurement formula: H=S x w,
where H is the estimated height or width of the target in m, S is the distance to the target in km, and w is the vertical or horizontal angle of the target in mil.
For example, the estimated distance to the tank shown in fig. 2 is 0.25km, the vertical angle is approximately 10mils, and the horizontal angle is 20mils. Calculate the size using the formula:
Therefore, the tank’s height is 2.5m, and the tank’s width is 5m.
Using the additional reticle to calculate distance directly
If the target’s height is known to be 2m, you can calculate the distance to it using the additional reticle on the bottom half of the lens without using a formula. To do so, place the target on the horizontal line of the reticle. The point where the target touches the scale is the distance in meters. For example, the distance to the tank shown in fig. 3 is 550m.
Specifications
| Magnification | 10x |
| Objective lens diameter | 42mm |
| Field of view | 5.6° |
| Exit pupil diameter | 4mm |
| Eye relief | 15mm |
| Relative brightness | 14 |
| Twilight factor | 20.4 |
| Interpupillary distance | 56–74mm |
| Close focus | 3m |
| Diopter adjustment | ±5D |
| Tripod adapter thread | 1/4″ |
| Operating temperature range | –10… +50°C / +14… +122°F |
Care and maintenance
Take the necessary precautions when using the device with children or others who have not read or who do not fully understand these instructions. Do not try to disassemble the device on your own for any reason. For repairs and cleaning of any kind, please contact your local specialized service center. Protect the device from sudden impact and excessive mechanical force. Do not touch the optical surfaces with your fingers. Clean the lens surface with compressed air or a soft lens cleaning wipe. To clean the device exterior, use only the special cleaning wipes and special tools that are recommended for cleaning the optics.
Battery safety instructions
Always purchase the correct size and grade of battery most suitable for the intended use. Always replace the whole set of batteries at one time; taking care not to mix old and new ones, or batteries of different types. Clean the battery contacts and also those of the device prior to battery installation. Make sure the batteries are installed correctly with regard to polarity (+ and –). Remove batteries from equipment that is not to be used for an extended period of time. Remove used batteries promptly. Never short-circuit batteries as this may lead to high temperatures, leakage, or explosion. Never heat batteries in order to revive them. Do not disassemble batteries. Remember to switch off devices after use. Keep batteries out of the reach of children, to avoid risk of ingestion, suffocation, or poisoning. Utilize used batteries as prescribed by your country’s laws.
Levenhuk Warranty
All Levenhuk telescopes, microscopes, binoculars, and other optical products, except for their accessories, carry a lifetime warranty against defects in materials and workmanship. A lifetime warranty is a guarantee on the lifetime of the product on the market. All Levenhuk accessories are warranted to be free of defects in materials and workmanship for six months from the purchase date. The warranty entitles you to the free repair or replacement of the Levenhuk product in any country where a Levenhuk office is located if all the warranty conditions are met.
For further details, please visit: www.levenhuk.com/warranty
If warranty problems arise, or if you need assistance in using your product, contact the local Levenhuk branch.
www.levenhuk.com
Levenhuk Inc. (USA): 928 E 124th Ave. Ste D, Tampa, FL 33612,
USA, +1-813-468-3001, [email protected]
Levenhuk Optics s.r.o. (Europe): V Chotejně 700/7, 102 00 Prague 102,
Czech Republic, +420 737-004-919, [email protected]
Levenhuk® is a registered trademark of Levenhuk, Inc.
© 2006–2023 Levenhuk, Inc. All rights reserved.
20230220
References
Доживотна гаранция на Levenhuk – Официален уебсайт на Levenhuk в България
Levenhuk optical instruments store | Levenhuk - best optical equipment
Levenhuk lifetime warranty details | Levenhuk - best optical equipment
Doživotní záruka společnosti Levenhuk – Oficiální webové stránky Levenhuk pro Českou republiku
Levenhuk Lebenslange Garantie – Die offizielle Website von Levenhuk in Deutschland
| Levenhuk, los mejores equipos ópticos
Levenhuk Lifetime Warranty – Levenhuk’s official website in Europe
A Levenhuk élettartamra szóló szavatossága – A Levenhuk hivatalos magyarországi weboldala
Gwarancja bezterminowa Levenhuk – Oficjalna witryna internetowa Levenhuk w Polsce
Поддержка - Гарантийное обслуживание Левенгук - Levenhuk Russia



















