Nitro ED 12×50 Binoculars
User Manual
Nitro ED 12×50 Binoculars
Levenhuk Nitro ED 8×42, 10×42, 10×50, 12×50
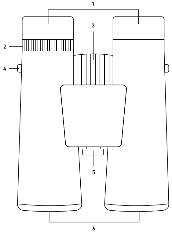
- Eyepieces
- Diopter adjustment ring
- Focusing ring
- Strap hooks
- Tripod socket cover
- Objective lenses
Nitro ED 8x42Nitro ED 10x42Nitro ED 10x50Nitro ED 12×50
| Magnification, x | 8.5 | 10 | 10.5 | 12 |
| Objective lens diameter, mm | 42 | 42 | 50 | 50 |
| Field of view, ° | 7.8 | 7 | 6.3 | 5.8 |
| Exit pupil diameter, mm | 5 | 4.1 | 4.7 | 4.1 |
| Eye relief, mm | 21 | 20.5 | 24 | 24 |
| Interpupillary distance, mm | 53–74 | |||
| Operating temperature range, °C | –10… +50 | |||
Levenhuk Nitro ED Binoculars
Caution! Never look directly at the Sun through this device, as this may cause permanent eye damage and even blindness.
Reliable and sturdy, Levenhuk Nitro ED binoculars produce a perfect flat image and are a perfect choice for people who like to travel a lot, often go hiking and sometimes, along the way, find themselves in extreme situations and harsh conditions, where regular binoculars just would not do. Thanks to nitrogen filling, these binoculars can handle any weather conditions.
Features:
- High-quality roof prisms made of fully multi-coated BaK-4 optical glass;
- Waterproof shells (IP67) with nitrogen filling;
- Central focusing and diopter adjustment mechanisms;
- Adaptable to a tripod (purchased separately).
ED glass is a special type of optical glass with extra-low dispersion. It reduces chromatic aberration and other distortions, and it provides sharp, clear, and accurate image.
The kit includes: binoculars, dust caps for eyepieces and objective lenses, strap, pouch, cleaning wipe, user manual, and warranty.
The manufacturer reserves the right to make changes to the product range and specifications without prior notice.
Care and mainenance
Take the necessary precautions when using the device with children or others who have not read or who do not fully understand these instructions. Do not try to disassemble the device on your own for any reason. For repairs and cleaning of any kind, please contact your local specialized service center. Protect the device from sudden impact and excessive mechanical force. Do not touch the optical surfaces with your fingers. Clean the lens surface with compressed air or a soft lens cleaning wipe. To clean the device exterior, use only the special cleaning wipes and special tools that are recommended for cleaning the optics.
Warranty: lifetime. For further details, please visit our web site: www.levenhuk.com/warranty
Levenhuk Inc. (USA): 928 E 124th Ave. Ste D, Tampa, FL 33612, USA,
+1-813-468-3001, [email protected]
Levenhuk Optics s.r.o. (Europe): V Chotejně 700/7, 102 00 Prague 102,
Czech Republic, +420 737-004-919, [email protected]
Levenhuk® is a registered trademark of Levenhuk, Inc.
© 2006–2023 Levenhuk, Inc. All rights reserved.
www.levenhuk.com
20221026
References
Доживотна гаранция на Levenhuk – Официален уебсайт на Levenhuk в България
Levenhuk optical instruments store | Levenhuk - best optical equipment
Levenhuk lifetime warranty details | Levenhuk - best optical equipment
Doživotní záruka společnosti Levenhuk – Oficiální webové stránky Levenhuk pro Českou republiku
Levenhuk Lebenslange Garantie – Die offizielle Website von Levenhuk in Deutschland
| Levenhuk, los mejores equipos ópticos
Levenhuk Lifetime Warranty – Levenhuk’s official website in Europe
A Levenhuk élettartamra szóló szavatossága – A Levenhuk hivatalos magyarországi weboldala
Gwarancja bezterminowa Levenhuk – Oficjalna witryna internetowa Levenhuk w Polsce
Поддержка - Гарантийное обслуживание Левенгук - Levenhuk Russia



















