FP-77SAF035 Air Fryer
Instruction Manual
MODEL NO.: FP-77SAF035LMTM-B1
PLEASE READ THE INSTRUCTIONS MANUAL CAREFULLY BEFORE USE
Introduction
Your new air fryer allows you to prepare your favorite ingredients and snacks in a healthier way. The air fryer uses hot air in combination with high-speed air circulation (rapid hot air) and a top grill to prepare a variety of tasty dishes in a healthy, fast and easy way. Your ingredients are heated from all sides at once and there is no need to add oil to most of the ingredients.
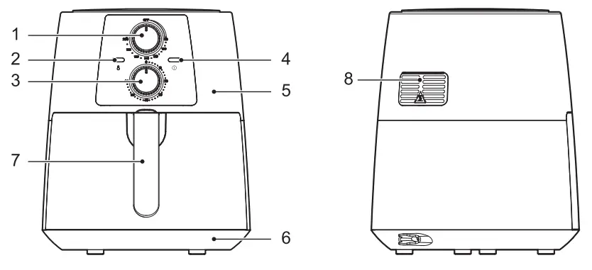
General description of main parts

| 1. Temperature Control knob | 5. Plastic Housing |
| 2. Power Light | 6. Bottom cover |
| 3. Timer(0-60 Min)/ power-on knob | 7. Basket Handle |
| 4. Heating-on Light | 8. Air outlet |
| Model | Voltage frequency | Rated power | Rated Capacity | Gross Weight/Net Weight |
| FP-77SAF035LMTM-B1 | 220-240V~ 50/60Hz | 1250-1450W | 3.5L | 4.4kg/3.5kg |
Important
Read this user manual carefully before you use the appliance and save it for future reference.
Danger
- Never immerse the housing, which contains electrical components and the heating elements, in water nor rinse under the tap.
- Do not let any water or other liquid enter the appliance to prevent electric shock.
- Always put the ingredients to be fried in the basket, to prevent it from coming into contact with the heating elements.
- Do not cover the air inlet and the air outlet openings while the appliance is operating.
- Do not fill the pan with oil as this may cause a fire hazard.
- Never touch the inside of the appliance while it is operating.
Warning
- This appliance is not intended for use by persons (including children younger 8) with reduced physical, sensory or mental capabilities, or lack of experience and knowledge, unless they have been given supervision or instruction concerning the use of appliance by a person responsible for their safety.
- Check if the voltage indicated on the appliance corresponds to the local mains voltage before you connect the appliance.
- Do not use the appliance if the plug, the mains cord or the appliance itself is damaged.
- If the mains cord is damaged, you must have it replaced by the manufacturer, its service agent or similarly qualified persons in order to avoid a hazard.
- Children should be supervised to ensure that they do not play with the appliance. Cleaning and user maintenance shall not be made by children unless they are older than 8 and supervised.
- Keep the appliance and its mains cord out of the reach of children younger than 8 when the appliance is switched on or is cooling down.
- Keep the mains cord away from hot surfaces.
- Do not plug in the appliance or operate the control panel with wet hands.
- Only connect the appliance to an earthed wall socket.
Always make sure that the plug is inserted into the wall socket properly. - Never connect this appliance to an external timer switch or separate remote-control system in order to avoid a hazardous situation.
- Do not place the appliance on or near combustible materials such as a tablecloth or curtain.
- Do not place the appliance against a wall or against other appliances. Leave at least 10cm free space on the back and sides and 10cm free space above the appliance. Do not place anything on top of the appliance.
- Do not use the appliance for any other purpose than described in this manual.
- Do not let the appliance operate unattended.
- During hot air frying, hot steam is released through the air outlet openings. Keep your hands and face at a safe distance from the steam and from the air outlet openings.
Also be careful of hot steam and air when you remove the pan from the appliance. - The accessible surfaces may become hot during use.
- After using the appliance, the metal cover inside is very hot, avoid to contact the hot metal inside after cooking.
- Immediately unplug the appliance if you see dark smoke coming out of the appliance. Wait for the smoke emission to stop before you remove the pan from the appliance.
Caution
- Place the appliance on a horizontal, even and stable surface.
- This appliance is intended for normal household use only. It is not intended for use in environments such as staff kitchens of shops, offices, farms or other work environments. Nor is it intended to be used by clients in hotels, motels, bed and breakfasts and other residential environments.
- If the appliance is used improperly or for professional or semi-professional purposes or if it is not used according to the instructions in the user manual, the guarantee becomes invalid and we could refuse any liability for damage caused.
- Always unplug the appliance after use.
- Let the appliance cool down for approx. 30 minutes before you handle or clean it.
- Make sure the ingredients prepared in this appliance come out golden-yellow instead of dark or brown. Remove burnt remnants.
- The appliance with the micro switch inside, when pull out the pan during cooking, the appliance will be shut-off power automatically.
Overheating Protection
- The appliance with overheating protection system, if the inner temperature control system invalid, the overheating protection is automatically turned on, the appliance is no longer ready to be used. Unplug the mains cord.
Automatic switch-off
This appliance is equipped with a timer. When the timer has counted down to 0, the appliance produces a bell sound and switches off automatically. To switch off the appliance manually, turn the timer knob anticlockwise to 0.
Note: If pull out the pan during cooking, the appliance will be switched off automatically, too. (Timer still in counting down) .
Electromagnetic fields (EMF)
This appliance complies with all standards regarding electromagnetic fields (EMF). If handled properly and according to the instructions in this user manual, the appliance is safe to use based on scientific evidence available today.
Test specifications/Standard
IEC 60335-2-9: 2019
IEC 60335-1: 2010 + A1: 2013 + A2: 2016
EN 60335-2-9: 2003 + A1: 2004 + A2: 2006 + A12: 2007 + A13: 2010
EN 60335-1: 2012 + A11: 2014+ A13: 2017 + A1: 2019 + A14: 2019 +
A2:2019
Before first use
- Remove all packaging material.
- Remove any stickers or labels from the appliance.
- Thoroughly clean the basket and pan with hot water, some washing-up liquid and a non-abrasive sponge.
- Wipe the inside and outside of the appliance with a moist cloth.
This is an air fryer that works on hot air. Do not fill the pan with oil or frying fat.
Preparing for use
- Place the appliance on a stable, horizontal and level surface.
Do not place the appliance on non-heat-resistant surfaces. - Place the basket in the pan properly
- Put the pan into the machine.
Note: the pan MUST be put into the appliance properly, otherwise the appliance doesn’t work! - Pull the mains cord and plug into the earthed wall socket.
Do not fill the pan with oil or any other liquid.
Do not put anything on top of the appliance.
Using the appliance
The air fryer can prepare a large range of ingredients. Pis refer to the section “settings” table hereinafter and the using guidance figures at last page.
Hot air frying
- Put the mains plug into an earthed wall socket.
- Carefully pull the pan out of the air fryer.
- Put the ingredients in the basket.
Note: Never fill the basket in full or exceed the recommended amount (see section ‘Settings’ in this chapter), as this could affect the quality of the end result. - Slide the pan back into the air fryer properly.
Never use the pan without the basket in it.
If the pan doesn’t be fixed into the air fryer properly, the appliance won’t work!
Caution: Do not touch the pan during and some time after use, as it gets very hot. Only hold the pan by the handle. - Turn the temperature control knob to the required temperature. See section’ Settings’ in this chapter to determine the right temperature.
- Determine the required preparation time for the ingredient (see section ‘Settings’ in this chapter).
- To switch on the appliance, turn the timer knob to the required preparation time.
Add 3 minutes to the preparation time when the appliance is cold.
Note: If you want, you can also let the appliance preheat without any ingredients inside. In that case, turn the timer knob to more than 3 minutes and wait until the heating-up light goes out (after approx. 3 minutes). Then fill the basket and turn the timer knob to the required preparation time.
a The power-on light and the heating-up light go on.
b The timer starts counting down the set preparation time.
c During the hot air frying process, the heating-up light comes on and goes out from time to time. This indicates that the heating element is switched on and off to maintain the set temperature.
d Excess oil from the ingredients is collected on the bottom of the pan. - Some ingredients require shaking halfway through the preparation time (see section ‘Settings’ in this chapter). To shake the ingredients, pull the pan out of the appliance by the handle and shake it. Then slide the pan back into the air fryer and continue to cook.
Caution: Do not press the button of the handle during shaking.
Tip: To reduce the weight, you can remove the basket from the pan and shake the basket only. To do so, pull the pan out of the appliance, place it on a heat-resistant surface and press the button of the handle.
Tip: If you set the timer to half the preparation time, you hear the timer bell when you have to shake the ingredients. However, this means that you have to set the timer again to the remaining preparation time after shaking.
Tip: If you set the timer to full preparation time, there is no timer bell during cooking before finishing, you can pull out the pan at any time to check the ingredients cooking condition, the power will shut down automatically and resume after slide the pan back into the appliance(timer always counts down in this situation). - When you hear the timer bell, the set preparation time has elapsed. Pull the
pan out of the appliance and place it on a heat-resistant surface.
Note: You can also switch off the appliance manually. To do this, turn the
temperature control knob to 0, or pull out the pan directly. - Check if the ingredients are ready.
If the ingredients are not ready yet, simply slide the pan back into the appliance and set the timer to a few extra minutes. - To remove small ingredients (e.g. fries), press the basket release button and lift the basket out of the pan.
Do not turn the basket upside down with the pan still attached to it, as any excess oil that has collected on the bottom of the pan will leak onto the ingredients.
After hot air frying, the pan and the ingredients are hot.
Depending on the type of the ingredients in the air fryer. steam may escape from the pan.
After hot air frying. the pan and the inside metal cover are hot, avoid to touch is needed. - Empty the basket into a bowl or onto a plate.
Tip: To remove large or fragile ingredients, use a pair of tongs to lift the ingredients out of the basket - When a batch of ingredients is ready, the air fryer is instantly ready for preparing another batch.
Settings
This table below helps you to select the basic settings for the ingredients you want to prepare.
Note: Keep in mind that these settings are indications. As ingredients differ in origin, size, shape as well as brand, we cannot guarantee the best setting for your ingredients.
Because the rapid hot air technology instantly reheats the air inside the appliance, pulling the pan briefly out of the appliance during hot air frying barely disturbs the process.
Tips
- Smaller ingredients usually require a slightly shorter preparation time than larger ingredients.
- A larger amount of ingredients only requires a slightly longer preparation time, a smaller amount of ingredients only requires a slightly shorter preparation time.
- Shaking smaller ingredients halfway through the preparation time optimizes the end result and can help prevent unevenly fried ingredients.
- Add some oil to fresh potatoes for a crispy result. Fry your ingredients in the air fryer within a few minutes after you added the oil.
- Do not prepare extremely greasy ingredients such as sausages in the air fryer.
- Snacks that can be prepared in a oven can also be prepared in the air fryer.
- The optimal amount for preparing crispy fries is 500 grams.
- Use pre-made dough to prepare filled snacks quickly and easily. Pre-made dough also requires a shorter preparation time than home-made dough.
- Place a baking tin or oven dish in the air fryer basket if you want to bake a cake or quiche or if you want to fry fragile ingredients or filled ingredients.
- You can also use the air fryer to reheat ingredients. To reheat ingredients, set the temperature to 150C for up to 10 minutes.
| Menus | Temperature | Time (min.) |
| Defrost | 80 C | 5-10 |
| French fries | 200 C | 13-18 |
| Chicken Wing | 200 C | 17-22 |
| Chicken Legs | 200 C | 20-25 |
| Meat | 200 C | 10-15 |
| Prawn | 160 C | 6-10 |
| Fish | 180 C | 8-15 |
| Cake | 180 C | 8-12 |
Note: Add 3 minutes to the preparation time when you start frying while the air fryer is still cold.
Making home-made fries
To make home-made fries, follow the steps below.
- Peel the potatoes and cut them into sticks.
- Wash the potato sticks thoroughly and dry them with kitchen paper.
- Pour 1/2 tablespoon of olive oil in a bowl, put the sticks on top and mix until the sticks are coated with oil.
- Remove the sticks from the bowl with your fingers or a kitchen utensil so that excess oil stays behind in the bowl. Put the sticks in the basket.
Note: Do not tilt the bowl to put all the sticks in the basket in one go, to prevent excess oil from ending up on the bottom of the pan. - Fry the potato sticks according to the instructions in this chapter.
Cleaning
Clean the appliance after every use.
Don’t touch the hot metal inside before cleaning while just after frying. Cool down the appliance is needed before cleaning!
The pan and the basket, do not use metal kitchen utensils or abrasive cleaning materials to clean them, as this may damage the non-stick coating.
- Remove the mains plug from the wall socket and let the appliance cool down.
Note: Remove the pan to let the air fryer cool down more quickly. - Wipe the outside of the appliance with a moist cloth.
- Clean the pan and the basket with hot water, some washing-up liquid and a non-abrasive sponge.
You can use a degreasing liquid to remove any remaining dirt.
Tip: If dirt is stuck to the basket or the bottom of the pan, fill the pan with hot water with some washing-up liquid. Put the basket in the pan and let the pan and the basket soak for approximately 10 minutes. - Clean the inside of the appliance with hot water and non-abrasive sponge.
- Clean the heating element with a cleaning brush to remove any food residues.
Storage
- Unplug the appliance and let it cool down.
- Make sure all parts are clean and dry.
- Put the air fryer on the clean and dry place.
Environment
Do not throw away the appliance with the normal household waste at the end of its life, but hand it in at an official collection point for recycling. By doing this, you help to preserve the environment.
Guarantee and service
If you need service or information or if you have a problem, please visit our website or contact your distributor.
Troubleshooting
| Problem | Possible cause | Solution |
| The air fryer does not work | The appliance is not plugged in. | Put the mains plug in an earthed wall socket. |
| You have not set the timer. | Turn the timer knob to the required preparation time to switch on the appliance. | |
| The pan is not put into the appliance properly. | Slide the pan into the appliance properly. | |
| The ingredients fried with the air fryer are not done. | The amount of ingredients in the basket is too big. | Put smaller batches of ingredients in the basket. Smaller batches are fried more evenly. |
| The set temperature is too low. | Turn the temperature control key to the required temperature setting (see section ‘settings’ in chapter ‘Using the appliance’). | |
| The preparation time is too short. | Turn the timer key to the required preparation time (see section ‘Settings’ in chapter ‘Using the appliance). | |
| The ingredients are fried unevenly in the air fryer. | Certain types of ingredients need to be shaken halfway through the preparation time. | Ingredients that lie on top of or across each other (e.g.fries) need to be shaken halfway through the preparation time. See section’Settings’ in chapter ‘Using the appliance. |
| Fried snacks are not crispy when they come out of the air fryer. | You used a type of snacks meant to be prepared in a traditional deep fryer. | Use oven snacks or lightly brush some oil onto the snacks for a crispier result. |
| I cannot slide the pan into the appliance properly. | There are too much ingredients in the basket. | DO NOT fill the basket beyond in full, refer to the -Setting’ table above. |
| The basket is not placed in the pan correctly. | Push the basket down into the pan until you hear a dick. | |
| White smoke comes out of the appliance. | You are preparing greasy ingredients. | When you fry greasy ingredients in the air fryer, a large amount of oil will leak into the pan. The oil produces white smoke and the pan may heat up more than usual. This does not affect the appliance or the end result. |
| The pan still contains grease residues from previous use. | White smoke is caused by grease heating up in the pan. Make sure you dean the pan properly after each use. | |
| Fresh fries are fried unevenly in the air fryer. | You did not use the right potato type. | Use fresh potatoes and make sure they stay firm during frying. |
| You did not rinse the potato sticks properly before you fried them. | Rinse the potato sticks properly to remove starch from the outside of the sticks. | |
| Fresh fries are not crispy when they come out of the air fryer. | The crispiness of the fries depends on the amount of oil and water in the fries. | Make sure you dry the potato sticks properly before you add the oil. |
| Cut the potato sticks smaller for a crispier result. | ||
| Add slightly more oil for a crispier result. |


















