eurolite 40001975 LED PFE-200 3000K Profile Spot User Manual
DANGER! Electric shock caused by short-circuit
Be careful with your operations. With a dangerous voltage you can suffer a dangerous electric shock when touching the wires. Never open the housing. Keep the device away from rain and moisture.
Please read these instructions carefully before using the product. They contain important information for the correct use of the product.
Every person involved with the installation, operation and maintenance of this device has to
- be qualified
- follow the instructions of this manual
- consider this manual to be part of the total product
- keep this manual for the entire service life of the product
- pass this manual on to every further owner or user of the product
- download the latest version of the user manual from the Internet
INTRODUCTION
Thank you for having chosen one of our products. If you follow the instructions given in this manual, we are sure that you will enjoy this device for a long period of time.
Product features
PRO profile spotlight, 200 W warm white LED, zoom, shutter blades, CRI >95
- Equipped with 1 x 200 W COB LED in warm white
- Chip-on-board technology makes for homogeneous light beam
- Ideal for theaters and stages
- Stand-alone or DMX mode
- Master/slave function for synchronous operation of multiple devices
- Dimmer and strobe effect
- Dimmer speed (step response) adjustable
- Manual focus
- Manual zoom
- Control panel with LCD for easy configuration
- Color filter frame and 4 shutter blades included in delivery
- Swivel mounting bracket
- Mains input and output for power linking up to 8 units
SAFETY INSTRUCTIONS
WARNING!
Please read the safety warnings carefully and only use the product as described in this manual to avoid accidental injury or damage.
Intended use
- This device is an LED profile spot for professional lighting effects in the field of event technology, e.g. on stage. It is not suitable for household lighting.
- Only use the device according to the instructions given herein. Damages due to failure to follow these operating instructions will void the warranty! We do not assume any liability for any resulting damage.
- We do not assume any liability for material and personal damage caused by improper use or noncompliance with the safety instructions. In such cases, the warranty will be null and void.
- Unauthorized rebuilds or modifications of the device are not permitted for reasons of safety and render the warranty invalid.
Danger due to electricity
- The device is suitable for indoor use only. Do not use it outdoors. Never expose it to rain or moisture. Do not store it in rooms exposed to moisture.
- To reduce the risk of electric shock, do not open any part of the device. There are no serviceable parts inside the device.
- Only connect the device to a properly installed mains outlet. The outlet must be protected by residual current breaker (RCD). The voltage and frequency must be exactly the same as stated on the device. If the mains cable is equipped with an earthing contact, then it must be connected to an outlet with a protective ground. Never deactivate the protective ground of a mains cable. Failure to do so could possibly injure theuser.
- The mains outlet must be easily accessible so that you can unplug the device quickly if need be.
- Never touch the mains plug with wet or damp hands. There is the risk of potentially fatal electric shock.
- The mains cable must not be bent or squeezed. Keep it away from hot surfaces or sharp edges.
- Never pull the mains cable to disconnect the mains plug from the mains outlet, always seize the plug.
- Unplug the device during lightning storms, when unused for long periods of time or before cleaning.
- Do not expose the device to any high temperatures, direct sunlight, dripping or splashing water, strong vibrations or heavy mechanical stress.
- Do not place any objects filled with liquids on the device.
- Do not place any open sources of fire, such as burning candles, on or directly next to the device.
- Make sure that objects cannot fall into the device, in particular metal parts.
- Only have repairs to the device or its mains cable carried out by qualified service personnel. Repairs are required when the device or the mains cable is visibly damaged, liquid has been spilled or objects have fallen into the device; when the device has been exposed to rain or moisture, has been dropped or malfunctions occur.
- Cleaning of the device is limited to the surface. Make sure that moisture does not come into contact with any areas of the terminal connections or mains voltage control parts. Only wipe off the product with a soft lint-free and moistened cloth. Never use solvents or aggressive detergents.
Danger to children and people with restricted abilities
- This product is not a toy. Keep it out of the reach of children and pets. Do not leave packaging material lying around carelessly. Never leave this device running unattended.
- This device may be used only by persons with sufficient physical, sensorial, and intellectual abilities and having corresponding knowledge and experience. Other persons may use this device only if they are supervised or instructed by a person who is responsible for their safety.
Warning – risk of burns and fire
- The admissible ambient temperature range (Ta) is -5 to +40°C. Do not operate the device outside of this temperature range.
- The housing temperature (Tc) can be up to 65°C during use. Avoid contact by persons and materials.
- Do not illuminate surfaces within 30 cm of the device. This value is indicated on the device by the symbol.
- Do not use the device near highly flammable materials. Always place the device at a location where sufficient air circulation is ensured. Leave 50 cm of free space around the device. Never cover the air vents of the housing.
Warning – risk of injuries
- Do not look directly at the light source. Persons with light-sensitive epilepsy may suffer from epileptic seizures or fall unconscious.
- Make sure that the product is set up or installed safely and expertly and prevented from falling down. Comply with the standards and rules that apply in your country, in particular EN 60598-2-17.
- If you lack the qualification, do not attempt the installation yourself, but instead use a professional installer. Improper installation can result in bodily injury and or damage to property.
- The manufacturer cannot be made liable for damages caused by incorrect installations or insufficient safety precautions.
- For overhead use, always secure the device with a secondary safety attachment such as a safety bond or safety net.
- Make sure that the area below the installation place is blocked when rigging, derigging or servicing the device.
- For commercial use the country-specific accident prevention regulations of the government safety organization for electrical facilities must be complied with at all times.
Caution – material damage
- This device must not be connected to the mains voltage by means of a dimmer.
- Lighting effects are not designed for permanent operation. Consistent operation breaks will ensure that the device will serve you for a long time without defects.
- Never switch the device on and off in short intervals. This will considerably reduce the service life of the device.
- If the device has been exposed to drastic temperature fluctuation, do not switch it on immediately. The resulting condensation may destroy the device. Allow the device to reach room temperature before connecting it. Wait until the condensation has evaporated.
- Please use the original packaging to protect the device against vibration, dust and moisture during transportation or storage.
- If a serial number label is affixed to the device, do not remove the label as this would make the warranty void.
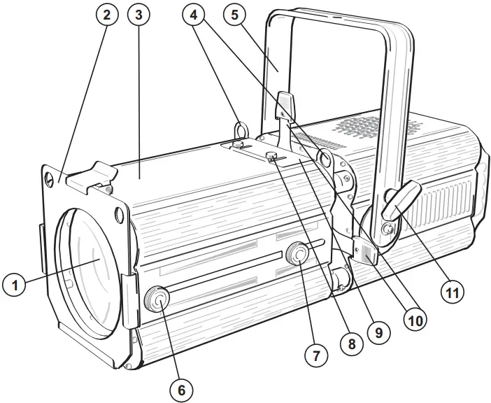
DESCRIPTION OF THE DEVICE

- Lens / LED
- Filter frame
- Housing
- Attachment eyelet
- Mounting bracket
- Zoom fixation screw
- Focus fixation screw
- Knurled screws
- Mounting slot for Iris/Gobo holder
- Profile sliders
- Fixation screw

- LCD with operating buttons
- Insulated handle
- Mains input via P-Con socket
- DMX In
- DMX Out
- Mains output via P-Con socket
INSTALLATION
WARNING! Risk of injury caused by falling objects
Devices in overhead installations may cause severe injuries when crashing down. Make sure that the device is installed securely and cannot fall down. The installation must be carried out by a specialist who is familiar with the hazards and the relevant regulations.
This product is designed for overhead rigging to a wall or ceiling via the mounting bracket. If necessary, it can also be fastened to a truss using an appropriate coupler. The device must never be fixed swinging freely in the room.
- The rigging structure must support at least 10 times the weight of all fixtures to be installed on it.
- Block access below the work area and work from a stable platform when installing the device.
- Use rigging hardware that is compatible with the structure and capable of bearing the weight of the device. Please refer to the “Accessories” section for a list of suitable rigging hardware.
- Secure the device with a safety bond or other secondary attachment. This secondary safety attachment must be sufficiently dimensioned in accordance with the latest industrial safety regulations and constructed in a way that no part of the installation can fall down if the main attachment fails. An appropriate eyelet is mounted on the device for fixation of the safety bond. Fasten the safety bond in such a way that, in the event of a fall, the maximum drop distance of the device will not exceed 20 cm.
- To align the device, release the fixation screws at the mounting bracket, adjust the desired inclination angle and tighten the fixation screws.
- After installation, the device requires inspections periodically to prevent the possibility of corrosion, deformation and looseness

CONNECTIONS
Power Supply
The device uses an auto-range power supply that accepts input voltages between 100 und 240 volts.
- Connect the device via the mains cable to a grounded mains socket. Thus the unit is switched on.
- To switch off the unit, disconnect the power plug.
- Do not connect the unit to the mains voltage via a dimmer. For a more convenient operation, use a mains outlet which is switchable.
- The jack POWER OUT allows for power supply of further devices. To interconnect several devices, connect the jack POWER OUT to the input POWER IN of the next unit until all units are connected. Matching power cables are available as accessories. In this manner, up to 8 devices can be linked at 230/240 input voltage and up to 4 devices at 110/115 input voltage
DMX512 control

A DMX512 data link is required in order to control the device via DMX. The device provides 3-pin XLR connectors for DMX connection.
- Connect the output of your DMX controller to the DMX input DMX IN of the device with a DMX cable.
- Connect the DMX output DMX OUT of the device to the DMX input of the next unit in the chain. Always connect one output to the input of the next unit until all units are connected.
- At the last unit, the DMX cable has to be terminated. Plug the terminator with a 120 Ω resistor between Signal (–) and Signal (+) in the DMX output of the last unit.
- If the cable length exceeds 300 m or the number of DMX devices is greater than 32, it is recommended to insert a DMX level amplifier to ensure proper data transmission.
XLR connection:

- GROUND
- SIGNAL(-)
- SIGNAL(+)

- GROUND
- SIGNAL(-)
- SIGNAL(+)
OPERATION
After connecting the device to the mains it is ready for operation. The display indicates the last operating mode. The operating modes can be selected by means of the display and the control buttons. All settings remain stored even if the device is disconnected from the mains. The device can be operated in stand-alone mode via the control board operating buttons or in DMX-controlled mode via any commercial DMX controller.
Operating buttons
| MODE | Selects the operating mode or returns to the initial screen. |
| ENTER | Activates a value to be modified or saves a value when modifying. |
| UP | Selects the next menu item or increases values when modifying. |
| DOWN | Selects the previous menu item or decreases values when modifying. |
Menu structure
| LCD | Function | |
| DMX512 | 001 – 512 | Setting the DMX starting address |
| Dimmer | 0000 – 4096 | Setting of the total brightness |
| Strobe | 00 – 12 | Setting the strobe speed |
| Temper | Temperature indicator | |
Stand Alone-Mode
Dimmer
Press the MODE button until the display shows “Dimmer”. Press ENTER to confirm. You can now select the desired brightness via the UP or DOWN buttons. You can choose from 4096 levels, with increasing brightness. Press ENTER once again to confirm. Press the MODE button in order to return to the main menu.
Strobe
Press the MODE button until the display shows “Strobe”. Press ENTER to confirm Via the UP or DOWN buttons, you can set the desired strobe speed. You can choose from 13 speeds, with increasing rate. Press ENTER once again to confirm. Press the MODE button in order to return to the main menu.
Temper
Press the MODE button until the display shows “Temper”. Press ENTER to confirm Here you can read out the current internal temperature of the device. During operation, the fan does not rotate if the internal temperature is below 50°C. The fan starts rotating at 57°C. Press the MODE button in order to return to the main menu.
Interconnecting several devices (master/slave operation)
Several devices may be interconnected (max. 32). Then all slave units can be synchronized and controlled with the master unit without the need for a DMX controller. The devices must be set to the corresponding operating modes.
- Configure all slave units before connecting the master unit: Set each Slave device to the same DMX address “001”.
- Connect the DMX output of the master unit to the DMX input of the first slave unit. Then connect the DMX output of the first slave unit to the DMX input of the second slave unit, etc. until all units have been connected in a chain. Make sure the master unit is the first in the chain. Do not connect a DMX controller to the DMX input of the master unit.
- Set the master unit to the desired operating mode, either Dimmer or Strobe. The interconnected devices will now operate synchronously.
Focus
Step 1: Loosen the focus fixation screws on both sides of the device.
Step 2: Adjust the focus by sliding the lens-housing forward or backward.
Step 3: Tighten the focus fixation screws on both sides of the device.
Zoom
Step 1: Loosen the zoom fixation screws on both sides of the device.
Step 2: Adjust the zoom by sliding the lens-housing forward or backward.
Step 3: Tighten the zoom fixation screws on both sides of the device.
Please note: When setting the focus or zoom, always adjust on both sides of the unit. One-sided adjusting could lead to a misalignment in the guide grooves.
DMX operation
Setting the DMX starting address
For operation with a controller with DMX512 protocol, the device is equipped with 3 control channels. To be able to operate the device with a DMX controller, the DMX starting address must be set. The starting address depends upon which DMX controller is being used. Please refer to the controller’s documentation.
- Press the MODE button so many times until DMX512 is indicated in the display. Confirm with the ENTER button.
- Use the buttons UP and DOWN to set the address. Confirm with the ENTER button.
- The display will not flash when DMX signals are being received. If no control signals are available, the display will flash. The display shuts off after 120 seconds of inactivity. With the touch of a button it lights up again.
Note: Please make sure that you do not have any overlapping channels in order to control each device correctly and independently from any other fixture on the DMX chain. If several devices are addressed to the same address, they will work synchronously.
Functions in DMX mode
Channel 1 – Dimmer
| Value: | Function: |
| 001 – 255 | 0 – 100% Increasing brightness |
Channel 2 – Strobe
| Value : | Function: |
| 000 – 009 | No function |
| 010 – 255 | 0 – 100 % Increasing speed |
Channel 3 – Dimmer speed (step response)
| Value: | Function: |
| 000 – 063 | Dimmer speed 1 |
| 064 – 127 | Dimmer speed 2 |
| 128 – 191 | Dimmer speed 3 |
| 192 – 255 | Dimmer speed 4 |
CLEANING AND MAINTENANCE
The outside of the device should be cleaned periodically to remove contaminants such as dust etc. The lenses, in particular, should be clean to ensure that light will be emitted at maximum brightness.
- Disconnect the device from power and allow it to cool before cleaning.
- Clean the surface with a soft lint-free and moistened cloth. Never use alcohol or solvents as these may damage the surface. Make sure that no liquids can enter the device.
- The device must be dry before reapplying power.
There are no serviceable parts inside. Do not open the housing. Do not try to repair the device by yourself as this may result in damage. Maintenance and service operations are only to be carried out by authorized dealers. Should you need any spare parts, please use genuine parts. Should you have further questions, please contact your dealer.
PROTECTING THE ENVIRONMENT
Disposal of old equipment
When to be definitively put out of operation, take the product to a local recycling plant for a disposal which is not harmful to the environment. Devices marked with this symbol must not be disposed of as household waste. Contact your retailer or local authorities for more information. Remove any inserted batteries and dispose of them separately from the product.
You as the end user are required by law (Battery Ordinance) to return all used batteries/ rechargeable batteries. Disposing of them in the household waste is prohibited. You may returnyour used batteries free of charge to collection points in your municipality and anywhere where batteries/rechargeable batteries are sold. By disposing of used devices and batteries correctly, you contribute to the protection of the environment
TECHNICAL SPECIFICATIONS
| Power supply: | 100-240 V AC, 50/60 Hz |
| Power consumption: | 130 W |
| IP classification: | IP20 |
| Protection class: | Class I |
| Power connection: | Mains input P-Con (blue), mounting version Power supply cord with safety plug (provided) |
| Power output: | P-Con (gray), mounting version |
| Lamp type: | LED lamp |
| LED: | 1 x COB (chip-on-board) 200 W warm white (WW) |
| Color temperature: | 3000K |
| Equipment: | Zoom manual; Focus manual |
| DMX channels: | 3 |
| DMX input: | 3-pin XLR (M) mounting version |
| DMX output: | 3-pin XLR (F) mounting version |
| Cooling: | Cooling fan |
| Control: | DMX; stand-alone; Light Captain |
| Beam angle (1/2 peak): | 14 – 41° |
| Color rendering index (CRI) more than: | 95 Ra |
| Housing color: | Black |
| Display type: | LCD |
| Dimensions: | Length: 61.8 cm |
| Width: 33.1 cm | |
| Height: 36.2 cm | |
| Weight: | 10.7 kg |

Accessories
| EUROLITE Iris for LED PFE-100/120 | No. 40001983 |
| EUROLITE Gobo Holder for LED PFE-100/120 | No. 40001984 |
| EUROLITE Filter Frame for LED PFE-100/120 | No. 40001985 |
| EUROLITE STV-20 Follow Spot Stand | No. 59007120 |
| EUROLITE TPC-10 Coupler, silver | No. 59006856 |
| EUROLITE TPC-10 Coupler, black | No. 59006858 |
| EUROLITE Safety Bond A 4x1000mm up to 15kg silver | No. 58010320 |
| EUROLITE Safety Bond A 4x1000mm up to 15kg black | No. 58010344 |
| EUROLITE DMX cable XLR 3pin 3m black | No. 3022785H |
| PSSO DMX cable XLR 3pin 3m black Neutrik | No. 30227810 |
| PSSO PowerCon Connection Cable 3×1.5 1.5m | No. 3023503L |
| ROADINGER Flightcase 2x PFE-100/120 | No. 31005096 |





















