SS12000 Commercial Ozone Generator
Instruction Manual
SS12000 Commercial Ozone Generator
CAUTION: Read this manual carefully for proper care and use.
For your safety, please read the Owner’s Manual in its entirety.
Please read all of the information provided in this owner’s manual before operating your new commercial air purifier.
SERVICE AND WARRANTY
A 3-Year Limited Factory Warranty covers the New Comfort SS12000 commercial air purifier.
The warranty covers the complete unit except for filters or Ozone Plates. New Comfort or its authorized service centers shall pay for all parts and labor for authorized warranty claims. The customer is responsible to pay for all shipping costs associated with the warranty. To receive a warranty claim simply contact your local New Comfort dealer where you bought the unit or send an email to [email protected].
WARNING
This air unit is not a medical device. Do not stop or alter any medical therapy programs or medications without the advice of your physician. Excessive ozone concentrations may cause mucous membrane or respiratory irritation.
![]() | CAUTION | ![]() |
| RISK OF ELECTRICAL SHOCK DO NOT OPEN | ||
| ATTENTION |
Caution: TO REDUCE THE RISK OF ELECTRICAL SHOCK, DO NOT REMOVE COVER. NO USER SERVICEABLE PARTS INSIDE. REFER SERVICING TO QUALIFIED SERVCE PERSONNEL.
This “bolt of lightning” indicates that uninsulated material within your unit may cause an electrical shock. For the safety of everyone, do not remove product covering.
QUICK START
- Make sure the space being treated is unoccupied with No humans, pets, or plants, and close the doors and windows

- Connect the power.
(Voltage: AC110V)
- Press the Power button to turn the unit on.

- Press the Ozone/Timer button to adjust the amount of time and area size to be treated.
Press the Fan button to adjust the fan speed.
- Press the Interval button to treat in intervals of 12 or 24 hours.

- Allow returning to the treated space after stopping working for 40 minutes and Keep ventilation. Leave immediately if you feel uncomfortable.

INTRODUCTION:
Thank you for purchasing the SS12000 Digital Commercial Ozone Generator. This newly designed ozone generator with adjustable timer and automatic shut-off function. 
SPECIFICATIONS:
Model: SS12000
Voltage: AC110V/50-60HZ
Power Consumption: 170W
Ozone Plate size: 3.74×2.75in(2PCS )
Air Volume: Max 180CFM
Ozone Output: 14,000mg/h
UV Light: 245~275nm (2PCS )
Sound Level (DB): 54Db
Product Size: 13×7.4x8in
Cooling method: Air Cooling
Air source: Air
N.W/G.W: 9.25lb/11.46lb
Packing Size: 16x11x11.5in
USAGE:
Make sure the space to be treated is free of people, pets, and plants. Place the unit on top of a sturdy, elevated surface ideally 3-5 feet off the ground. Seal the treatment area to avoid ozone leakage to nearby areas.
CAUTION:
NEVER PLUG UNIT INTO A POWER STRIP. PLUG INTO A WALL OUTLET ONLY
Ozone in high concentrations is a lung irritant.
Ozone generators should only be used in unoccupied spaces, free of people, pets, and plants.
Do not look directly at UV light for prolonged amount of time, may cause eye irritation.
To operate the ozone generator:
- Connect the power adaptor to the unit and an active, grounded power outlet.
- Set the timer according to the area size and time table below.
- The generator will automatically turn off after the timer has finished.
- To choose the Interval function, press once, the unit will work in 12 hour interval; press twice, it will work in 24 hour interval; press three times to cancel the interval work.
- Allow 40 minutes for the space to air out before re-entering the treated space.
- If necessary, ozone treatment can be repeated according to the time table below.
Application Areas and Time Table (100% ozone output)
| APPLICATION AREA | TREATMENT TIME | APPLICATION AREA | TREATMENT TIME |
| 400 ft² | 15 mins | 3,200 ft² | 120 mins |
| 1,200 ft² | 45 mins | 4,000 ft² | 150 mins |
| 1,600 ft² | 60 mins | 4,800 ft² | 180 mins |
| 2,400 | 90 mins | 6,400 ft² | 240 mins |
| ft² |
REMOTE & CONTROL PANEL

APPLICATION:
- Household: used for disinfection and sterilization of living room, kitchen, room, carpet, etc., to remove odor
- New buildings, indoor decoration pollutants: such as formaldehyde, benzene, TVOC, preservatives, etc.
- Internal cleaning, disinfection and sterilization of cars, trains, yachts, etc.
- Air purification and disinfection in hospitals and nursing homes
- Public places: indoor disinfection and air purification of enterprises and institutions, hotels, hotels, restaurants, beauty salons, KTV, mahjong halls, etc.
- Disinfection and sterilization of food workshops, sterile rooms, dressing rooms, warehouses and related utensils.
- Breeding industry: regular disinfection and sterilization of space sites
- Disinfection and sterilization of Warehouse, cold room.
- Others: Any place where the air needs to be disinfected and sterilized, any place that needs to eliminate peculiar smell.
Before use, humans, animals, pets should leave the treated area where machines working, prevent humans or animals go into this area.
To reduce the risk of electric shock, this equipment has a grounding type plug that has a grounding pin.
This plug will only fit into a grounding type power outlet. If the plug does not fit into the outlet, contact qualified personnel to install the proper outlet. Do not alter the plug in any way.
REPLACING THE OZONE CARTRIDGES:
The life of ozone module is more than 6000 hours. After 6000 hours it is recommended to replace the ozone module in order to maintain better performance.
- Unplug the power cord.
- Press and pull out the old ozone module assembly at the bottom.
- Insert the new ozone module assembly and hear a “click” sound, the replacement is complete.

TROUBLE SHOOTING:
If the product fails to start or has other problems, please check as below:
| Problem | Possible reason | Solutions |
| The Unit is not starting. | Power cord is not properly connected. | Check the power cord whether connected properly. |
| Ozone plate module is not fully inserted. | The ozone plate module whether inserted fully. | |
| The Unit is starting but display not light up. | Fuse has burnt out. | Replace the fuse |
| The Unit is starting but only a little ozone. | The unit is not activated the ozone plate is dirty. | Activates the switch replace new or clean the ozone plate |
| The Unit is starting but no ozone. | The ozone plate is consumed activates the wait and delay function. | Replace a new ozone plate Cancel the wait and delay function. |
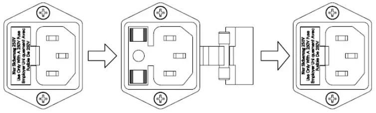
How to replace the Fuse:
Need to replace a new fuse when the previous fuse is breaks.
- Pull out the plastic fuse holder and take out the previous fuse.
- Take out the spare fuse which inside the plastic fuse holder and install it.3.Reinstall the plastic fuse holder back into the power socket.
Please refer to the right picture: 
If the above problems are excluded, the machine cannot be started or used normally, please contact the merchant or customer service staff.
WARRANTY AND SERVICE:
Warranty Service:
New Comfort provides a 1 year warranty for the whole machine and a 3 year warranty for the core components. Please contact an authorized dealer or directly contact the manufacturer. (Calculated from the purchase date of the original purchaser).
The following are not covered by the warranty service:
- The ozone module is not covered by the warranty and must be replaced after a certain period of use.
- The unit cannot work normally due to accidental or intentional damage by the customer.
- Beyond warranty period, there is a problem with the product, which is not covered by the warranty.
Product After-Sales Service:
Please contact an authorized New Comfort distributor.
The New Comfort SS 12000 commercial air purifier is covered by a 3-Year Limited Factory Warranty.
The warranty covers the complete unit except for filters or Ozone Plates. New Comfort or its authorized service centers shall pay for all parts and labor for authorized warranty claims. The customer is responsible to pay for all shipping costs associated with the warranty. To receive a warranty claim simply contact your local New Comfort dealer where you bought the unit or send an email to [email protected].
Note: Non-professionals do not disassemble this unit; otherwise the warranty service during the warranty period will be lost.




























