Polhus P4030/28 MAGNUS Instruction Manual
DRILLING

Rules for drilling holes for screws:
| Drill | Screw |
| 3 | 3,5 |
| 3 | 4,0 |
| 4 | 4,5 |
| 4 | 5,0 |
| 5 | 6,0 |
| 6 | 7,0 |
| 9 | 10,0 |
Tools Requirement
List of tools needed:
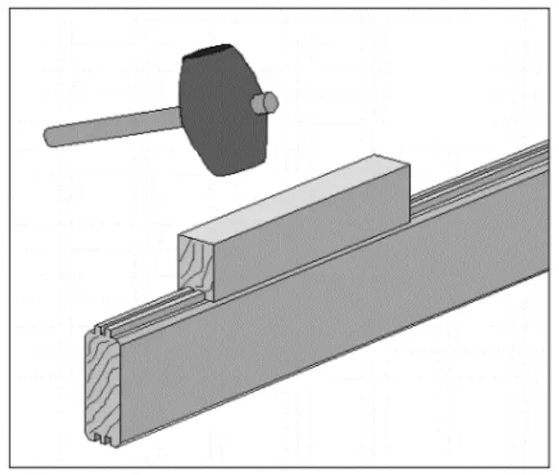
Use the mounting block to knock down the wall boards one by one. Do not tap the boards directly with a hammer, because it will damage the board tongue.
| Pos | Picture | Land | Element | Quantity | Size |
| 1 | ![]() | EN | Frame beam | 2 | 40x60x2480 |
| 2 | ![]() | EN | Frame beam | 2 | 40x60x3360 |
| 3 | ![]() | EN | Batten support frame | 18 | 19x19x370 |
| 4 | ![]() | EN | Corner assembly post Rear | 2 | |
| 5 | ![]() | EN | Corner assembly post – Front | 2 | 40x40x2200 |
| 6 | ![]() | EN | Wallelement: side | 16 | 28x121x2500 |
| 7 | ![]() | EN | Wallelement: side | 16 | 28x121x1715 |
| 8 | ![]() | EN | Wallelement: side | 17 | 28x121x151 |
| 9 | ![]() | EN | Wallelement: side | 2 | 28x61x2500 |
| 10 | ![]() | EN | Wallelement: back | 1 | 28x61x3444 |
| 11 | ![]() | EN | Wallelements – Front | 1 | 28x61x1573 |
| 12 | ![]() | EN | Wallelements – Front | 1 | 28x61x498 |
| 13 | ![]() | EN | Wallelement: back, | 16 | 28x121x3444 |
| 14 | ![]() | EN | Wallelement: back,front, | 12 | 28x113x540 |
| 15 | ![]() | EN | Wallelements – Front | 17 | 28x121x498 |
| 16 | ![]() | EN | Wallelements – Front | 17 | KARMNIK 1: A: 28x121x1573 KARMNIK 2: B: 28x121x712 C: 28x121x226 |
| 17 | ![]() | EN | Wallelements – Front | 1 | 28x121x3444 |
| 18 | ![]() | EN | Rear gabble wa | 1 | 28x339x2500 |
| 19 | ![]() | EN | Rear gabble wall | 1 | 28x339x2500 |
| 20 | ![]() | EN | Vertical door frame | 2 | 46x80x2058 |
| 21 | ![]() | EN | Horizontal pegged door frame | 2 | 46x80x1297 |
| 22 | ![]() | EN | Door L, R | 2 | 664×1960 |
| 23 | ![]() | EN | Permanently glazed windows | 1 | KARMNIK 1: 664×1960 KARMNIK 2: 664×1960 |
| 2 | |||||
| 24 A | ![]() | EN | Door filler slat – vertical | 2 | 19x70x2052 |
| 24 B | ![]() | EN | Door filler slat – horizontal | 2 | 19x70x1300 |
| 24 | ![]() | EN | The strip filling the site – vertical | 2 | KARMNIK 1: 19x70x1960 KARMNIK 2: 19x70x1960 |
| 4 | |||||
| 25 | ![]() | EN | N The strip filling the site – horizontal | 2 | KARMNIK 1: 19x70x520 KARMNIK 2: 19X70X520 |
| 4 | |||||
| 26 | ![]() | EN | External corner strips | 2 | 19x96x2200 |
| 27 | ![]() | EB | External corner strips | 2 | 19x96x1974 |
| 28 | ![]() | EN | External corner strips | 2 | 19x70x2200 |
| 29 | ![]() | EN | External corner strips | 2 | 19x70x1974 |
| 30 | ![]() | EN | Fascia blocks | 6 | 40x110x260 |
| 31 | ![]() | EN | Ridges | 5 | 40x110x3030 |
| 32 | ![]() | EN | N Roof top finishing: front / bac | 2 | 19x146x3032 |
| 33 | ![]() | EN | Side roof finishing | 2 | 19x146x3032 |
| 34 | ![]() | EN | Roof element strips | 68 | 16x96x2010 |
| 35 | EN | Door hinge pin | 6 | ||
| 36 | ![]() | EN | Door handle (assembly instruction included) | 1 | 19x146x2029 |
| 37 | ![]() | EN | Lock cylinde | 1 | |
| 38 | ![]() | EN | Latch | 2 | |
| 39 | ![]() | EN | Sheeting | 20mb | |
| 40 | ![]() | EN | Screw | 70 | 3,5×40 |
| 41 | EN | Screw | 360 | 3,5×50 | |
| 42 | EN | Screw | 20 | 4×60 | |
| 43 | ![]() | EN | Screw | 50 | 4,5×70 |
| 44 | ![]() | EN | Roofing nails | 100 | |
| 45 | ![]() | EN | Nails | 150 | 2 |
| Pos | Picture | Land | Element | Quantity | Size |
| 1 | ![]() | EN | Frame beam | 5 | 40x60x2360 |
| 2 | ![]() | EN | The floor board | 28 | 16x96x3440 |
| 3 | EN | Nails | 400 |



right side
left side
Rear
front – Feeder
front – Feeder







































































