| PB | PasswordBluetooth |
| 1.Parameters | 3.Operating Area | Screw hole ti tighten | |||
| after insert into | |||||
| Brand | WE.LOCK | the door | |||
| Applicable place | Security door, | Main entrance, | lnside | ||
| Wooden door, | Glass door | handle | Cam | ||
| Applicable door thickness | 55~105MM | Adjustment | |||
| Work temperature | -25℃ – 60℃ | location pits | |||
| Pressing cycle times | 100 thousand times | Battery case | |||
| Zinc Alloy | |||||
| Knob material | Screw hole to | ||||
| adjustment | |||||
| Unlock way | Password unlock Bluetooth unlock | Outside | location pit | ||
| Handle case | |||||
| Battery Type | AAA battery*6 | handle | |||
| screw hole | |||||
| Power input | 3.6V – 4.8V | Wake up | Password | ||
| Return | Button | keyboard | |||
| Battery replacement | Replaceable | key | Screw hole of | ||
| Body color | Silver (Hairline) | handle case | |||
| Zinc Alloy | |||||
| 1 year | handle housing | ||||
| Battery life | |||||

5.Outside knob setting

Please DO keep in mind your admin password,otherwise need to return lock to the factory.
3).Second step:enter the settings menu;
Press
on the keyboard,input “
+Admin password+
”entersetting menu, select the function by (0–6) and start setting up.
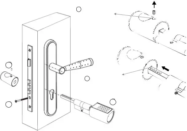
2.Parts List:

4.Installation picture

1 Remove the screws
settings menu
| Digital key | Function | Operation | Remarks |
| 1. Open mute mode display red light | Mute mode, when a password | ||
| is entered, the music and the | |||
| Press 0 | Quiet mode | 2. Cancel mute mode : Input “ + | sound of the button will be |
| Admin password + ” +0, display | shielded (Note: except when | ||
| the power is not enough to |
![]()
![]()
| Name | Quantity | Image |
| We-lock L6PB | 1 | |
| Hexagon | 1 | |
| screwdriver | ||
Instructions 1
Remarks: Scan the QR code stuck on battery box cover or packaging box flap to bind the lock cylinder to your smart phone app.
DO NOT THROW!
4
5
- Remove the handle screw.
![]()
- Remove the handle.
![]()
- the lock cylinder is loaded from the lock hole outside the door.
2 Remove the handle
3
![]()
- After the handle installed.
![]()
- loaded cylinder fixing screw.

| blue light. | alarm and enter the set state). | ||||
| Press 1 | User password | Input “New password + | + New | Normal users 9 | |
| registration | password + | ” | |||
| Press 2 | User password | Input user password+ | Clear all the passwords and | ||
| deletion | restore to the sound mode. | ||||
| Press 3 Empty the system | Press to confirm to restore the | Replace the old Admin | |||
| original stat | password. | ||||
| Press 4 | Modify the admin | Input “New password + | + New | ||
| password | password + | ” | |||
| Press 5 | Setting unlock | Input 0-9 | Unlock time is the inputted digital | ||
| + 5 seconds. Eg, the time will be | |||||
| time | 14 seconds by inputting 9. | ||||
| Default to open Bluetooth, enter the first | |||||
| Press 6 | BT Switch | time is to close Bluetooth, light red flash, | |||
| enter the second time is to open Bluetooth, | |||||
| blue light flash. | |||||
| Operation Method: Press wake-up | The channel mode holds the | ||||
| Channel Mode | key, enter password+ , before lock | ||||
| again Press wake-up key, entpassword | constant open state for the | ||||
| + Cancel: Press wake-up key, | door unlocked. | ||||
| entpassword + | |||||
![]()
![]()
![]()
![]()
![]()
![]()
![]()
![]()
![]()
4).Low battery alarm: Red light on to alarm when Power less than 20%,pls change batteries
- . 5 times incorrect input password or scan non-registered cards, keyboard flasshes
5 times,the system is locked for 3 minutes.Pls clear error data by one tiime correct password input orcard scan unlocked in put.
Password & Bluetooth Smart Door Lock Cylinder
| PB | PasswordBluetooth |
6.Download app by scan below QR code

7.APP Operation
1).Sign in 2).log in

3). Binding lock cylinder:
Login into the app,prompt to turn on the phone biuetooth.then follow picture 1 Click to
to enter picture 2,then click the upper right corner icon to can to bind lock to app.lf cannot scan due to some unknown reason,please click the hand icon in picture 3 to manually input the numbers on QR code.
Binding to get management authority level.

4). Connect the lock core
Scan QR code to bind the lock cylinder on app,then lick the lock to connect bluetooth;(lf you don’t unlck after connection,the bluetooth disconnects in 3 minuter automatically).

Front Back

Can be connected

5).Unlock
After connecting click
to unlock.(After 7 seconds unlock by Bluetooth, it will automatically disconnect,please re-connect Bluetooth to unlock again)

6). Revise the communication password
The original communication password is 12345678.Please be reminded to revise the password at the prompt in struction.After setting the lock admin password,you cannot unlock until revise the APP communication admin password.

Connected

Not
connected

Password & Bluetooth Smart Door Lock Cylinder
| PB | PasswordBluetooth |
![]()
Revise Method: Click after connection,the enter
, click on the related setting area of lock,enter the password to verify if you revise the password successfully or not.

8). Unbind cylinder (admin rights)
![]()
![]()
10).Help center
![]()
Click to enter Personal center; Then click and to choose the cylinder you want to delete; Click “confirm delete”.


Click HELP, to enter Manual/ Installation video/Operation cases.
Verification:in put admin password to confirm.
7 ). Transfer Permission: 9). Add User Permiasion
Admin level right can be transferred to other persons, Click
Click
to enter Personal center; Then click
to choose the cylinder
to select the lock name ,Click “Next” to input the phone number, you want to authorize; Click “Next” and enter user’s account phone number,
then input ” admin login password”, click OK to transfer. permission level, period and unlock times . Then click complete.


8.FAQ
Question How about this lock? Is it perfect same as your advertisement?
Is it safe with simple installation?
Answer:Provides a safe and convenient environment,3 minutes installation, no need to replace the door or the panel only change lock cylinder.
Question After change the lock cylinder, if the rotary knob back of the door still can double lock?
Answer Yes, there is no affection for the original lock’s other function.
Question Which kind of battery is more durable?
Answer The lock need to be putted in 6pcs AAA battery, and it is better to use more high quality batteries.
Question There is many different houses, if we install the lock cylinder in each house, could we open all the door by the same App account? Answer Yes, we could open all the lock with the same APP account, please remember to remark the different name for each lock.
Question: If there is no power on outside lock, how could we do? Answer:1.There is the reserve system on back handle(You could open the lock from back handle by bluetooth, the battery life of back handle is double than front handle. ), you just need to open your mobile to open the door.
- Or you could replace the new batteries directly for the front handle outside of the door.
Password & Bluetooth Smart Door Lock Cylinder

![]()



WELOCK PB User Manual – Download [optimized]
WELOCK PB User Manual – Download
WE.LOCK
WE.LOCK
WE.LOCK



















