INLIGHT 2922 In light Ceiling Light
Thank you for selecting this product. It has been thoughtfully designed and carefully manufactured to ensure a high level of reliability and performance.
We strongly recommend that ceiling are installed by a qualified electrician. If, however, you decide to carry out your own installation, please read through these instructions carefully before commencing work, and retain them for future reference.
Please note, the important safeguards and instructions appearing in this leaflet are not meant to cover all possible conditions and situations that may occur. It must be understood that common sense, caution and care are factors that cannot be built into any product and must be supplied by the person installing and caring for the fitting.
Changes to Building Regulations
As of 1 January 2005, changes to the Building Regulations affect domestic electrical installations in England and Wales. You don’t need to be a qualified electrician to make changes to your home’s electrical system, but the work must be done in accordance with the standards in the Regulations.
You do not need to notify your Local Authority if you do minor electrical work such as:-
- replacing or repairing a socket, light or cable in any room
- adding extra spurs, sockets or lights to an existing circuit (except in a kitchen, bathroom or outdoors)
However, the work must be done to the standards in the Wiring Regulations and you should consider having the work checked by a competent electrician to make sure it is safe.
Before you start other electrical work such as:- - adding new circuits to your existing installation
- any work (other than repairs/replacements) in a room where there is water (eg. kitchen, bathroom, etc.)
- any work (other than repairs/replacements) outdoors (eg. installing garden lighting or sockets, etc.)
You must notify your Local Authority Building Control Department, which has responsibility for ensuring the work is inspected and tested.
Where you have any work done by an electrician who is a member of a competent person self-certification scheme, the electrician will be able to certify the work complies with the Regulations and you do not need to notify your Local Authority: We recommend that you make yourself aware of the Regulations before you undertake any work and if you require any clarification you should contact your Local Authority Building Control Department.
Important Safety Information
All ceiling fittings should be connected via a 5 amp fused circuit and must be installed in accordance with current applicable building and electrical installation regulations.
Before installation and servicing, disconnect the electrical supply at the mains.
Carefully observe all instructions or warnings that are labelled on, or supplied with, your product.
Unless otherwise stated, products are suitable for normal indoor use only and should not be used where water or high humidity may affect them.
If in any doubt, consult a qualified electrician.
General Information
Do not mount ceiling/wall fittings onto damp surfaces such as newly painted or plastered areas as this may cause discolouration of the finish.
Ceiling cup with hanging loop
- Taking care not to damage any house wiring, affix the mounting strap to the ceiling using the screws supplied. These screws should penetrate the joist by at least 2cm.
- Loosen the screw (6) and lower the ceiling cup. Then offer the loop up to the bracket and secure in place using the loop retaining screw (4).
Using the connector block supplied, connect the wires as shown on the diagram opposite. Check that you have correctly identified the house wires, that all connections are tight and that no loose strands have been left out of the connection blocks. - Raise the ceiling cup to cover the bracket and tighten the screw

Wiring ceiling fittings
For Earthed items (Class 1): These are marked with the symbol
Selecting the correct lightbulb
Identify the correct maximum wattage and type of bulb by referring to the product labelling.
caution: only use a bulb of the same type designation and shape, and of the same or lower Wattage. Low Energy bulbs can be used where available
Allow the lamp to cool for at least 10 minutes before replacing spent bulbs.
Shade attachment
Product may vary from the diagrams shown above
Switch on: You may now switch the electricity back on at the mains.
Cleaning care: The fitting should be cleaned with a soft, dry cloth only. Do not use polishes or abrasive cloths.
Safety information: For your safety, please remember the following: Always switch off the supply before removing shades/covers, changing lightbulbs or cleaning.
Tools which may be required:
- Drill
- Cross Head Screwdriver
- Small Electrical Slotted Screwdriver
- Insulation Tape
Assembling Ceiling Fittings
Some products may require assembly prior to connecting to the household mains supply. Ceiling fittings may require the centre column to be attached and/or the arms to be opened out.
Fixing instructions for ceiling fittings
All ceiling fittings and wall lights must be connected to the supply earth. If your lighting circuit does not have an earth, ask a qualified electrician to provide an earth facility.
Make sure that there is a joist or other solid mounting at the point of fixing. This is necessary to take the weight of the fitting.
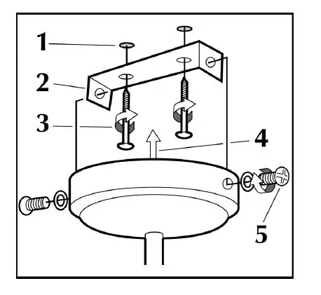
Ceiling cup with strap
- Taking care not to damage any house wiring, detach the mounting strap from the fitting and affix to the ceiling using the screws supplied. These screws should penetrate the joist by at least 2cm. Using the connector block supplied, connect the wires as shown on the diagram opposite. Check that you have correctly identified the house wires, that all connections are tight and that no loose strands have been left out of the connection blocks.
- 4-5 Offer the ceiling cup up to the mounting strap and secure in place using the screws/washers.
HELPLINE:
If you receive this item with parts broken or missing, please telephone: 0333 0050077
Please have ready your name, address, tel. no., product reference, where purchased and parts required. An answering service is in operation outside office hours and during busy periods. We regret that we are unable to give advice on internal house wiring Cascade Holdings Ltd, Gorse Mill, Gorse Street, Chadderton, Oldham. OL9 9RJ EU Authorised Representative: Authorised Rep Compliance,Ground Floor, 71 Lower Baggot Street, Dublin, Ireland, D02P593.
INLIGHT 2922 In light Ceiling Light





















