
Operating instructions
RSL wireless switch with voltage detection
Item no. 1553978
Latest operating instructions
Download the latest operating instructions via the link www.conrad.com/downloads or scan the QR code shown. Follow the instructions on the website.

http://www.conrad.com/downloads
Explanation of symbols
The lightning symbol inside a triangle is used when there is a potential risk of personal injuries, such as electric shock.
An exclamation mark in a triangle indicates important instructions in this operating manual that absolutely have to be observed.
The arrow symbol indicates specific tips and advice on operation.
This product must only be used in dry, enclosed indoor areas. It must not become damp or wet, as this may result in a fatal electric shock!
Delivery content
- RSL wireless switch
- Operating instructions
Intended use
This product is designed to turn a compatible receiver (e.g a radio-controlled mains socket, mains switch, or wall switch) on and off wirelessly. It connects to a standard insulated electric cable and sends a signal to an RSL receiver when a voltage is detected/lost. It is powered by a 3 V CR2477 lithium battery.
This product is intended for indoor use only. Do not use it outdoors. Contact with moisture (e.g. in bathrooms) must be avoided under all circumstances.
For safety and approval purposes, you must not rebuild and/or modify this product. Using the product for purposes other than those described above may damage the product. In addition, improper use can cause hazards such as a short circuit, fire or electric shock. Read the instructions carefully and store them in a safe place. Make this product available to third parties only together with its operating instructions.
This product complies with statutory national and European regulations. All company names and product names are trademarks of their respective owners. All rights reserved.
Safety instructions
Read the operating instructions carefully and especially observe the safety information.
If you do not follow the safety instructions and information on proper handling in this manual, we assume no liability for any resulting personal injury or damage to property. Such cases will invalidate the warranty/guarantee.
a) General
- The device is not a toy. Keep it out of the reach of children and pets.
- Do not leave packaging material lying around carelessly. This may become dangerous playing material for children.
- Protect the product from extreme temperatures, direct sunlight, strong jolts, high humidity, moisture, flammable gases, vapors, and solvents.
- Do not place the product under any mechanical stress.
- If it is no longer possible to operate the product safely, take it out of operation and protect it from any accidental use. The safe operation can no longer be guaranteed if the product:
– is visibly damaged,
– is no longer working properly,
– has been stored for extended periods in poor ambient conditions or
– has been subjected to any serious transport-related stresses. - Please handle the product carefully. Jolts, impacts, or a fall even from a low height can damage the product.
- Also, observe the safety and operating instructions of any other devices which are connected to the product.
- Do not cover the transmitter (e.g. with a curtain), as this may cause it to overheat.
- Do not use the transmitter with a timer, a separate remote control, or other devices that turn the product on automatically. Covering or incorrectly mounting the product constitutes a fire hazard.
- Never pour any liquids over electrical devices or place objects filled with liquid next to the product. If liquid or an object does enter the interior of the device, power down the respective socket (e.g. switch off the circuit breaker), and then remove the mains plug from the mains socket. Discontinue use and take the product to a specialist repair center.
- Never use the product immediately after it has been brought from a cold room into a warm one. The condensation generated may destroy the product. Allow the product to reach room temperature before connecting it and putting it to use. This may take several hours.
- Do not use the product next to a bathtub, shower, or swimming pool.
- Do not place the product directly underneath a wall-mounted mains socket.
- Consult an expert when in doubt about the operation, safety, or connection of the device.
- Maintenance, modifications, and repairs are to be performed exclusively by an expert or at a qualified shop.
- If you have questions that remain unanswered by these operating instructions, contact our technical support service or other technical personnel.
b) Batteries
- Correct polarity must be observed while inserting the battery.
- The battery should be removed from the device if it is not used for a long period of time to avoid damage through leaking. Leaking or damaged batteries might cause acid burns when in contact with skin, therefore use suitable protective gloves to handle corrupted batteries.
- Batteries must be kept out of reach of children. Do not leave batteries lying around, as there is a risk, that children or pets swallow them.
- Batteries must not be dismantled, short-circuited, or thrown into the fire. Never recharge non-rechargeable batteries. There is a risk of explosion!
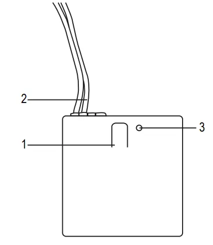
Operating elements

- Function button
- Connecting wires for magnet
- LED indicator (1 channel)
Transmission range
The wireless transmitter has a range of up to 70 m in open spaces with no obstructions. In practice, however, there may be walls, ceilings, or other objects between the transmitter and the receiver, which will reduce the range accordingly. Different objects have a different impact on the range, therefore no specific range can be guaranteed. However, the range should be sufficient for use in a detached house.
The range can be considerably reduced by:
- Walls and reinforced concrete ceilings
- Coated / double-glazed windows
- Proximity to metal and conducting objects (e.g. radiators)
- Proximity to people
- Broadband interference (e.g. cordless telephones, mobile phones, wireless headphones and speakers, radio-controlled weather stations, and baby monitors)
- Proximity to electric motors, transformers, power-supply units, and computers
- Proximity to poorly shielded or uncovered computers or other electrical appliances
Connection and installation

- Choose a clean, dry location in which to install the transmitter.
- Connect the wireless transmitter to the switch’s electric cable (see diagram).
Never attach the magnetic ring to an uninsulated cable or a cable with damaged insulation.
- Take appropriate measures to secure the transmitter in place (e.g. with adhesive tape or a flush-mounted box).
- You can use the wireless switch to control an RSL wireless switch (e.g. Conrad item no. 640303). The switch will turn on when a voltage is detected in the connected cable and switch off when the voltage is lost.
Operation
a) Programming a receiver
Ensure that no other transmitters or sources of interference are sending signals when you are programming the receiver, otherwise, the receiver may not program properly.
You can add an unlimited number of receivers to each channel.
Proceed as follows:
- Press the function button (1) to select the channel. The blue LED indicates the selected channel.
- Place the receiver that you want to program in programming mode. Programming mode should be enabled for approximately 15 seconds, although this may vary between devices. Refer to the device’s operating instructions for details.
- After enabling programming mode on the receiver, hold down the function button (1) on the transmitter until the LED indicator (3) starts to flash quickly. This indicates that programming mode is enabled on the receiver. The transmitter sends a signal to the receiver when you hold down the function button (1).
- Keep holding down the function button until the device connected to the switch turns on. If the receiver fails to add the transmitter, release the function button to exit programming mode.
- Programming mode will be disabled automatically when the receiver has added the transmitter.
- Repeat these steps in the same order to program other receivers.
b) Function test and normal operation
- Once you have programmed the receiver, use it in accordance with
its operating instructions. If the device connected to the receiver turns on when you press the switch, this indicates that the switch system is functioning correctly. - The transmitter detects the presence of a voltage in the connected cable.
- When a voltage is detected, the transmitter sends a power-on signal to the receiver. When the voltage is lost, the transmitter sends a power-off signal.
- The device connected to the receiver turns on or off accordingly.
c) Deleting preprogrammed transmitters
- If you do not want a receiver to respond to the transmitter (e.g. if you want to use the channel for another RSL transmitter), you can delete the transmitter accordingly. Refer to the receiver’s operating instructions for details.
- Repeat the same steps to delete the transmitter from other receivers.
- You do not need to change the settings on the transmitter. After deleting the transmitter, you can program other receivers as normal.
d) Changing the battery
Replace the battery when the transmitter stops working or when you notice a significant drop in the range. Replace the battery with a new one of the same type (CR2477). To change the battery, proceed as follows:
- Carefully push the two halves of the casing apart with your fingernails or a flat screwdriver.
- The two halves of the casing are held together by small tabs. At least two of the three tabs must be pressed in order to open the casing. Be careful not to break the tabs when opening the casing.
- Remove the used battery.
- Insert a CR2477 battery in the correct polarity. The positive pole (+) must be placed on the round hole on the lid.
- Place the two halves of the casing onto the circuit board contacts (with the battery in the battery compartment) and carefully press them together until the tabs click into place.
- Ensure that all of the cables protruding from the transmitter are placed in the correct inlets and are not squashed.
Care and cleaning
- The product is maintenance-free (apart from changing the battery). Never attempt to disassemble the product. Repair and maintenance work must be done by a technician.
- Always disconnect the product from the power supply before cleaning it.
- Never use aggressive detergents, rubbing alcohol, or other chemical solutions, as these may damage the casing or cause the product to malfunction.
- Use a dry, lint-free cloth to clean the product.
Declaration of Conformity (DOC)
Conrad Electronic SE, Klaus-Conrad-Straße 1, D-92240 Hirschau hereby declares that this product conforms to the 2014/53/EU directive.
Click on the following link to read the full text of the EU declaration of conformity: www.conrad.com/downloads
Select a language by clicking on a flag symbol and entering the product order number in the search box. You can then download the EU declaration of conformity in PDF format.
Disposal
a) Product
Electronic devices are recyclable waste and must not be disposed of in the household waste. At the end of its service life, dispose of the product according to the relevant statutory regulations.
Remove any inserted batteries and dispose of them separately from the product.
b) Batteries
You as the end-user are required by law (Battery Ordinance) to return all used batteries. Disposing of them in household waste is prohibited.
Contaminated batteries are labeled with this symbol to indicate that disposal of domestic waste is forbidden. The designations for the heavy metals involved are Cd = Cadmium, Hg = Mercury, Pb = Lead (name on batteries, e.g. below the trash icon on the left).
Used batteries can be returned to collection points in your municipality, our stores, or wherever batteries are sold.
You thus fulfill your statutory obligations and contribute to the protection of the environment.
Technical data
Battery ………………………………. CR2477
Battery life ………………………….. At least 3 years
Transmission frequency……….. 433.92 MHz
Transmission power…………….. Less than 10 dBm
Wireless range ……………………. Approx. 70 m (with no obstructions)
Operating/storage conditions … 0 to +45 °C, 0–95 % relative humidity
(non-condensing)
Dimensions (W x H x D) ………. 41 x 41 x 15 mm
Weight ………………………………. 27 g
This is a publication by Conrad Electronic SE, Klaus-Conrad-Str. 1, D-92240 Hirschau (www.conrad.com).
All rights including translation reserved. Reproduction by any method, e.g. photocopy, microfilming, or the capture in electronic data processing systems requires prior written approval by the editor. Reprinting, also in part, is prohibited. This publication represents the technical status at the time of printing.
Copyright 2018 by Conrad Electronic SE. *1553978_V2_1018_02_mxs_m_en

















