A PROUD HERITAGE OF EXPERIENCE & QUALITY


MICROWAVE OVEN
EM262AMY-PHB (BR-MW BI22-S)
TRIM KIT INSTALLATION MANUAL
Built-In Trim Kit Models 405.22303310(BR-MW BI22-S)
MICROWAVE OVEN BUILT-IN TRIM
KIT INSTALLATION INSTRUCTIONS
UL listed for use over any electric or gas built-in oven, up to 30″ (76.2 cm) wide
MICROWAVE OVEN SAFETY
Your safety and the safety of others are very important.
We have provided many important safety messages in this manual and on your appliance. Always read and obey all safety messages.
This is the safety alert symbol.
This symbol alerts you to potential hazards that can kill or hurt you and others.
All safety messages will follow the safety alert symbol and either the word “DANGER” or “WARNING.”
These words mean:
DANGER You can be killed or seriously injured if you don’t immediately follow instructions.
WARNING You can be killed or seriously injured if you don’t follow instructions.
All safety messages will tell you what the potential hazard is, tell you how to reduce the chance of injury, and tell you what can happen if the instructions are not followed.
INSTALLATION INSTRUCTIONS
Tools and Parts
Tools Needed
Gather the required tools and parts before starting installation.
Read and follow the instructions provided with any tools listed here.
- Measuring tape
- Pencil
- Phillips screwdriver
- Drill
- 7/64″ drill bit
Parts Supplied (not shown to scale)

Location Requirements
The microwave oven may be installed over a built-in oven. If installing over a built-in oven, make sure there is a minimum of 3″ (7.6 cm) between the top of the lower oven cutout and the microwave oven cutout floor.
The microwave oven may also be installed in a cabinet by itself (without a built-in oven below). For best usability, we recommend a minimum distance of 36″ (91.4 cm) from the floor to the cutout floor.
Make sure the surrounding cabinetry has clearance to open and close freely. Allow a clearance of at least 1⁹⁄₁₆” (4.0 cm) below the cutout floor (3″ [7.6 cm] for installation above a built-in oven), and a clearance of at least 2″ (5.1 cm) above the cutout opening.

Required Cutout Dimensions

A. Trim kit frame overhang
B. Cutout for the lower oven
NOTES:
- Height dimension is critical: 17″ (43.2 cm) minimum, 17¹⁄₈” (43.5 cm) maximum.
- Width and depth measurements have ±1/16″ (2 mm) tolerance.
- 3″ (7.6 cm) minimum dimension is from lower oven cutout ceiling to microwave oven cutout floor.
- The Trim kit frame extends 1¹⁄₁₆” (2.7 cm) above and below the cutout opening.
Trim Kit Frame Dimensions

**30″ (76.2 cm) trim kit
Electrical Requirements
|
![]() |
| Electrical Shock Hazard Plug into a grounded 3 prong outlet. Do not remove the ground prong. Do not use an adapter. Do not use an extension cord. Failure to follow these instructions can result in death, fire, or electrical shock. |
Observe all governing codes and ordinances.
Required:
- A 120 volt, 60 Hz, AC only, 15- or 20-amp electrical supply with a fuse or circuit breaker.
Recommended:
- A time-delay fuse or time-delay circuit breaker.
- A separate circuit serving only this microwave oven.
GROUNDING INSTRUCTIONS
- For all cord-connected appliances:
The microwave oven must be grounded. In the event of an electrical short circuit, grounding reduces the risk of electric shock by providing an escape wire for the electric current. The microwave oven is equipped with a cord having a grounding wire with a grounding plug. The plug must be plugged into an outlet that is properly installed and grounded.
WARNING: Improper use of the grounding plug can result in a risk of electric shock. Consult a qualified electrician or serviceman if the grounding instructions are not completely understood, or if doubt exists as to whether the microwave oven is properly grounded.
Do not use an extension cord. If the power supply cord is too short, have a qualified electrician or serviceman install an outlet near the microwave oven.
SAVE THESE INSTRUCTIONS
Prepare Microwave Oven
- Unplug the microwave oven before proceeding with the installation.
- Remove any loose items inside the microwave oven.
- Gently turn the microwave oven onto its top, with the door facing forward (toward installer).
- Align the #33 holes on the microwave oven bottom with the #33 holes on the rails, as shown, making sure the flanges are forward and pointing up.

- Secure the rails to the microwave oven bottom using four short screws through the #33 hole sets.
Prepare Cutout/Cabinet Opening
- On the cutout floor, find and mark the centerline.
- Place the bottom duct in the opening, with the flange resting against the bottom front-facing of the opening.
A. Cutout floor
B. Centerline
C. Bottom duct
D. Bottom duct flange
E. Front-facing - Align the center arrows on the bottom duct with the centerline drawn in Step 1 above.
A. Bottom duct
B. Center arrows, aligned with the centerline - Mark the three mounting holes through the bottom duct onto the cutout floor.
A. Short screws (3)
B. Bottom duct mounting holes - Using 7/64″ drill, drill pilot holes into the three holes marked in Step 4.
- Realign and install the bottom duct with three short screws.
- Using 7/64″ drill, drill pilot holes through the four mounting holes of the bottom duct flange into the bottom front-facing of the cutout/cabinet opening.
A. Bottom duct flange
B. Mounting holes
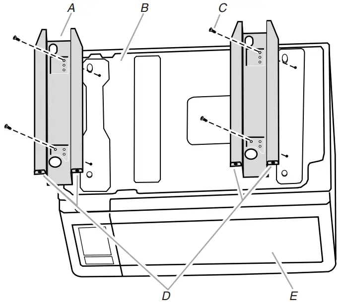
Install the Microwave Oven
- Gently return the microwave oven to its upright position.
- Position microwave oven near cutout opening.
WARNING
Electrical Shock Hazard
Plug into a grounded 3 prong outlet.
Do not remove the ground prong.
Do not use an adapter.
Do not use an extension cord.
Failure to follow these instructions can result in death, fire, or electrical shock. - Plug in a microwave oven.
- Align the rails with the rail guides on the bottom duct.
A. Rail guides
B. Rails - Slide the microwave oven back and into place. The mounting holes of the rail flanges and bottom duct flange will align against the bottom front-facing of the cutout/cabinet opening.
- Secure the microwave oven to the cutout/cabinet by installing four short screws into the mounting holes.
A. Mounting holes
B. Short screws (4)
Install Trim Kit Frame
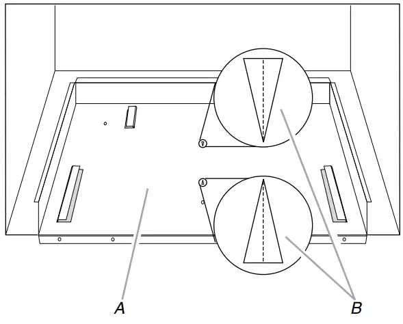
- Position the trim kit frame over the opening so that the lower tabs rest on the cutout floor, as shown.
A. Front of trim kit frame
B. Tabs (upper and lower)
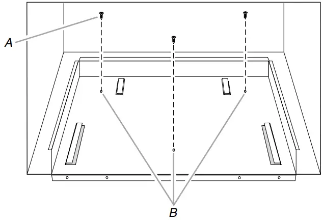
C. Cutout/cabinet floor - Holding the trim kit frame in place, use a 7/64″ drill to drill four pilot holes into the front-facing of the cutout/cabinet through the mounting hole guides in the upper and lower corners of the trim kit frame.
NOTES:
• The holes will be drilled down from the top, and upward from the bottom at an angle of about 45°.
• To avoid damage to the trim kit frame, do not overtighten screws.
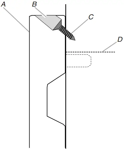
A. Trim kit frame
B. Mounting hole guide
C. Long wood screw (4 – painted)
D. Cutout ceiling - Secure trim kit frame to cutout/cabinet by installing four long wood screws (painted) into the pilot holes drilled in Step 2 above.
Installation is now complete. Replace any loose items that have been removed from the microwave oven cavity.
Save these Installation Instructions for future reference.
SERVICE & IMPORTANT NOTICE
Upon receipt and inspection of the unit, the supply cord must be replaced if it is damaged. Contact our customer service at 1-800-777-8466 or [email protected].
The manufacturer has a policy of continuous improvement on its products and reserves the right to change materials and specifications without notice.
WARNING: Please do not place the unit within reach of children. For adult use only
Contact [email protected] with any questions or visit www.vinotemp.com

Add a New Leaf extended warranty to your order, and have the security of knowing that if there should be a problem, even years in the future, New Leaf will be there to assist! Usable for any Wine Cellar or other electronic device manufactured by Vinotemp. Add this warranty to purchases made from vinotemp.com or other qualified venders. Warranty must be registered within the first 10 days from the original purchase.
Visit www.Vinotemp.com to purchase.

732 S. Racetrack Road
Henderson, NV 89015
www.vinotemp.com
Vinotemp is a registered trademark of Vinotemp International. All products, features, and services are subject to change without notice. We cannot guarantee the accuracy of the contents of this document. We disclaim liability for errors, omissions, or future changes.
© 2021 Vinotemp International. All rights reserved.


A. Cutout floor
A. Bottom duct
A. Short screws (3)
A. Bottom duct flange
A. Rail guides
A. Mounting holes
A. Front of trim kit frame
A. Trim kit frame
Installation is now complete. Replace any loose items that have been removed from the microwave oven cavity.


















