SKID STEER
GRAPPLE BUCKET
BE-SSGBXXXX
User Manual
| PURCHASE DATE | MODEL NO. | SERIAL NUMBER |
FOR MODELS:
• BE-SSGB2242
• BE-SSGB2254
• BE-SSGB60
• BE-SSGB72
• BE-SSGB84
TO THE OWNER
Please read this manual “before” unpacking or using this implement for the first time.
This manual provides you with the necessary instructions to safely install and use your purchase.
Do not let other people use this attachment without first being instructed how to safely use it.
SAFETY INSTRUCTIONS
WARNING
For safe operation, read these rules and instructions carefully to avoid accidents that could result in Death or Serious Injury.
ORIENTATION
![]() | ![]() |
IMPORTANCE OF SAFETY
Accidents can be very costly to human life and property. As the operator is the #1 safety device on all types of vehicles or equipment, it is important that the operator read, learn and know all safety recommendations for this product. That user is responsible to his family, friends and co-workers to operate in a safe manner.
Ensure that everyone who operates or assists in the operation or maintenance of this product read and understand all the elements required to safely operate this piece of equipment.
This attachment has moving parts that include additional dangers. Throughout this manual you will find safety notes which are very important to read and understand before operating this piece of equipment.
These classifications alert you in situations that could be harmful to you or bystanders. When you see these alerts in the manual, carefully read and follow all instructions and also protect other workers from the same danger.
DANGER
Will result in Death or Serious Injury.
WARNING
Could result in Death or Serious Injury.
CAUTION
Could result in Minor or Serious Injury.
NOTICE
Not related to personal injury
OPERATOR SAFETY TRAINING TIPS
It is the responsibility of the operator using this attachment to be acquainted with the safe operation. In addition to reading this manual, it is important that the operator read the skid steer’s operational manual and follow its manufacturer’s recommendations!
- Before digging into any surface, always contact the “Diggers Hot-line” to identify underground utilities to avoid an accident that could result in Death or Serious Injury to the operator or fellow workers.
- Before lifting, lowering, or tilting the blade, make sure the area is clear of bystanders or objects.
- Machinery parts sometimes have sharp edges. Wear gloves when moving parts. Always use caution around attachment parts as they often are very sharp.
- Never use drugs or alcoholic drinks when operating or servicing this piece of equipment.
- Always wear the proper personal protection equipment when servicing or operating this piece of equipment. Never service or operate this attachment with bare feet, sandals, or other light footwear.
- Always use eye protection during operation.
- Speed Kills! Operate this implement at a safe speed to avoid losing control of the attachment or prime mover.
- Keep proper clearance between the implement and objects (utilities, tree stumps, large rocks, buildings, etc.). Contacting these objects with the implement or prime mover could cause a loss of control or damage to the implement or property.
- Before each operation of this implement, check all hardware (bolts, nuts, pins, etc.) for their proper location and tightness.
- Stop the engine on the skid steer and set the brake to avoid the implement rolling forward or backward while you are exiting the prime mover.
- Store this implement in an area not frequented by children.
- Allow no riders on this attachment. Keep all bystanders clear of attachment during operation.
- Always replace worn, torn, or missing safety decals before operating.
- Never operate the attachment when bystanders are within 10 feet (3 m) of the work area.
- Operate only during daylight or well-lit artificial light.
SKID STEER REQUIREMENTS
Your grapple attachment must be connected to a skid steer with adequate horsepower and weight to provide satisfactory results. Tracked loaders will provide superior traction in ground engaging applications and wheeled loaders may provide the best option for above-ground material handling applications.
The attachment plate on your grapple attachment will connect to the couplers on most major brand skid steer loaders. Do not modify the attachment plate on this attachment to fit older styles of attachment couplers on older machines. Contact your skid steer loader dealer to supply an updated coupler on an older skid steer to fit this attachment.
Your skid steer must also be equipped with an auxiliary circuit that is available on the loader arms and is controlled by a switch, pedal, or handles inside the skid steer loader cab.
CAUTION!
Make sure your skid steer is in good working condition. Follow the operating instructions found in the manual that accompanied your skid steer. Failure to do so could result in Minor or Serious Injury.
UNPACKING YOUR SHIPMENT
Your attachments arrive from the factory banded to a wooden pallet and require no final assembly before use.
CAUTION!
Careless removal of the shipping bands that secure the implement and stand to the side could result in Minor to serious Injury. Clear the area of all bystanders and stand to the side when cutting the bands with a pair of sheet metal shears.
CONNECTING ATTACHMENTS TO SKID STEER
DANGER!
Never enter the area underneath the coupler or any part of the attachment when it is in the raised position to avoid an accident that will result in Death or Serious Injury.
Verify that the hydraulic hoses are clear from the front of the attaching plate on the attachment and that the mounting plate is free from dirt and debris. When clear, move the skid steer to the proximity of the attachment plate.
Tilt skid steer coupler forward to align coupling point with the upper part of the attachment plate and raise the coupler slightly.
When the top edge of the coupler is seated in the top part of the coupler plate, roll the skid steer tilt function back until the attaching plate is flat against the skid steer coupler. Lock down the coupler levers.
Note: If your skid steer is equipped with a hydraulically operated coupler, activate the coupler lock at this time.
PLEASE NOTE:
Attachment and machine-side Couplings must be FREE OF DEBRIS BEFORE INSTALLING.
Failure to comply will void the warranty.
NOTICE:
Wipe off any dirt or dust from the male or female hydraulic flat-face couplers with a clean rag before attaching hoses, to keep contaminants from entering the hydraulic system.
Connect the attachment hydraulic hoses to the auxiliary supply couplers located on your skid steer loader lift arm.
Check the surrounding area for bystanders and clear them before starting the skid steer or attachment. Before operating the attachment, always visually inspect and verify that the coupler lock pins are fully engaged through the latch slots on the attachment plate.
PRE-WALK-AROUND INSPECTION
Before every use, it is important to perform a short inspection and certain maintenance on your grapple attachment:
- Check that all shields and guards are in place.
- Look for loose bolts and tighten them if necessary.
- Check that all safety decals are in place and can be read. Replace them if necessary.
- Take care of our environment. Repair any hydraulic leaks.
GRAPPLE ATTACHMENT CONTROLS
Your grapple attachment is designed to run off the skid steer loader auxiliary hydraulic system, with the additional grapple open & close function activated by a control switch, pedal, or handle in the operator’s cab. Consult your skid steer operator’s manual for precise instructions on how to activate, reverse and neutralize the auxiliary circuit. The height and tilt functions of the attachment are operated with the control handles or pedals in the cab. Consult your skid steers operator’s manual for precise instructions regarding these functions. Your skid steer may have a “float” function on the lowering circuit. When placed in the float position, the attachment will follow the contour of the ground being worked. This is especially helpful when back dragging a new cut. See your skid steer’s Operator’s Manual for instructions about how to use the float on your skid steer.
If during your initial start-up you realize the grapple function operates in the opposite direction that you prefer, you can change the positions of the quick disconnect couplers on the attachment hoses to remedy your problem.
BEFORE USING THE GRAPPLE FOR THE FIRST TIME
WARNING!
Moving the attachment with bystanders in the area could result in Death or Serious Injury. Before moving the attachment or machine, always make sure the area is clear of bystanders.
If this is your initial start-up with this attachment on this machine, check the skid steer’s hydraulic oil level and add oil, if necessary, before and after doing steps 1 & 2 below.
After starting skid steer, lift the attachment 10” (254mm) off the ground surface:
- With the skid steer engine RPM just above idle, slowly engage the auxiliary hydraulic flow to the grapple arm until the grapple arm(s) are fully open. Reverse the direction of the grapple arms until the grapple arm(s) are fully closed. Repeat this two more times to purge any air from the system.
- Lower the attachment to the ground and shut off the skid steer’s engine and exit the operator’s compartment.
- Check the skid steers hydraulic oil level, and add oil if necessary.
- Inspect the grapple attachment’s hydraulic plumbing for any noticeable leaks.
Correct these leaks before continuing.
GETTING FAMILIAR WITH THE ATTACHMENT
DANGER!
Never operate the grapple arms when bystanders are within 10 feet (3 m) of your work area.
CAUTION!
Be cautious when operating on un-level ground surfaces. A machine roll-over could result in a Minor or Serious Injury. Always wear your seatbelt when operating this type of machinery.
Before starting the engine with this grapple attachment connected to the skid steer, make sure you are knowledgeable and comfortable with the operation of the auxiliary hydraulic control as outlined in the previous sections of this manual and that in the skid steer loader Owner’s Manual.
When operating the grapple attachment, set the skid steer throttle at a speed that will produce the required flow, to the attachment and the other loader functions. If the skid steer is equipped with a foot throttle, use it to control engine speed and power being delivered to the attachment. Refer to your skid steer manual or call your local skid steer dealer for additional help, if necessary.
To begin with, learn what the attachment looks like in a level position when you are seated in the skid steer.
Knowing what a level implement looks like will help you with your attachment operation.
The correct ground speed for using this attachment will depend on the application and conditions and usually can be monitored by sound and feel and depends on the material density. If the skid steer engine is bogging down because of taking too big of a “bite” with the attachment, it will be necessary to raise or decrease the load a little until the machine’s power can overcome the material load on the attachment.
BEFORE GETTING STARTED
WARNING!
Before digging into any surface, always contact the “Digger’s Hot-line” to identify underground utilities to avoid an accident that could result in Death or Serious Injury to the operator or fellow workers.
Exposure to crystalline silica dust along with other hazardous dust may cause serious or fatal respiratory disease. It is recommended to use dust suppression, dust collection, and if necessary personal protective equipment during the operation of any attachment that may cause a high level of dust.
Inspect the area to be worked on and make sure it is free of any utilities, rocks, fence posts, or any other objects that you do not want to move. Determine a safe and efficient duty cycle pattern before the start of the job.
GRAPPLE ATTACHMENT TIPS
CAUTION!
Never operate this attachment when bystanders are in proximity of the work area that could result in Minor or Serious Injury by contact with the machine, attachment or flying debris.
- Always inspect the work area before starting the job. Locate and mark any utilities, steel posts, rocks, or any other objects that could be damaged or would damage the blade during operation. Never assume the work area is safe and never skip the inspection part before the start of operation.
- Operate at a safe slow-paced speed that will allow you to watch the area ahead and behind the attachment & loader. Since about half of your duty cycle may be in reverse, look behind you and/or utilize your mirrors when backing up. Verify that your backup alarm is working properly to warn others when you are in reverse, but never think that the alarm replaces your responsibility to visually check what’s behind you.
- Attachment control is the most important element to getting a good, steady cut. Overloading the attachment will only result in spinning the trucks or tires and will make unwanted ruts. Overloading the attachment will also necessitate raising the implement to offload some of the resistance occurring by the material. When you raise the attachment, you will create an unleveled surface that will increase as the front of the prime mover drives over the rise of the ground surface.
- If you lift too heavy a load with your attachment, you may raise the rear of your skid steer, and further reduce the tractive power available to move the load.
- Before beginning your forward motion with the attachment, stop the skid steer and make any final adjustments to the attachment in terms of height & tilt.
- Center your load on the attachment. Estimate the load center and pick it up accordingly. If the load feels unbalanced when you lift it, reposition your grab and retry the lift. An unbalanced load could upset your skid steer.
- After loading your attachment and clamping the arms over the load, roll the attachment back and retighten the clamp arm pressure. When rolling back the attachment, the load will settle and require some additional clamping pressure to secure the load.
- The grapple clamp should not be used for pushing or pulling down trees or any type of structure. Its purpose is to clamp the load so it can be moved to a different spot on the job site.

WARNING!
When lifting a load of brush or trees, make sure all ends are not tangled with standing trees that could cause Death or Serious Injury. - To save some service work and downtime, always pay attention that tree branches or roots do not poke through past the attachment arms and damage any hydraulic parts or even enter the cab area.
- Be careful that a branch or root doesn’t “whip” back at the skid steer. Wear safety glasses to prevent dirt from getting in your eyes.
WARNING!
Use extreme caution when working around low-hanging electrical lines. Do not raise the attachment in an area where there are low electrical lines to prevent an accident that could result in Death or Serious Injury. - Keep your distance from any type of utility, whether underground or in the air.
- Always clean the quick-disconnect couplers before connecting them to the skid steer. Utilize plastic or metal caps to protect the ends when not being used. Tuck the quick disconnect hoses somewhere in the attachment where they will be out of the dirt and will not be driven over.
MAINTAINING YOUR ATTACHMENT
Before Every Use:
- Check that all fasteners (nuts, bolts, pins, keepers) are in their right place and are tight.
- Inspect and replace any worn, torn or missing safety decals.
- Investigate the location of any oil leaks and repair.
- Lubricate all pivot joints with #2 lithium grease.
Every Week:
- Check the condition of the cutting edge and/or tooth points. Order parts if the cutting edge or points are becoming worn and replace them as soon as possible.
After Every Season:
- Inspect the implement for any loose or worn parts that may need to be replaced prior to the next season.
- Visually inspect the cutting edge. Replace, if necessary.
- Clean, sand & repaint any area that looks worn or scratched to prevent further rusting. Use an equipment point found at your local hardware store or building center.
- Replace any warning decals that have been lost or damaged.
- Store your implement in a shed or cover it with a water-proof tarp to protect it from the weather. Store in an area not frequented by children.
CUTTING EDGE REMOVAL & REPLACEMENT
WARNING!
To avoid an accident that could result in Death or Serious Injury, never find yourself in a position where any body part is located under an unsupported blade or frame when servicing this attachment.
Hazardous dust can be generated if painted surfaces are heated or welded and could result in Death or Serious Injury. Remove paint before welding and always make repairs in a well-ventilated area and wear an approved respirator.
CAUTION!
Cutting edges can be very heavy and could cause Minor or Serious Injury if mishandled. Always wear protective gloves and footwear.
- Weld-on cutting-edge replacement is not a task for most machinery operators and should be referred to a welding shop that possesses the proper equipment, knowledge, and experience.
- Replacement cutting edges are available from your CID dealer.
HYDRAULIC SYSTEM
WARNING!
A small stream of oil from a pinhole leak could penetrate your skin if contacted. To avoid an accident that could result in Death or Serious Injury, never use your hand or other body parts in an attempt to locate a hydraulic leak.
NOTICE!
Always release the hydraulic system pressure from the hydraulic circuits prior to removing the attachment or any hydraulic system service work.
SPECIFICATIONS

| MODEL | BE-SSGB2242 |
| Weight | 235lbs (107KG) |
| Width | 42” (1066mm) |
| Open Height | 22” (559mm) |

| MODEL | BE-SSGB2254 |
| Weight | 310lbs (141KG) |
| Width | 54” (1371mm) |
| Open Height | 22” (559mm) |

| MODEL | BE-SSGB6O | BE-SSGB7O | BE-SSGB8O |
| Weight | 650Ibs (295KG) | 700Ibs (318KG) | 800Ibs (363KG) |
| Width | 60″ (1542mm) | 72″ (1829mm) | 84″ (2134mm) |
| Open Height | 34″ (864mm) | 30″ (762mm) | 34″ (864mm) |
| Teeth Length | 24″ (610mm) | ||
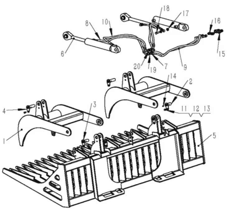
EXPLODED VIEW & PARTS LIST
BE-SSGB2242/BE-SSGB2254

| REF | PART NO | DESCRIPTION | QTY |
| 1 | SZT42.1 | CHASIS | 1 |
| 2 | ZT42.2 | FOLDER | 1 |
| 3 | GE08LR1/2ED | CONNECTOR | 2 |
| 4 | JB/T 978 | HINGED BOLT M14*1.5*32 | 2 |
| 5 | SZT42.3.1 | TUBING 01 | 1 |
| 6 | SZT42.3.2 | TUBING 02 | 1 |
| 7 | GB/T 5862 | QUICK-CHANGE CONNECTOR G1/2 | 2 |
| 8 | SZT42.3.3 | HYDRAULIC CYLINDER | 1 |
| 9 | JB/T 982 | COMBINATION WASH 14 | 4 |
| 10 | ZT42.4 | PIN ASSEMBLY 01 | 4 |
| 11 | ZT42.5 | PIN ASSEMBLY 02 | 1 |
| 12 | JB/T 7940.1 | OIL CUP M8X1 | 4 |
| 13 | GB/T 97.1 | WASHER 10 | 5 |
| 14 | GB/T 93 | WASHER 10 | 5 |
| 15 | GB/T 5783 | BOLT M10X20 | 5 |
| 16 | ZT42.6 | SHELL ASSEMBLY | 1 |
| 17 | JB/T 7940.2 | OIL CUP M8×1,90° | 4 |
SSGB60/SSGB72/SSGB84

| REF | PART NO | DESCRIPTION | QTY |
| 1 | ZG72 1 | HOOK CLAW WELDING ASSEMBLY | |
| 2 | ZG72.2 | OIL HOLE PIN WELDING ASSEMBLY 1 | 4 |
| 3 | ZG72.3 | OIL HOLE PIN WELDING ASSEMBLY 2 | 2 |
| 4 | ZG72.4 | OIL HOLE PIN WELDING ASSEMBLY 3 | 2 |
| 5 | ZG60.5 | GRAB BASE OIL HOLE PIN WELDING ASSEMBLY | 1 |
| ZG72.5 | 1 | ||
| ZG84.5 | 1 | ||
| 6 | ZG72.6 | HYDRAULIC CYLINDER | 2 |
| 7 | ZG72.7 | THREE-WAY CONNECTOR | 2 |
| 8 | ZG72.8 | FRONT TUBING | 2 |
| 9 | ZG72.9 | TOTAL INLET AND OUTLET TUBING | 2 |
| 10 | ZG72.10 | REAR TUBING | 2 |
| 11 | GB5783 | BOLT M8’16 | 8 |
| 12 | GB93.1 | SPRING WASHER 08 | 8 |
| 13 | GB97.1 | FLAT WASHER 08 | 8 |
| 14 | JB/T 7940.1 | OIL NOZZLE M6 | 8 |
| 15 | GB/T 5862 | QUICK-CHANGE CONNECTOR G1/2 | 2 |
| 16 | GE1OSR1/2ED | CONNECTOR M161.5-G1/2 | 2 |
| 17 | JB982-2000 | COMBINATION WASHER 018 | 8 |
| 18 | GB3750.3-83 | HINGED BOLT M18″1.5″35 | 4 |
| 19 | GB97.1 | FLAT WASHER 016 | 2 |
| 20 | GB/T6173 | THIN NUT M161.5 | 2 |
BRABEREQ.COM
[email protected]
PHONE: 604-850-7770
FAX: 604-850-7774
TOLL-FREE PHONE: 1-877-588-3311
TOLL-FREE FAX: 1-800-665-7334
BE-SSGBXXX
















