aperion audio Theatrus Series TC65 Cinema/Studio Surround AMT Ribbon Tweeter Speaker

GENERAL USER GUIDELINES
Read these instructions and keep them in a safe place for future reference. Follow all electrical safety warnings, including any on the loudspeakers themselves.
- Do not use the loudspeakers near water.
- The cabinet and baffle should only be cleaned with a dry, lint-free, cloth.
- Do not use solvents, abrasives, waxes or liquids as they may be detrimental to the finish.
- Do not install near any heat sources such as radiators, ovens or other equipment that produce excessive heat.
- Unplug this product from both source and power during electrical storms, or when unused for extended periods of time.
- Packing material can pose danger to the young and vulnerable. Ensure these items are stored safely.
- High volume audio signals short or long periods of time, have the potential to cause hearing damage. Use care when setting the system volume level to ensure playback sound pressure levels remain within safe comfortable limits.
- Do not attempt to service the equipment. There are no user serviceable parts inside. Please refer all servicing to Apareon Audio authorized personnel.
- Servicing is required when the apparatus is damaged, exposed to moisture, or exhibits a distinct or sudden change of operation or audio performance.
- This guide provides information on how to safely install the product. Apareon Audio will not be held responsible or liable for injuries or property damage-direct, indirect or consequential-arising out of use or inability to use this product safely and properly.
- Theatrus series loudspeakers contain very powerful magnets and therefore may have a detrimental effect if left in close proximity to magnetically sensitive items.
IMPORTANT SAFETY INSTRUCTIONS
Caution
Do not attempt to install this product until all instructions and warnings have been read and properly understood. Please keep these instructions for future reference. It is the installer’s responsibility to ensure that all documentation is given to the end user and read fully before operation. Aperion Audio and its representatives are not liable or responsible for damage or injury caused by improper installation.
General
Aperion Audio recommends that the end user work with a certified installer or other suitably qualified person install this product. Great care must always be taken during installation as most AV equipment is of a fragile nature, possibly heavy and easily damaged if dropped. If you do not fully understand the instructions or are not sure how to install this product safely, then please consult a professional for advice and/or to install this product for you. Failure to mount this product correctly may cause serious injury or death both during installation and at any time thereafter.
Product location
Please pay careful attention to where this product is located. Some surfaces are not suitable for installation due to their structural integrity or they conceal utilities such as pipework, cabling and other obstructions. Only attempt to mount to surfaces that are safe and mechanically sound.
Mounting hardware
It is important that the installer confirms that the provided mounting hardware is appropriate for the surface and structure that the product will be placed. If in doubt seek professional advice regarding the appropriate mounting hardware.
Hazard limitation
Some products have moving parts and the potential to cause injury through the crushing or trapping of fingers or other body parts. It is recommended that periodic inspections of the product and its mounting points are made as frequently as possible to ensure that safety is maintained. If in doubt consult a professional installer or other suitably qualified person.
HOW TO AVOID SPEAKER DAMAGE
Use an appropriate amplifier. At high volumes, a very powerful amplifier can overdrive your speakers and damage them. On the other hand, if your amplifier isn’t powerful enough, it can produce clipping distortion that can easily damage high-frequency drivers.
Don’t be fooled by your amplifier’s volume control. It adjusts listening level—it does not indicate power output. If your speakers begin to sound harsh or grating, or if you hear the bass breaking up, turn the volume down immediately to prevent damaging your speakers. This type of damage is not covered by warranty. Ensure that your amplifiers power handling matches with the Theatrus speaker that you choose. Tone controls and equalizers can demand even more power from an amplifier, lowering the impedance to the point at which it produces clipping distortion. Use them sparingly, if at all, and do not use them when listening at loud levels.
Risks to the young & vulnerable
Risk of death or serious injury may occur when children climb or tamper with audio equipment or its mounting hardware. This product may contain small parts like screws, mounting hardware, removable logos, and other small items that could cause a choking hazard. It is not Aperion Audio’s responsible to ensure these items, including packaging are out of reach of young children at all times.
Aperion Audio intends to make this and all documentation as accurate as possible. However, Aperion Audio makes no claim that the information contained herein covers all details, conditions or variations, nor does it provide for every possible contingency in connection with the installation or use of this product. The information contained in this document is subject to change without prior notice or obligation of any kind. Aperion Audio makes no representation of warranty, expressed or implied, regarding the information contained herein. Aperion Audio assumes no responsibility for accuracy, completeness or sufficiency of the information contained in this document.
If you are unsure whether your amplifier and speakers are compatible, please contact Aperion directly via email: [email protected]
SPEAKER PLACEMENT GUIDELINES
Location
Your new Theatrus speakers can easily be mounted into the wall. Please follow all installation guidelines.
Accurate Timbre and Imaging
Our Theatrus speakers feature wide, uniform dispersion and can be installed almost anywhere. For the most accurate timbre and imaging, place speakers approximately equal distance apart and select locations that allow sound to reach the listening area unobstructed.
Bass Performance
Placing speakers near corners will emphasize bass. For more balanced sound, we recommend that you avoid corners when considering speaker placement.
Centre

INSTALLATION
Turn your receiver/amplifier OFF before connecting speakers. This will avoid damage which may result from accidental shorting of the speaker cable.
Use only speaker cable that is rated for in-wall use.
The Theatrus speakers can be rotated by 90, 180, or 270 degrees with the rear pre installed threaded inserts. This allows the speaker to be positioned in any fashion to fit the needs of the acoustic space. Included are four (4) adhesive rubber bumpers which are to be placed in each corner of the bottom of the speaker that is touching the surface in which the speaker rests on, or if wall mounting then use two (2) rubber bumpers on the rear bottom side of the speaker. This helps isolate the speaker from the set-top surface or allows it to hang straight on the wall.
The driver unit for the TS15 subwoofer is centered, so it can also be rotated to accommodate room positioning. Included in the packaging are four adhesive rubber bumpers which are to be placed on the chosen bottom side of the cabinet. This will help protect the finish from scratches and abrasions on rough surfaces.
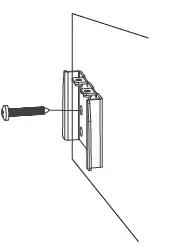
On-Wall Mounting
Note: For safety and security purposes, we recommend mounting speakers directly into a wall stud for maximum strength.
- Place the wall bracket level on wall and mark out mounting position
- Attach the wall bracket to the wall using provided mounting hardware
- Attached second speaker bracket to the rear of the speaker
- Attach the 2 small rubber pads in each corner to the speaker is isolated from the wall and it hangs straight for step 5.
- Install speaker wire (see page 8) and place the speaker with bracket attached to the rear onto the bracket on wall
- Tighten the two parts of bracket together by using safety screws
- Place the magnet grille on Speaker
- your installation is complete
WALL MOUNTING INSTALLATION
Please follow all safety warnings during installation
Please note the example in steps 3 & 4 show vertical mounting option. Please adjust rubber bumper position for horizontal, or opposite vertical installation.
- Mark wall position

- Install mount base

- Install mount and rubber bumpers to speaker side

- Additional mounting options

- Install speaker wire (pg 8) and hang speaker

- Install security screws

- Install magnetic grille

- Done

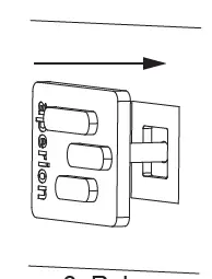
Rotatable Logo – Easy-Pull Spring-Loaded (On Cabinet)
- Pull

- Rotate

- Release

- Done

RUBBER PAD INSTALLATION
There are four rubber pads included with adhesive on one side. These rubber pads are to be installed to ensure that the speaker cabinet does not vibrate on the surface that it is placed on. It also will prevent vibrations while hanging on the wall.
Lastly, the rubber pads also prevent the speakers surface from getting scratched.
- Vertical Placement

- Horizontal Placement

- Rear Placement

Be sure to install bumpers to prevent
scratching the surface of your speakers, and to prevent unwanted vibrations*
Magnetic Rotating Grille Logo
The magnetic logo attaches to the grille frame screws. See below placement options.
- Placement Options

- Vertical Placement

- Horizontal Placement

CONNECTIONS
You are now ready to connect and install the speaker.
Caution
To avoid potential damage, please ensure that your power amplifier(s) or receiver is turned off before connecting or disconnecting your loudspeakers.
Cable & connectors
When selecting cables for use with your Theatrus series loudspeakers, ensure that their construction is of a high enough standard to withstand the rigors of everyday use and that they are suitably terminated. While bare wire can be accommodated by the Theatrus series binding posts, we recommend the use of either spade lugs or 4mm ‘banana’ plugs in order to maintain an electrical connection of the highest integrity and avoid the possibility of short circuits.
Do not use tools to tighten the binding posts (Polarity + & –) in order to avoid damaging the input plugs. It is of vital importance to observe the polarity markings and maintain positive-to-positive and negative-to-negative connections from amplifier or receiver to the loudspeaker. The Theatrus series terminals are colour-coded to aid in their identification: positive terminals are red, negative terminals are black.
PLUGGING THEM IN

SOUND ADJUSTMENT
With the growth of the home theater and private cinema market, a projector screen is the optimal choice to replicate the experience of the big movie theaters. Projector screens also pose potential acoustical issues due to screen size and material and whether they’re acoustically transparent or not. This can require unique solutions and workarounds regarding speaker placement and positioning, especially while working with multiple rows of seating in larger rooms. The new Theatrus Speakers adapts to these listening conditions by replicating the type of speaker to be used in a professional listening studio. Each Theatrus speaker has a focused sound stage to accommodate listening distances both long, or short, allowing a uniform sound stage throughout the room. The Theatrus speaker is able to be mounted On-Wall or In-wall, which naturally will also have an affect on the acoustic response. To address this issue, the Theatrus speaker ultimately needed two settings: Baffle-Wall (In-Wall) or Free-Field (On-Wall).
On-Wall vs In-Wall Bass Adjustment

Note: Free Field (On-Wall) is the default setting
Along with the bass adjustment, we also included a high frequency adjustment to compensate the high frequency when the speaker is placed behind a projection screen. These subtle yet effective customizations allow Theatrus to perform at it’s optimal level in various configurations.
High Frequency Adjustment
![]()
Note: Free Field (Front Screen) is the default setting

OPTIONAL PORT PLUGS
Optional port plugs are included and pre-installed with certain Theatrus speakers. Please remove them before playback for full frequency range effect.
This is another effective bass management system which allows the Theatrus speakers to perform their best in various configurations.
FEATURES & SPECIFICATION
Theatrus T80 Cinema/Studio AMT Ribbon Tweeter Monitor Speaker
- One AMT (Air Motion Transformer) Ribbon Tweeter
- Two 2″ Soft-Dome Fabric Mid-Range Drivers
- Two 8″ Curv Cone Woofers
- Optimized Crossover Network with Mylar and Polypropylene Capacitors
- Rear Adjustment High-Frequency Compensation for Placement Behind Projector Screens
- Rear Adjustment Bass-Frequency Compensation for On-Wall or In-Wall Placement
- Anti-Resonant Cabinet
- Rear Premounted Insert Threads for Easy Installation
- 5-Way Gold Plated Binding Posts
- Magnetic Acoustically Transparent Grille Cloth
- Rotatable Logo – Easy-Pull Spring-Loaded (On Cabinet) or Magnetic (On Grille)
Package Conents:
- One(1) T80 Speaker
- One(1) AWZ Wall Mounting Bracket
- Four(4) Rubber Pads
- One(1) Manual
- One(1) Polish Cloth
- One(1) Gloves
- One(1) Magnetic Logo On Grille
- Two(2) Foam Port Plugs (remove for full range frequency response)
SPECIFICATION
- Frequency Response: (±3dB) 40-35,000 Hz
- Nominal Impedance: 4 Ohms
- Sensitivity: 94 dB
- Recommended Power: 150-400W
- Peak Power: 700W
- Driver Configuration: 3-Way
- Enclosure Type: Ported/Sealed Cabinet (with port plugs installed)
- Product Dimensions(W/H/D): 15.75″x16.7″x11.8″ / 400x500x300mm (Without Grilles) Product Weight: 50 Lbs / 21.3 Kgs
- Shipping Dimensions(H/W/D):27″x19″x21″ / 670x480x535mm
- Shipping Weight: 56.2 Lbs / 25.5 Kgs
Theatrus T65 Cinema/Studio AMT Ribbon Tweeter Monitor Speaker
- One AMT (Air Motion Transformer) Ribbon Tweeter
- Two 2″ Soft-Dome Fabric Mid-Range Drivers
- Two 6.5″ Curv Cone Woofers
- Optimized Crossover Network with Mylar and Polypropylene Capacitors
- Rear Adjustment High-Frequency Compensation for Placement Behind Projector Screens
- Rear Adjustment Bass-Frequency Compensation for On-Wall or In-Wall Placement
- Anti-Resonant Cabinet
- Rear Premounted Insert Threads for Easy Installation
- 5-Way Gold Plated Binding Posts
- Magnetic Acoustically Transparent Grille Cloth
- Rotatable Logo – Easy-Pull Spring-Loaded (On Cabinet) or Magnetic (On Grille)
Package Conents:
- One (1) T65 Speaker
- One (1) AWZ Wall Mounting Bracket
- Four (4) Rubber Pads
- One (1) Manual
- One (1) Polish Cloth
- One (1) Gloves
- One (1) Magnetic Logo On Grille
- Two (2) Foam Port Plugs (remove for full range frequency response)
Specifications:
- Frequency Response: (±3dB) 60-35,000 Hz
- Nominal Impedance: 4 Ohms
- Sensitivity: 94 dB
- Recommended Power: 100-300W
- Peak Power: 500W
- Driver Configuration: 3-Way
- Enclosure Type: Sealed Cabinet (with port plugs installed)
- Product Dimensions(W/H/D): 14″x17″x8.7″ / 360x430x220mm (Without Grilles) Product Weight: 33 Lbs / 15 Kgs
- Shipping Dimensions(H/W/D):23.6″x15.5″x20″ / 600x395x505mm
- Shipping Weight: 39.7 Lbs / 18 Kgs
Theatrus T80S Slim Cinema/Studio AMT Ribbon Tweeter Monitor Speaker
- One AMT (Air Motion Transformer) Ribbon Tweeter
- Two 2″ Soft-Dome Fabric Mid-Range Drivers
- Two 8″ Curv Cone Woofers
- Optimized Crossover Network with Mylar and Polypropylene Capacitors
- Rear Adjustment High-Frequency Compensation for Placement Behind Projector Screens
- Rear Adjustment Bass-Frequency Compensation for On-Wall or In-Wall Placement
- Anti-Resonant Cabinet
- Rear Premounted Insert Threads for Easy Installation
- 5-Way Gold Plated Binding Posts
- Magnetic Acoustically Transparent Grille Cloth
- Rotatable Logo – Easy-Pull Spring-Loaded (On Cabinet) or Magnetic (On Grille)
Package Conents:
- One (1) T80S Speaker
- One (1) AWZ Wall Mounting Bracket
- Four (4) Rubber Pads
- One (1) Manual
- One (1) Polish Cloth
- One(1) Gloves
- One(1) Magnetic Logo On Grille
Specifications:
- Frequency Response: (±3dB) 60-35,000 Hz
- Nominal Impedance: 4 Ohms
- Sensitivity: 94 dB
- Recommended Power: 150-400W
- Peak Power: 700W
- Driver Configuration: 3-Way
- Enclosure Type: Ported/Sealed Cabinet
- Product Dimensions(W/H/D): 15.7″x19.7″x5″ / 400x500x130mm (Without Grilles) Product Weight: 35.7 Lbs / 16.2 Kgs
- Shipping Dimensions(H/W/D):25.4″x11.6″x20.5″ / 645x295x520mm Shipping Weight: 42.8 Lbs / 19.4 Kgs
Theatrus T65S Slim Cinema/Studio AMT Ribbon Tweeter Monitor Speaker
- One AMT (Air Motion Transformer) Ribbon Tweeter
- Two 2″ Soft-Dome Fabric Mid-Range Drivers
- Two 6.5″ Curv Cone Woofers
- Optimized Crossover Network with Mylar and Polypropylene Capacitors
- Rear Adjustment High-Frequency Compensation for Placement Behind Projector Screens
- Rear Adjustment Bass-Frequency Compensation for On-Wall or In-Wall Placement
- Anti-Resonant Cabinet
- Rear Premounted Insert Threads for Easy Installation
- 5-Way Gold Plated Binding Posts
- Magnetic Acoustically Transparent Grille Cloth
- Rotatable Logo – Easy-Pull Spring-Loaded (On Cabinet) or Magnetic (On Grille)
Package Conents:
- One(1) T65S Speaker
- One(1) AWZ Wall Mounting Bracket
- Four(4) Rubber Pads
- One(1) Manual
- One(1) Polish Cloth
- One(1) Gloves
- One(1) Magnetic Logo On Grille
Specifications:
- Frequency Response: (±3dB) 70-35,000 Hz
- Nominal Impedance: 4 Ohms
- Sensitivity: 94 dB
- Recommended Power: 100-300W
- Peak Power: 500W
- Driver Configuration: 3-Way
- Enclosure Type: Sealed Cabinet
- Product Dimensions(W/H/D): 14″x17″x4.3″ / 360x430x110mm (Without Grilles) Product Weight: 26.5 Lbs / 12 Kgs
- Shipping Dimensions(H/W/D):23″x11″x19″ / 580x275x485mm
- Shipping Weight: 33 Lbs / 15 Kgs
Theatrus TC65 Cinema/Studio Surround AMT Ribbon Tweeter Speaker Pair
- One AMT (Air Motion Transformer) Ribbon Tweeter
- One 6.5″ Curv Cone Woofers
- Optimized Crossover Network with Mylar and Polypropylene Capacitors
- Anti-Resonant Cabinet
- Rear Premounted Insert Threads for Easy Installation
- 5-Way Gold Plated Binding Posts
- Magnetic Acoustically Transparent Grille Cloth
- Magnetic Rotatable Logo
Package Conents:
- Two(2) TC65 Speaker
- Two(2) AWZ Wall Mounting Bracket
- Four(4) Rubber Pads
- One(1) Manual
- One(1) Polish Cloth
- One(1) Gloves
- One(1) Magnetic Logo On Grille
Specifications:
- Frequency Response: (±3dB) 80-35,000 Hz
- Nominal Impedance: 4 Ohms
- Sensitivity: 88 dB
- Recommended Power: 80-150W
- Peak Power: 200W
- Driver Configuration: 2-Way
- Enclosure Type: Sealed Cabinet
- Product Dimensions: 7.9″ W x 12″ H x (6.7″/3.1″ D) / 200mm W x 305mm H x (170mm/80mm D) (Without Grilles)
- Product Weight: 11 Lbs / 5 Kgs each
- Shipping Dimensions(H/W/D):13″x16″x19.5″ / 340x415x495mm
- Shipping Weight: 28.7 Lbs / 13 Kgs
Theatrus TS15 Passive 15″ Subwoofer
- One 15″ Passive Long-Throw Paper Cone Woofer
- 1″ MDF Internally Braced Sealed Cabinet Enclosure
- 5-Way Gold Plated Binding Posts
- Acoustically Transparent Grille
Package Conents:
- One(1) TS15 Subwoofer
- Four(4) Rubber Pads
- One(1) Manual
- One(1) Polish Cloth
- One(1) Gloves
- One(1) Magnetic Logo On Grille
Specifications:
- Frequency Response: (±3dB) 30-400 Hz
- Nominal Impedance: 4 Ohms
- Sensitivity: 88 dB@1m1w; 121 dB@1m1000w
- Recommended Power: 750W
- Peak Power: 1500W
- Enclosure Type: Sealed Cabinet
- Product Dimensions(W/H/D): 19.7″x19.7″x15.7″ / 500x500x400mm (Without Grilles) Product Weight: 66 Lbs / 30 Kgs each
- Shipping Dimensions(H/W/D):27.5″x24″x 26″ / 700x615x655mm Shipping Weight: 93.5 Lbs / 42.4 Kgs
PRODUCT DIMENSION








































