allen roth 42621 Mahoney 5-in W 1-Light Bronze Vintage LED Wall
PACKAGE CONTENTS

| PART | DESCRIPTION | QUANTITY |
| A | Fixture | 1 |
| B | Glass Globe | 1 |
| C | Thumbscrew | 3 |
| D | Switch (preassembled to Fixture [A]) | 1 |
| E | Wall Plate (preassembled to Fixture [A]) | 1 |
| F | Mounting Screws (preassembled to Wall Plate [E]) | 3 |
| G | Power Cord (preassembled to Fixture [A]) | 1 |
| H | Plug (preassembled to Power Cord [G]) | 1 |
| I | Grommet (preassembled to Fixture [A]) | 1 |
HARDWARE CONTENTS (not drawn to scale)
(for hardwire installation)
- Mounting Bracket Qty. 1

- Mounting Bracket Screw Qty. 2

- Plug Button Qty. 1

(for plug-in installation)
- Anchor Qty. 2

- Anchor Screw Qty. 2

PREPARATION
Estimated Assembly Time: 60 minutes
Tools Required for Assembly (not included): Helpful Tools (not included)

SAFETY INFORMATION
Please read and understand this entire manual before attempting to assemble, operate or install the product. Failure to do so could lead to electrical shock, fire or other injuries that could be hazardous or even fatal.
- Before you begin installing the light fixture, disconnect the power by removing fuses or turning off the circuit breakers.
- The net weight of the light kit is 2.31 lb.
- This fixture is intended for indoor or damp locations. It is not suitable for outdoor locations.
DANGER:
- DO NOT connect this fixture to an electrical system that does not provide a means for equipment grounding. Never use a fixture in a two-wire system that is not grounded. Installing a fixture into an electrical system not having a proper grounding means could cause metal parts of the fixture to carry electrical currents if any of the fixture wires, wire connections or splices were to become broken, cut or loose during the mounting or normal operation of the fixture. Under this condition, anyone coming in contact with the fixture would be subject to electrical shock, which could cause serious injury or death.
- DO NOT connect the bare or green insulation fixture ground wire to the black (hot) current-carrying wire or the white neutral house wire. Connection of the bare or green fixture ground wire to the black or white house wires may cause metal parts of the fixture to carry electrical currents. Under this condition anyone coming in contact with the fixture will receive electrical shock, which could cause serious injury or death.
- DO NOT damage or cut the wire insulation (covering) during installation of the fixture. DO NOT permit wires to contact any surface having a sharp edge. To do so may damage or cut the wire insulation, which could cause serious injury or death from electrical shock.
WARNING:
- All electrical connections must be in agreement with local codes and ordinances, the National Electric Code (NEC) and ANSI/NFPA 70-1999. Contact your municipal building department to learn about your local codes, permits and/or inspections. Risk of fire – most dwellings built before 1985 have supply wire rated for 140°F. Consult a qualified electrician before installation.
- To avoid personal injury, the use of gloves may be necessary while handling fixture parts with sharp edges.
- DO NOT suspend any fixture by the house wires. A fixture must always be mounted directly to an outlet box. Wire connectors will not support the weight of a fixture. Suspending a fixture by the house wires and wire connectors will result in the fixture falling, with the possibility of personal injury and the danger of electrical shock or fire.
- To reduce the risk of fire, electrical shock, or personal injury, each wire connector used with this fixture should accept only one 18-gauge wire from the light fixture and one 18-gauge wire from the outlet box. If there are three or more wires to connect or any of the wires is larger than 18 gauges, consult an electrician for the proper size wire connectors to use.
ASSEMBLY INSTRUCTIONS FOR PLUG-IN INSTALLATION
- Turn off the circuit breakers and the wall switch to the supply line leads.
DANGER: Failure to disconnect the power supply prior to installation may result in serious injury or death.
- This fixture has two options for installation. To install the fixture using the plug-in method, continue to the next step.
To install the fixture without the plug, skip to ASSEMBLY INSTRUCTIONS FOR HARDWIRE INSTALLATION, page 8. Note: Hardwire installation requires an outlet box at the installation location.
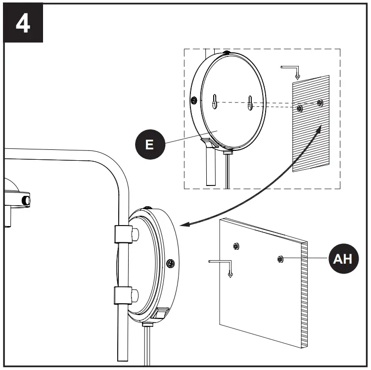
- Determine the desired location of the fixture assembly (A) making sure you have access to an electrical outlet and there are no electrical lines or plumbing where you intend to attach the mounting hardware.
Mark the anchor (AG) locations on wall and drill each hole 7 mm in diameter. Insert the anchors (AG) and tap into the wall until secure. Using a screwdriver, set two screws (AH) into the anchors (AG) leaving enough exposed to set into the keyhole slots on the preassembled wall plate (E).
Hardware Used
- Align the keyhole slots on the wall plate (E) with the screws (AH) on the wall and then gently push the wall plate (E) against the wall and slide down until secure.

- Partially loosen the three thumbscrews (C) preassembled to fixture (A). Insert glass globe (B) and tighten thumbscrews (C) to secure.

- Install medium-base (E26) bulb (sold separately) in socket of fixture (A).
Important: Make sure you allow the bulbs and fixture (A) to cool before you replace the bulb.
Assembly is complete.
Turn ON the electrical power at the main fuse or circuit breaker. - Insert plug preassembled to power cord (G) into nearby electrical outlet and move switch on underside of fixture (A) to ON position.

ASSEMBLY INSTRUCTIONS FOR HARDWIRE INSTALLATION
- Turn off the circuit breakers and the wall switch to the supply line leads.
DANGER: Failure to disconnect the power supply prior to installation may result in serious injury or death.
- This fixture has two options for installation. To install the fixture using the hardwire method, continue to the next step. Note: Hardwire installation requires an outlet box at the installation location.
To install the fixture using the plug-in method, return to ASSEMBLY INSTRUCTIONS FOR PLUG-IN INSTALLATION, page 5.
- To remove the wall plate (E) from the back of the fixture (A), unscrew and remove the three mounting screws (F) from the edge of the fixture (A). The wall plate (E) will not be used for hardwire installation.

- 4. Use the two mounting bracket screws (RR) to attach
the mounting bracket (FF) to the outlet box (sold
separately). Note: Ensure the mounting bracket
screws (RR) are parallel to the horizon.
Hardware Used
- Loosen the ground screw preassembled to the mounting bracket (FF). Wrap the green/bare (ground) supply wire from the outlet box around the ground screw. Tighten the ground screw to secure the ground wire.

- To remove the power cord (G) from the fixture (A), locate the two wires extending from the power cord (G). Lift the lever on the wire connectors preassembled to the fixture wires to release each plug wire. Once both wires of the power cord (G) are released, pull it through the grommet (I) at the bottom of the fixture (A) to remove.

- Remove the hex nut preassembled to plug button (EE). Then insert the plug button (EE) through grommet (I) and secure with the hex nut.

Hardware Used
- Make the following wire connections using the wire connectors preassembled to the fixture (A) wires:

- Push the Bare/Green (ground) supply wire into the empty wire hole of the wire connector preassembled to the Copper wire. Lower the lever to secure.
- Push the White (neutral) supply wire into the empty wire hole of the wire connector preassembled to the White wire. Lower the lever to secure.
- Push the Black (hot) supply wire into the empty wire hole of the wire connector preassembled to the Black wire from the switch. Lower the lever to secure.
Note: If household supply wires are different colors than referred to above, it is recommended a professional electrician determines the proper wiring.
- Align the three holes in the edge of the fixture (A) with the three holes in the tabs on the mounting bracket (FF). Then use the three previously removed mounting screws (F) to secure fixture (A) to mounting bracket (FF).

- Partially loosen the three thumbscrews (C) preassembled to fixture (A). Insert glass globe (B) and tighten thumbscrews (C) to secure.

- Install medium-base (E26) bulb (sold separately) in socket of fixture (A).
Important: Make sure you allow the bulbs and fixture (A) to cool before you replace the bulb.
Assembly is complete.
Turn ON the electrical power at the main fuse or circuit breaker. - Move switch on underside of fixture (A) to ON position.

TROUBLESHOOTING
| PROBLEM | POSSIBLE CAUSE | CORRECTIVE ACTION |
| Bulb will not light. |
|
|
ONE-YEAR LIMITED WARRANTY
The manufacturer warrants all of its lighting fixtures against defects in materials and workmanship for one (1) year from the date of purchase. If within this period the product is found to be defective, take a copy of the bill of sale as a proof of purchase and the product in its original carton to the place of purchase. The manufacturer will, at its option, repair, replace or refund the purchase price to the consumer. All costs of installation and removal of the fixture is the responsibility of the consumer. This warranty does not cover fixtures becoming defective due to misuse, accidental damage or improper handling and/or installation and specifically excludes liability for direct, incidental or consequential damages. As some states do not allow exclusions of limitations on an implied warranty, the above exclusion and limitation may not apply. This warranty gives you specific rights and you may also have other rights which may vary from state to state.
CUSTOMER SERVICE
ALLEN + ROTH and logo design are trademarks or registered trademarks of LF, LLC.
All rights reserved.
ATTACH YOUR RECEIPT HERE
Purchase Date _________________________
Questions, problems, missing parts? Before returning to your retailer, call our customer service department at 866-439-9800, 8 a.m. – 8 p.m., EST, Monday – Sunday. You could also contact us at [email protected].













































