Contents hide
SAMSUNG VS20R9042T2 Vacuum Cleaner

Main Body
- Exploded View

Parts List
| No. | Lvl. | Loc. | Material Code | Description & Specification | SNA | Qty. |
| 1 | 1 | DJ97-02646R | ASSY HANDY; VS9000RL,ASSY HANDY,Aqua Chro | SA | 1 | |
| 1-1 | 2 | RB037 | DJ97-02641A | ASSY GRILLE BACK; VS9000RL,SILVER,PTFE931 | SA | 1 |
| 1-2 | 2 | DJ97-02835B | ASSY CYCLONE; VS9000RL,Aqua ChroMetal,EXP | SA | 1 | |
| 2 | 3 | DJ96-00221A | ASSY BATTERY LI IB; Li-ion,21.9V,2850mAh, | SA | 1 | |
| 3 | 3 | DJ97-02647A | ASSY PIPE; VS9000RL,AL,BUCKLE,DARK TITAN | SA | 1 | |
| 4 | 3 | DJ97-02635G | ASSY BRUSH; VS9000RL,TURBINE,TURBO ACTION | SA | 1 | |
| 5 | 3 | DJ96-00223B | ASSY CHARGER-HOLDER; VS9000RL,DOM,BUTTON | SA | 1 | |
| 6 | 2 | DJ96-00225B | ASSY CHARGER-PIPE; VS9000RL,DOM,BUTTON TY | SA | 1 |
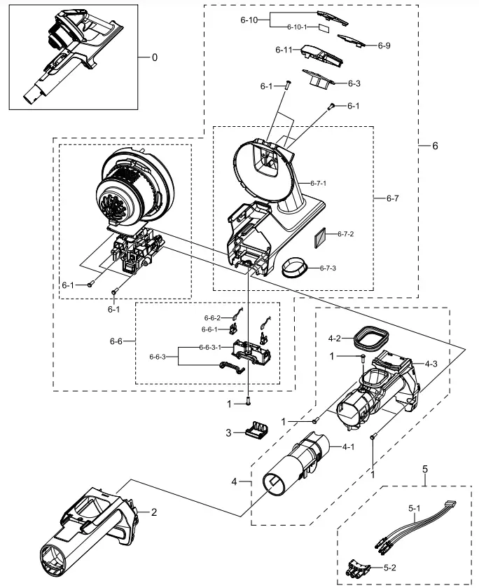
Assy Handy
- Exploded View

Assy Handy_Assy Motor Parts
- Exploded View

Assy Handy_Assy Grille Back
- Exploded View

Parts List
| No. | Lvl. | Loc. | Material Code | Description & Specification | SNA | Qty. |
| 7 | 2 | RB037 | DJ97-02641A | ASSY GRILLE BACK; VS9000RL,SILVER,PTFE931 | SA | 1 |
| 7-1 | 3 | DJ61-02559A | HOLDER GRILLE; VS9000NL,PC+ABS,L108,EBONY | SNA | 1 | |
| 7-2 | 3 | DJ63-01658A | GASKET GRILLE; VS9000NL,TPE,BLACK,LOW,INS | SNA | 1 | |
| 7-2-1 | 4 | DJ64-01355A | GRILLE FILTER; VS9000NL,ABS,NEUTRAL GRAY, | SNA | 1 | |
| 7-3 | 3 | DJ63-01674A | GASKET ETC; VS9000RL,EVA FOAM,T3,W3,L154 | SNA | 1 | |
| 7-4 | 3 | DJ63-01675A | FILTER OUTLET; VS9000RL,T9,W26.5,PTFE9314 | SNA | 1 | |
| 7-5 | 3 | DJ63-01681A | ABSORBER ETC; VS9000RL,PET,T1.2 | SNA | 1 |
Assy Handy_Assy Cyclone
- Exploded View

Parts List
| No. | Lvl. | Loc. | Material Code | Description & Specification | SNA | Qty. |
| 8 | 2 | DJ97-02835B | ASSY CYCLONE; VS9000RL,Aqua ChroMetal,EXP | SA | 1 | |
| 8-1 | 3 | DJ97-02649A | ASSY FILTER; VS9000RL,MICRO | SA | 1 | |
| 8-1-1 | 4 | DJ61-02590A | HOLDER FILTER; VS9000NL,ABS,T1.2,L84.4,De | SNA | 1 | |
| 8-1-2 | 4 | DJ61-02591A | SUPPORT FILTER; VS9000NL,ABS,T1.2,HG-0760 | SNA | 1 | |
| 8-1-3 | 4 | DJ63-01671A | GASKET HOLDER; VS9000NL,TPV,T1.2,AIRBORNE | SNA | 1 |
Assy Pipe
- Exploded View

Parts List
| No. | Lvl. | Loc. | Material Code | Description & Specification | SNA | Qty. |
| 0 | 3 | DJ97-02647A | ASSY PIPE; VS9000RL,AL,BUCKLE,DARK TITAN | SA | 1 | |
| 1 | 4 | DJ97-02688A | ASSY HOLDER; VS9000RL,PIPE-BRUSH | SNA | 1 | |
| 1-1 | 5 | DJ39-00292A | WIRE HARNESS-TERMINAL; 3P,Curl Wire,UL205 | SNA | 1 | |
| 1-2 | 5 | DJ61-02555A | HOLDER TERMINAL; VS9000RL,PC,L25.5,V-0,30 | SNA | 1 | |
| 2 | 4 | DJ61-00584A | SPRING ETC-CAP; VC-MBM940,HSWR,CD0.7,OD7. | SA | 1 | |
| 3 | 4 | DJ61-02320B | HOLDER BUTTON; VS9000RL,PC,L59,D0,Dark Ch | SA | 1 | |
| 4 | 4 | DJ61-02322A | SPRING ETC COIL; Canister (ASSY PIPE),HSW | SA | 1 | |
| 5 | 4 | DJ61-02323A | SPRING ETC COIL; HSWR,CD0.4,ID6.3,OD7.1,L | SA | 2 |
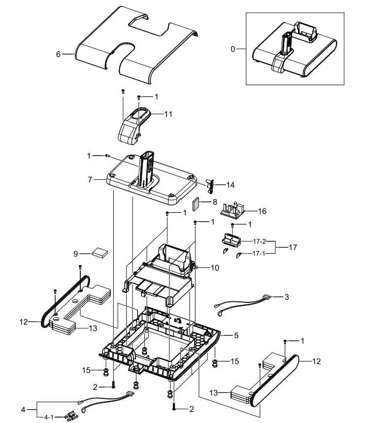
Assy Charger-Holder
- Exploded View

- Exploded View

Assy Charger-Base
- Exploded View

Holder ETC
- Exploded View

Parts List
| No. | Lvl. | Loc. | Material Code | Description & Specification | SNA | Qty. |
| 0 | 2 | DJ98-01133B | ASSY ACCESSORY; VS9000RL,HOLDER ETC,GLOBA | SNA | 1 | |
| 1 | 3 | DJ61-02578A | HOLDER ETC; VS9000RL,PC,L96,GRAY TR-P,HB, | SNA | 1 | |
| 2 | 3 | RV005 | 6002-001644 | SCREW-TAPPING; BH,+,1,M5,L55,ZPC(BLK),SWR | SNA | 2 |
| 3 | 3 | DJ61-02601A | HOLDER LOCK; VS9000RL,PP,L40,HB,BJ750,WAL | SNA | 2 |
Mini Turbo Brush
- Exploded View

Combination Tool
- Exploded View

Parts List
| No. | Lvl. | Loc. | Material Code | Description & Specification | SNA | Qty. |
| 0 | 3 | RA002 | DJ98-01129A | ASSY ACCESSORY DUSTING; VS9000RL,DUSTING, | SA | 1 |
| 1 | 4 | RV005 | 6002-000630 | SCREW-TAPPING; PH,+,NO,2S,M3,L8,ZPC(WHT), | SNA | 1 |
| 2 | 4 | DJ61-00584A | SPRING ETC-CAP; VC-MBM940,HSWR,CD0.7,OD7. | SA | 1 | |
| 3 | 4 | DJ64-01333B | BUTTON PUSH; VS9000RL,ABS,HB,Dark ChroMet | SA | 1 | |
| 4 | 4 | DJ61-02508A | SPRING ETC COIL; VS8000ML,HSWR,CD0.5,ID6. | SA | 1 | |
| 5 | 4 | DJ60-00057A | SPACER BRUSH; VS9000RL,WOOL,L26.5,T2,W5,R | SNA | 1 | |
| 6 | 4 | DJ64-01348A | KNOB PIPE; VS9000RL,PC,Dark ChroMetal,M30 | SA | 1 | |
| 7 | 4 | DJ67-00828A | CAP KNOB; VS9000RL,PC,V-2,M3020PN,Dark Ch | SA | 1 |
Crevice Tool
- Exploded View

Parts List
| No. | Lvl. | Loc. | Material Code | Description & Specification | SNA | Qty. |
| 0 | 3 | RA001 | DJ98-01130A | ASSY ACCESSORY CREVICE; VS9000RL,CREVICE, | SA | 1 |
| 1 | 4 | RV005 | 6002-000630 | SCREW-TAPPING; PH,+,NO,2S,M3,L8,ZPC(WHT), | SNA | 1 |
| 2 | 4 | DJ61-00584A | SPRING ETC-CAP; VC-MBM940,HSWR,CD0.7,OD7. | SA | 1 | |
| 3 | 4 | DJ64-01333B | BUTTON PUSH; VS9000RL,ABS,HB,Dark ChroMet | SA | 1 | |
| 4 | 4 | DJ61-02508A | SPRING ETC COIL; VS8000ML,HSWR,CD0.5,ID6. | SA | 1 | |
| 5 | 4 | DJ64-01348A | KNOB PIPE; VS9000RL,PC,Dark ChroMetal,M30 | SA | 1 | |
| 6 | 4 | DJ67-00828A | CAP KNOB; VS9000RL,PC,V-2,M3020PN,Dark Ch | SA | 1 | |
| 7 | 4 | DJ66-00823A | LEVER RELEASE; VS9000NL,PC,3022R,GRAY TR- | SNA | 1 |
Multi Direction Tool
- Exploded View

Parts List
| No. | Lvl. | Loc. | Material Code | Description & Specification | SNA | Qty. |
| 0 | 3 | DJ98-01131A | ASSY ACCESSORY; VS9000RL,MULTI-DIRECTION, | SA | 1 | |
| 1 | 4 | RV005 | 6002-000630 | SCREW-TAPPING; PH,+,NO,2S,M3,L8,ZPC(WHT), | SNA | 1 |
| 2 | 4 | DJ61-00584A | SPRING ETC-CAP; VC-MBM940,HSWR,CD0.7,OD7. | SA | 1 | |
| 3 | 4 | DJ64-01348A | KNOB PIPE; VS9000RL,PC,Dark ChroMetal,M30 | SA | 1 | |
| 4 | 4 | DJ67-00828A | CAP KNOB; VS9000RL,PC,V-2,M3020PN,Dark Ch | SA | 1 |
Carpet Brush
- Exploded View

Copyright© 1995-2020 SAMSUNG. All rights reserved.





















