SAMSUNG VCA-SAE903 Vacuum Cleaner Instructions
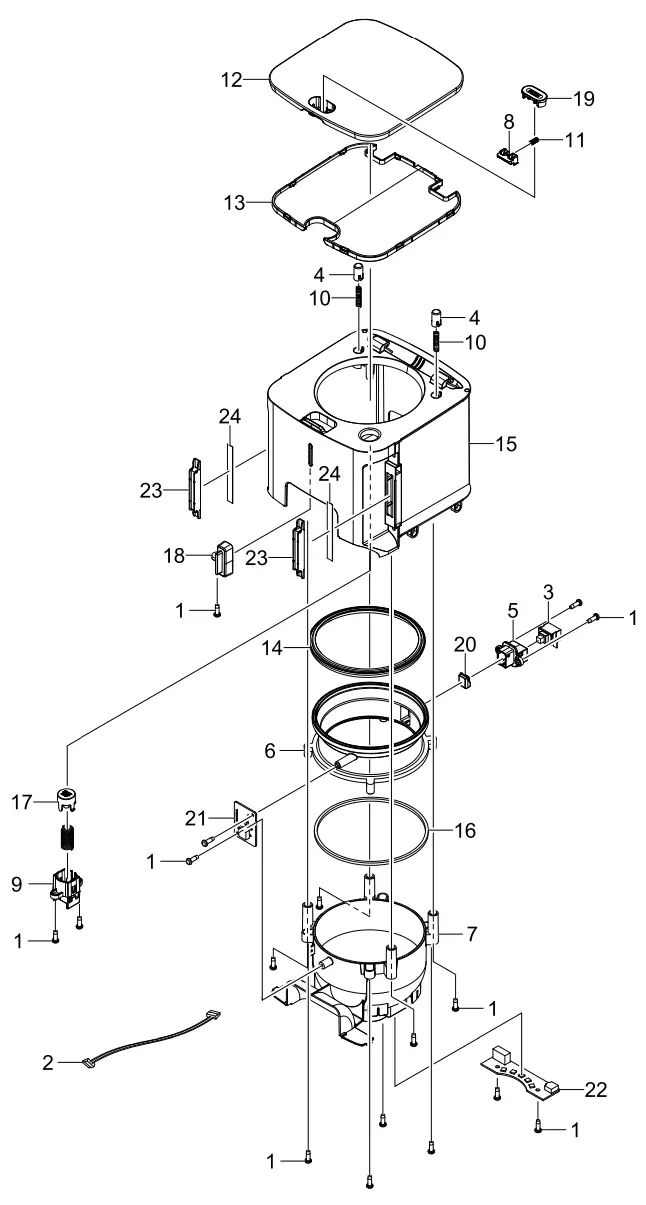
Assy Body
Exploded View


Assy Body Base
Exploded View



Assy Motor Parts
Exploded View




Assy Guide Air
Exploded View



Assy Grille Back
Exploded View


Assy Cover Dust
Exploded View


Assy Body Dust
Exploded View


Assy Case
Exploded View


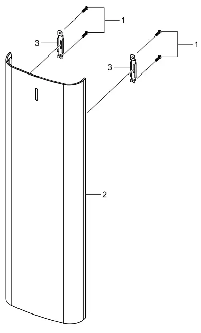
Assy Cover Base
Exploded View


Assy Cover Front
Exploded View


ETC
Exploded View




















