OPERATION MANUAL
Thank you for purchasing this SHARP product. To obtain the best performance from this product, please read this manual
carefully. It will guide you in operating your SHARP product.
Special notes
The Bluetooth® word mark and logos are registered trademarks owned by the Bluetooth SIG, Inc. and any use of such marks by SHARP is under license. Other trademarks and trade names are those of their respective owners.
The following accessories are included.



Audio cable x 1 USB charging cable x 1 Carrying strap x 1
For other countries


AC adaptor x 1 set
Precautions
General
Keep the unit away from strong magnetic fields, excessive dust, humidity and electronic/electrical equipment (home computers, facsimiles, etc.) which generate electrical noise.
Do not place anything on top of the unit.
Do not expose the unit to temperatures higher than 60°C (140°F) or to extremely low temperatures.
Do not remove the outer cover. Refer internal service to your local SHARP service facility.
No naked flame sources, such as lighted candles, should be placed on the apparatus.
Attention should be drawn to the environmental aspects of battery disposal.
This unit should only be used within the range of 5°C – 35°C (41°F – 95°F).
The apparatus is designed for use in moderate climates.
SHARP is not responsible for damage due to improper use. Refer all servicing to a SHARP authorised service centre.
The supplied AC adaptor contains no user serviceable parts. Never remove covers unless qualified to do so.
The AC adaptor supplied with this unit must not be used with other equipment.
Never use an AC adaptor other than the one specified. Otherwise, problem or serious hazards may be created.
Volume control
The sound level at a given volume setting depends on speaker efficiency, location and various other factors. It is advisable to avoid exposure to high volume levels, which occurs while turning the unit on with the volume control setting up high, or while continually listening at high volumes.
Approved accessories
The use of accessories not approved by SHARP, including but not limited to batteries, antennas, wall adapters, car chargers, ear gels and foam tips and convertible covers, may cause your SHARP device to malfunction or in the case of non-approved electrical accessories may cause the device to exceed RF energy exposure guidelines. Use of non-approved accessories will void your device’s warranty.
Electromagnetic interference
Nearly every electronic device is susceptible to electromagnetic interference (EMI) if inadequately shielded, electromagnetic configured for electromagnetic compatibility. Similar to a mobile phone, this unit is a low
power transmitter / receiver and is covered by regulations pertaining to such devices. Turn off this unit in any facility where posted notices instruct you to do so. These facilities may include hospitals or health care facilities that may be using equipment that is sensitive to external RF energy.
- When instructed to do so, turn off this unit when on board an aircraft. Any use of a mobile device must be in accordance with applicable laws, regulations and airline crew instructions.
- Some Bluetooth devices may interfere with some hearing aids. In the event of such interference, you may want to consult your hearing aid manufacturer or physician to discuss alternatives.
- If you use any other personal medical device, consult the manufacturer of your device to determine if it is adequately shielded from RF energy. Your doctor or physician may be able to assist you in obtaining this
information. - If you are in doubt about whether this unit be safely turned on or used, please consult an authorized person in the location you want to use it. If no authorized person is available or you remain uncertain,
SHARP recommends that you turn off your Bluetooth device and any mobile phones unless they are required in an emergency situation.
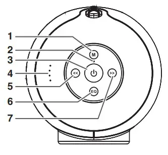
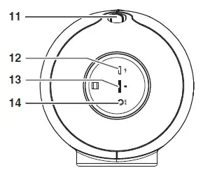
Controls and indicators
Top and side panel



- Mode Button
- Bluetooth Indicator
- Power Button
- Battery Indicator
- Track Skip down Button
- Equalizer Button
- Track Skip Up Button
- Volume Down Button
- Play/Pause Button
- Volume Up Button
- Carry Strap Hooks
- Micro USB Charge Slot
- Micro SD Card Slot
- Aux In Jack 3.5 mm
Carrying the unit
Using the carrying strap
This unit can be carried by using a supplied carrying strap. Insert the carrying strap hook to each end of the unit as shown below.
Caution:
Before carrying the unit, make sure the hook is properly secured and closed, otherwise it will cause damage and injury.

Getting started
Plug adaptors
Plug adaptors are supplied for various countries usage as below.

To change the plug adaptor :
- Choose a plug adaptor shape to match the electrical outlet.
- Place the plug adaptor on the adaptor body with the word “LOCK” aligned to the release knob.
- Press the adaptor against the body and twist clockwise until it locks.

To remove the plug adaptor :
Press the release knob and twist the plug adaptor anti clockwise until it is released.
Charging
Please use the supplied AC charger and USB cable to charge this unit. A full charge will take around 3.5 hours. Please close the port cover after you have done charging.

General control
To turn the power on or off
Press the button to turn the power on or off.
When turning on, battery indicator will light up and a sound tone will be heard.
When turning off, a voice message “Powering down” will be heard.
Bluetooth
Pairing
Power on the unit and it will enter the Bluetooth mode.
The blue indicator will flash. On your smartphone search Bluetooth devices list for “GX-BT480 SHARP”.
Once connected the speaker will announce it is “connected” and the blue indicator will cease flashing.

Calls
Press to answer an incoming call. Press to end the active call Press twice or long press to reject an incoming call.
SIRI/GOOGLE
Press twice to activate or cancel Siri/Google voice dialing.
Disconnect
Press and hold until a voice prompt “disconnected” is heard.
This will disconnect the current Bluetooth connection.
Other Bluetooth device can now find and pair with this unit.
Micro SD card
Notes:
- When you insert a Micro SD Card into this unit, it will switch to Micro SD card mode and voice message
“Micro SD card playback” will be heard. - This unit supports Micro SD cards upto 32GB, FAT32 format and MP3 formats.
Unsupported file formats are skipped. For example, - Word documents (.doc) or MP3 files with extension .dlf are ignored and not played.
- Even when the files are in a supported format (MP3), some may not play depending on the compatibility
- In some case, reading may be as long as 60 seconds, depending on the amout of data and media speed. This is not a malfunction. To switch modes, press the button.
Playback
Press to play/pause
Press to skip up a track.
Press to go to the beginning of the current track.
Press twice to skip down a track.
Aux In mode
Notes:
- Use the 3.5mm audio cable (included) to connect the speaker to an audio source (PC, MP3/MP4, mobile phone).
- The speaker will play the music from the audio source.
To change or control tracks, please use your music source apps
Playing music from an audio source
- Press the button repeatedly to select “AUX IN” mode. A voice message “Auxilary Input” will be heard.
- Press play on the source device to start playback.
- To mute the sound, press button on this unit.
Troubleshooting chart
If something is wrong with this product, check the following before calling your authorize SHARP dealer or service centre.
General
If something is wrong with this product, check the following before calling your authorize SHARP dealer or service centre.
General
| Symptom | Possible cause |
| When a button is pressed, the unit does not respond. | Turn the unit off and then turn it on again. |
| No sound is heard. | The volume level set to “Min”. |
Bluetooth
| Symptom | Possible cause |
| No sound is heard. | The unit is too far from the Bluetooth audio source device. The unit is not paired with the Bluetooth audio source device |
| Bluetooth sound is interrupted or distorted. | The unit is too near to a device that generates electromagnetic radiation. There is an obstacle between the unit and the Bluetooth audio source device. |
Micro SD card
| Symptom | Possible cause |
| SD card cannot be detected. | There is no MP3 file inside the SD card. |
| Playback does not start. | The SD card is not properly plugged in. |
| A copyright protected or false MP3 file is being played back. |
If problem occurs
When this product is subject to strong external interference (mechanical shock, excessive static electricity, etc.) or if it is operated incorrectly, it may malfunction.
If such a problem occurs, turn the power off and then turn it on again.
If it still does not restore the unit, do the factory reset.
Factory reset
- Press the button to turn the power on. When the unit is in idle condition (no connection to
- Bluetooth, audio, etc.), press and hold the button for 8 seconds.
- The unit will power off and reset.
- Turn on the unit again for normal operation.
Specification
General
| Symptom | Possible cause |
| When a button is pressed, the unit does not respond. | Turn the unit off and then turn it on again. |
| No sound is heard. | The volume level set to “Min”. |
Bluetooth
| Version | V 4.2 |
| Frequency bands | 2402 MHz ~ 2480 MHz |
| Maximum power transmitted | <20 dBm |






















