Get Packed 3-BP-888 Betta PACK Strap Feeder Portable Pallet Strapping System User Manual
General
Products features
- The mobile pallet strapping system comes with innovative chain-pass rolling technology. The chain carries a straps through under the pallet and up again in the rear and over the pallet, the straps will be sent to the operator. The operator only needs to grasp the strap and put it into the battery strapping tool(sealing head). The strap will be tensioned and welded by the sealing head with easy operation.
- This system is designed based on ergonomics, without bending, reducing operator fatigue, single operation, and saving labor.
- Patented design, fast threading the straps, The average time to thread the straps is less than 10 seconds ( depending on the size of cargo) , central integrated lithium battery power supply, 3 -step charger with a short charging time, and long duration ( the battery can be packed for 500-600 times continuously when fully charged ).
- Man-machine interaction, and intelligent touch screen can adjust packaging parameters, which is more convenient and fast.
Technical Data
Mobile strapping system
Weight : JD-008 105k (with sealing head)
JD-008S 112kg (without sealing head)
- Dimensions ( all types ) : Length 950 mm,Width 750 mm,Height 1250 mm
- Maximum chain speeds
- Standard mode
- Moving out horizontally :40m / min
- Moving out vertically:60 m / min
- Moving in vertically:44 m / min
- Moving in horizontally:54 m / min
- Setting up threading strap Mode
- Moving out:20 m / min
- Moving In:16 m / min
- Max chain thrust :320 N
- Measured A-graded
- Noise emission level 79 dB ( A )
- Suitable for packaging volume : width below 2000MM , height below3000MM
- Applicable straps : PP strap or PET strap
- Applicable straps specification
- PP strap : roll core diameter 200mm roll core height : 180MM
- PET strap : roll core diameter 406mm roll core height : I50MM
- Strap thickness : 0 . 6mm-l 3mm;Strap width : 12mm-19mm
- Minimum pallet height : 75mm
- Minimum pallet width : 200mm
Battery
- Type:33V lithium battery
- Weight : 10kg
- Voltage capacity : 33.3V / 32ah
- Charging voltage : 33.6V
- Maximum charging current : 10A
- Maximum discharging current : 45A
- Number of strapping : 150 to 400 per charge , depending on pallet size tension , welding time and age of battery
- Battery life : up to 2000 charges
- Charging time : approx 3.5 hours
Charger
- Type: dual 3-step charger
- Working temperature : 5℃-45℃
- Working humidity : 90 % ( 4 ℃± 2℃)
- Storage temperature : ( -40℃~70℃)
- Atmosphere pressure : ( 70-106 ) Kpa
- Input voltage : ACI00-240V;50HZ-60HZ
- Output voltage : DC33.6V
- Output current : 10A
- MTBE : ≥50000H
Safety regulations
- These operating instructions will help you to understand the system and how to use it according to regulations. The operating instructions contain important notes about how to use the system safely, properly and economically.
- Adhering to the notes helps you to avoid dangers, repairs, and also increases the reliability and life span of the system
- The operating instructions must be available where the system is used it has to be read, understood and used by everybody who works with the system. These works include operation, maintenance, and repair
- In addition to the operating instructions and the rules in the country and place of use for the prevention of accidents, the recognized special rules for working safely and according to proper and professional standards also have to be respected
Waste disposal
- Physical or chemical materials dangerous to health have not been used for manufacturing the system.
- Concerning waste disposal, valid national rules and regulations have to be considered. Take care of disposing of packaging. the product itself and parts accordingly.
- Special dealers offer disposal according to proper environmental protection.Do not open the battery.Do not throw the used battery into the domestic waste bin, into fire or Into water.
Safety regulations
- Before usage, the manual has to be read and understood. Service and maintenance have to be done by trained staff only .
- Wear a safety helmet when strapping pallets ,which height is over 1.20 meters.
- Wear eye and hand protection (cut-proof gloves ) and also safety shoes.
- Do not place hands or other body parts between the strap and the packaged goods during the strapping process. Ensure that there are no other persons in the hazardous zone. For an emergency stop in the case of danger.
- After welding, cut the strap with a suitable tool ( strap cutter)
Warning
Following hazards can cause serious injuries: Breaking strap, risk of injury. When being tensioned, the strap may break and rip. Do not stand in line with the strap and please wear eye protection .
- When the packing action is complete, please loosen the sealing head after the belt is completely cooled. There is a risk of injury if the head is loosened too early. When cutting the strap, hold the upper portion of the strap and stand aside. Do not stand in line with the strap and wear eye protection .
- Discarded packing tape is at risk of tripping, Please clean up the discarded packing tape in time .
- ower source, risk of injury . Before maintenance or repair work: switch the main switch to ” OFF ” and unplug the cable from the battery.
- After the chain trace moved up on the opposite side of the pallet, it falls towards the user with its own weight Used without paying attention. the chain trace can fall on the head of the user and cause injuries. When the height of goods exceeds 1 . 2m, please wear the helmet.
- If the strap roll is 20kg or heavier, two persons need to lift it, prevent the strap roll fall from damaging the body
- Work should be done on level ground. When working on the slightly inclined surface, the casters brake should be locked to prevent equipment slippage from causing damage to the worker.
- The system is only to be used for strapping with plastic straps( polypropylene and polyester ) . Strapping with a steel strap is not possible with this system.
- This system is designed for strapping pallets/loading carriers. The system has been developed and constructed for safe operation when strapping. Please carefully judge the packaging environment and packaging requirements when packaging. The system is not designed to strap aliments that are not packaged.
- The material and tightening force of the strap must correspond to the packaged goods to be strapped. The construction of the system does not consider any risk to damaged goods or their packages.
Safety regulations for battery and charger
- Check the plug and the cable before each use and have them replaced by a specialist if they are damaged.
- Do not use any batteries from other manufacturers, use original spare.
- Keep the connection plug to the battery away from non-related objects and dirt.
- Protect the charger from moisture: operate it in dry rooms only.
- Do not open the battery and protect it from shock, heat, and fire.The danger of explosion.
- Store batteries in a dry frost-proof place. The ambient temperature must not exceed 50C and must not fall below5’c.
- Damaged batteries may not be reused.
Description



Touch screen function
- When setting parameters, click the relevant button and the numeric soft keyboard will automatically pop up on the page. After setting, click ” OK ” automatically save parameters and exit.

- After clicking the alarm screen, the page will automatically appears, as shown in the picture 4-2, this page will record all the faults of the machine after starting up and running, please be careful to clear it.

Commissioning
Battery charger
The main voltage must comply with the details on the type plate. The charger is only suitable for charging the delivered 33V lithium battery.
Charging the battery

- Remove the charger and connect it to the electrical outlet.
- Insert the male end of the charging port into the female end of the charging port.
- The charging time is about 2.5h. The charger turns on a red light during charging , the red light goes off and the green light goes on when the charging is completed.
- During charging, do not start the device, and keep the charging port clean and no foreign body. Dry compressed air should be used to clean the charging port.
- If fingers or other conductors contact the charging female end by mistake will have a risk of discharge short circuit, please be careful to operate.
Operation
Threading in the packaging strap
- Turn on the switch on the control unit
- Convert the operating mode to the ” replace chain / strap mode
Placing strap
- Pay attention to the size of the straps roll when installing the strap( PP strap : roll core diameter 200mm roll core
height : 180MMPET Strap : roll core diameter 406mm roll core height 150MM ). - Fold down the disc arm until It stop.
- Place a new roll of strap onto the disc so that the strap unwinds in the counter-clockwise direction when looking down on the roll

- Fold up the disc arm with the strap roll again in its vertical position as shown in the picture .

- You can remove adhesive strips of the tapes now which secure the strap on the roll ( do not remove the tape or strap which fix the strap on the roll before step 4.
- Open the cover of the white roll for the strap threading, thread the strap through the U-shaped. and over the white roll to the inside. Then close the cover back again.

- Open the sliding window, press the chain clamp inside the chain on the left . And then thread the strap from the right to the left through the slot in the clamp lock.

- After releasing the chain link, make sure that the sliding window is fully closed. The safety switch of the control unit will unlock only after the sliding window is fully closed. ( When the sliding window is opened, the yellow light flashes and prompts ” please close the sliding window ” on the central control screen. When the sliding window is closed. the green light flashes.

- Put the joystick forward in the ” move out ” direction until the reversing head tilts upwards ( 10-20CM ). Hold the end of the chainlance (chain trace)with the left hand while you still continue to push the joystick forward in the ” move out the direction.
- Extend the chainlance as far as shown on the picture , then put the chain on the device as shown.

- Remove the strap from the clamp in the chainlance and hold it straight up as shown. At the same time , move the chainlance back now by putting the joystick backward until the chain trace is approx 20-30cm lower (shorter) than the strap you are holding in your hand.
- Press the eccentrics-cam by pushing it inwards with the finger as shown , then hold the strap vertically so that the strap and the chainlance are straight .
- Move the chainlance completely backwards by putting the joystick backwards again in the ” move in direction.
- Turn the operating mode switch ” replace chain/strap mode” to “standard mode
Strapping
- Roll the machine in front of the pallet at a distance of approx 30cm
- Whenever you turn on the power switch , pull/push the joystick forwards or backwards to make the chainlance return to the origin position and be in standby state . and make sure strap lift arm back to its lowest position.

- Set the relevant parameters of pallet in the touch screen according to the width of pallet . If the pallet width is 1 meter ,click the1.3m icon on the touch screen ( or input 1.3M in the parameters and click ” OK ).
- Move the chailance by pushing the joystick forwards in the ” move out direction .The reversing sledge leads the strap through and under the pallet and back up again in the rear and over the pallet .
- Release the joystick when the chainlance moves over the package to the operators left hand side ( when the package is low ) . If the goods are high and more than 1.5 meters , when pushing the joystick in the forward direction , the operator should always be ready to catch the reversing sledge with his left hand to prevent the reversing sledge from falling and injuring or damaging the touch screen. Shown as picture . Do not let the chainlance drop onto the package ! As soon as you have caught the chain trace , immediately release the handle and keep the handle in the neutral ( middle ) position.

- Hold the front of strap with the left hand as shown , move the chainlance completely backwards by pushing the joystick backwards in the ” move in ” direction with the right hand . The strap lifter comes up automatically after the reversing sledge moves back into the machine.

- Use the sealing head to tighten and welded the strap
Note :The operating area should be kept clean and smooth during strap threading and packing.Never put your fingers through the chainlance.
Secure Movement and Parking
Moving the strapping machine system
The system can be pushed in an upright position with the two hand grips at the head of the frame plate(machine). For pushing it you must release the brakes of the two guide wheels at the disc side
Parking the system
After rolling machine system in position, you have to lock up the brakes of the two guide wheels to avoid that machine moving away accidentally . Furthermore , you have to make sure that the chain trace is completely drawn back in and that the power switch is off and no access for unauthorized persons.
General Safety Warnings for Power Tools
WARNING ! Save all warnings and instructions for future reference . The term ” power tool ” in the warming refers to your mains-operated (corded) power tool or battery-operated ( cordless ) power tool.
Work area safety
- Keep the work area clean and well lit . Cluttered or dark areas invite accidents.
- Do not operate power tools in explosive atmospheres , such as in the presence of flammable liquids , gases or dust . Power tools create sparks which may ignite the dust or fumes
- Keep children and bystanders away while operating a power tool.Distractions can cause you to lose control
Electrical safety
- Power tool plugs must match the outlet . Never modify the plug in any way.Do not use any adapter plugs with earthed ( grounded ) power tools.Unmodified plugs and matching outlets will reduce the risk of electric shock.
- Avoid body contact with earthed or grounded surfaces such as pipes ,radiators , ranges and refrigerators . There is an increased risk of electric shock if your body is earthed or grounded.
- Do not expose power tools to rain or wet conditions . Water entering a power tool will increase the risk of electric
- Do not abuse the power cord . Never uses the cord for carrying , pulling or unplugging the power tool . Keep the cord away from heat , oil , sharp edges or moving parts . Damaged or entangled cords increase the risk of electric shock .
- When operating a power tool outdoors , use an extension cord suitable for outdoor use . Use of a cord suitable for outdoor use reduces the risk of electric.
- If operating a power tool in a damp location is unavoidable , use are a residual current device ( RCD ) protected supply . Use of an RCD reduces the risk of electric shock.
Personal safety
- Stay alert , watch what you are doing and use common sense when operating a power tool . Do not use a power tool while you are tired or under the influence of drugs . alcohol or medication . A moment of inattention while operating power tools may result in serious personal injury.
- Use personal protective equipment . Always wear eye protection Protective equipment such as dust masks , nonskid safety shoes , hard hat , or hearing protection used for appropriate conditions will reduce personal injuries .
- Prevent unintentional starting . Ensure the switch is in the off-position before connecting to the power source and / or battery pack , picking up o carrying the tool . Carrying power tools with your finger on the switch or energizing power tools that has the switch on invites accidents
- Remove any adjusting key or wrench before turning the power tool on. A wrench or a key left attached to a rotating part of the power tool may result in personal Injury.
- Do not overreach . Keep proper footing and balance at all times . This enables better control of the power tool in unexpected situation.
- Dress properly . Do not wear loose clothing or jewellery . Keep your hair ,clothing and gloves away from moving parts Loose clothes , jewellery or long hair can be caught in moving parts.
- If devices are provided for the connection of dust extraction and collection facilities , ensure these are connected and properly used . Use of dust.
Power tool usage and maintenance
- Do not force the power tool. Use the correct power tool for your application. The correct power tool will do the job better and safer at the rate for which it was designed
- Do not use the power tool if the switch does not turn it on and off.Any power tool that cannot be controlled with the switch is dangerous and must be repaired.
- Disconnect the plug from the power source and / or the battery pack from the power tool before making any adjustments , changing accessories , or storing power tools . Such preventive safety measures reduce the risk of starting the power tool accidentally.
- Power tools should be out of the reach of children and do not allow persons unfamiliar with the power tool or these instructions to operate the power tool . Power tools are dangerous in the hands of untrained users .
- Maintain power tools . Check for misalignment or binding of moving parts , breakage of parts and any other condition that may affect the power tools operation . If damaged , have the power tool repaired before use . Many accidents are caused by poorly maintained power tools.
- Keep cutting tools sharp and clean . Properly maintained cutting tool sharp cutting edges are less likely to bind and are easier to control7 ) Use the power tool , accessories and tool bits etc in accordance with these instructions , taking into account the working condition the work to be performed . Use of the power tool for operations different from those intended could result in a hazardous situation.
Battery usage and maintenance
- Recharge only with the charger specified by the manufacturer . A charger that is suitable for one type of battery pack , when used with another battery pack may create a risk of fire .
- Use power tools only with specifically designated battery packs . Use of any other battery packs may create a risk of injury and fire.
- When the battery pack is not in use , keep it away from other metal objects ,like paper clips , coins , keys , nails , screws or other small metal objects , that can make a connection from one terminal to another . Shorting the batteryterminals together may cause burns or a fire .
- Under abusive conditions , liquid may be ejected from the battery please avoid contact with eyes . If contact accidentally occurs , flush with water . If liquid contacts eyes , additionally seek medical help . Liquid ejected from the battery may cause irritation or burns.
Maintenance of common faults
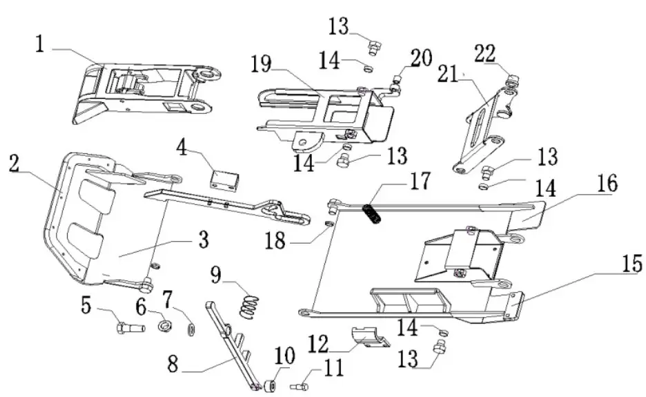
Reversing sledge


| Serial No. | Parts No. | Description | QTY | Remark |
| 1 | JD-22-A | Drawing head | 1 | Assembling unit |
| 2 | JD-37-A | Front glue | 1 | Nylon parts |
| 3 | JD-32-A | Front guide hoard | 1 | Assembling unit |
| 4 | JD-38-A | Spring pocket | 1 | Nylon parts |
| 5 | JD-19-A | Stud bolt | 1 | |
| 6 | JD-16-A | Shaft copper bush | 1 | |
| 7 | JD-18-A | Rod Spacer | 1 | |
| 8 | JD-17-A | Shaft | 1 | |
| 9 | JD-44-A | Shaft spring | 1 | |
| 10 | JD-20-A | Shaft guide pulley | 1 | |
| 11 | JD-21-A | Rod regulating bolt | 1 | |
| 12 | 0002-624 | Rod guiding wheel limit sleeve | 1 | |
| 13 | JD-42-A | Fixed bolt | 4 | |
| 14 | JD-41-A | 3.5mm lubrication bushing | 4 | |
| 15 | JD-40-A | Backside glue | 1 | Nylon Parts |
| 16 | JD-01-A | Body frame | 1 | Assembling unit |
| 17 | JD-45-A | Guide spring | 1 | |
| 18 | JD-39-A | 2.5mm Lubrication Bushing | 2 | |
| 19 | JD-13-A | Drawing head support | 1 | Assembling unit |
| 20 | JD-902-A | Angel Limit sleeve | 1 | |
| 21 | JD-09-A | Flip Joint | 1 | Assembling unit |
| 22 | JD-43-A | Limit step cover | 1 |
Drawing Head
Drawing head installation diagram


| Drawing head parts no. | Description | Qty. | Remark |
| JD-23-A | Drawing head body frame | 1 | Injection molded |
| JD-24-A | Drawing head pin | 4 | |
| JD-25-A | Eccentric cam A | 1 | |
| JD-29-A | Eccentric can B | 1 | |
| JD-30-A | Eccentric can retainer ring | 2 |
Tool-lift


| Serial No. | Parts No. | Description | QTY | Remark |
| 1 | C-16P | Pneumatic spring | 1 | Spring pressure at 90N |
| 2 | C-12 | Head metal cover | 1 | SUS material |
| 3 | C-11 | Quick Plug and pin | 1 | M12-06 |
| 4 | C-10 | Head frame vertical copper bush | 2 | |
| 5 | C-05C | Head frame horizontal copper bush | 2 | |
| 6 | C-07/C-08 | Head frame vertical Rotate metal parts | 1 | Welded integral |
| 7 | C-06 | M10 Fastener | 1 | |
| 8 | C-09 | Head frame horizontal rotate metal part | 1 | Welded integral |
| 9 | C-02 | Limit block bracket | 2 | |
| 10 | C-03 | VE rubber damper | 2 | M6 |
| 11 | C-19 | Nylon sheet | 2 | |
| 12 | C-13 | Nylon spacer | 1 | |
| 13 | C-18 | Head frame mounting base | 1 | Same body with frame |
| 14 | CP-15 | Slide mounting base | 1 | |
| 15 | C-22 | Double axis slider | 1 | |
| 16 | C-21 | Double axis guide rail | 1 | |
| 17 | 1 |
Replacing the chain ( The upper chain)
Turn on the machine and let chainlance back to the original point , Switch the “standard mode “ to “replace chain mode” . Push the joystick in the forward direction and pull the reversing sledge out about 1 meter .

Pull out the chain track of the system as shown and roll it up

Push the new chain in the opposite direction ( note the number of new chain , the correct number is 210 ) . When pushing about two meters , it is clearly felt that the chain is occluded with the main machine gear , and then start up and adjust the equipment to ” changing chain mode ” . Then press the joystick in the forward or backward direction until the chain is fully retracted into the machine
Replacing the chain ( The lower chain)
- Turn on the machine and set the chain track back to the original point Switch the machine mode to ” chain replacing mode ” And set the pallet distance pull out the reversing sledge to the maximum , After closing the main switch / onto the maximum ( generally 2 meters ) . Press the joystick in the forward direction.
- Take back the lower chain , make sure the upper chain is rolled up or takeout the upper chain in advance , and put back the upper chain after the lower chain is installed.
- After the front of the new chain is connected with the reversing sledge ,Pushing the new chain back to the inside of the machine body about 1.5 meters according to the track slot in the opposite direction . And start the machine and switch to chain changing mode in the slow speed mode , then press the joystick in the forward or backward direction until chain is fully retracted into the machine

Service and warranty matters
Repair your power tools by qualified maintenance personnel using the same replacement parts . This will ensure that the safety of power tools is maintained.
The equipment shall be guaranteed for one year.
In case of any of the following circumstances during the use of the product , the company shall not assume warranty obligations
- Product damage caused by use in violation of the operating Instructions.
- Damage caused by improper installation or assemble.
- Damage caused by exceeding the operating environment .
- Damage caused by unauthorized demolition , modification and maintenance.
- Product damage caused by abnormal external force.
- Product damage caused by natural disasters or other force majeure.
For quality problems caused within the warranty scope , the company shall only be responsible for the product itself , and shall not assume extension responsibilities.
Packing list
| Packing List for Tool Box | |||
| Tool description | Specification | QTY | Remark |
| Open Spanner | 5.5-7 | 1 | |
| Open Spanner | 8-10 | 1 | |
| Open Spanner | 11-13 | 1 | |
| Open Spanner | 12-14 | 1 | |
| Screw Driver | cross | 1 | |
| Screw Driver | straight | 1 | |
| Screw Driver | Diameter 3.0 | 1 | Straight /cross can be shared |
| Allen Wrench | 1.5-8 | 1 | |
| Tool Box/bag | 12/14 inch | 1 | |






























