Danfoss FIA 15-200 Strainer

Refrigerants
Applicable to HCFC, HFC, R717 (Ammonia), R744 (CO2) and all flammable refrigerants. The strainer is only recommended for use in closed circuits. For further information please contact your local Danfoss sales office.
Pressure and temperature range
–60/+150 °C (– 76/ + 302 °F) FIA 15-200: The strainers are designed for a max. working pressure of 52 bar (754 psi g)+
Installation
Note:
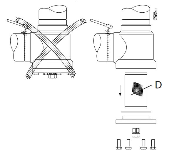
At delivery the strainer housing is not equipped with strainer insert or accessories. The strainer must be installed with the top cover downwards, and the flow must be directed towards the top cover as indicated by the arrow on the strainer housing (fig. 1). The strainer insert must be inserted after welding. The strainer housing is designed to withstand a high internal pressure. However, the piping system should be designed to avoid liquid traps and reduce the risk of hydraulic pressure caused by thermal expansion. It must be ensured that the strainer is protected from pressure transients like “liquid hammer” in the system.
Recommended flow direction
The strainer must be installed with the flow towards the top cover as indicated by the arrow on the side of the valve body (fig. 1). Flow in the opposite direction is not acceptable.
Welding
The top cover should be removed before welding (fig. 2) to prevent damage to the gasket between the strainer housing and top cover. Only materials and welding methods compatible with the valve housing material, must be applied to the valve housing. Clean the strainer housing internally to remove welding debris at completion of welding and before the strainer is reassembled. Removing the top cover can be omitted provided that:
The temperature in the area between the strainer housing and top cover during welding does not exceed +150 °C/+302 °F. This temperature depends on the welding method as well as on any cooling of the strainer housing during the welding itself. (Cooling can be ensured by, for example, wrapping a wet cloth around the filter body). Make sure that no dirt, welding debris etc. get into the strainer during the welding procedure.The strainer housing must be free from stresses (external loads) after installation. Strainers must not be mounted in systems where the outlet side of the strainer is open to atmosphere. The outlet side of the strainer must always be connected to the system or properly capped off, for example with a welded-on end plate.
Assembly
Remove welding debris and any dirt from pipes and strainer housing before assembly. Check that the strainer insert has the right size before it is inserted in the top cover and check that the gasket is undamaged. Place the strainer insert (pos. D) from underneath. The insert has a slight force fit into the housing, no gaskets or O-rings are used. If magnet inserts have been chosen as accessory, fit those on the top cover before replacing the cover.
Tightening
Tighten the top cover with a torque wrench, to the values indicated in the table (fig. 3). Please note that the table (fig. 3)
containing maximum torque must be adhered to and never exceeded. If the drain valve has been chosen as accessory, the drain plug should be replaced by the drain valve.
Colours and identification
The FIA strainers are painted with a red oxide primer in the factory. Precise identification of the strainer is made via the ID plate on the top cover, as well as by the stamping on the strainer housing. The external surface of the strainer housing must be prevented against corrosion with a suitable protective coating after installation and assembly.
Be sure to protect the ID plate when repainting the strainer.
Maintenance
| Nm | LB-ft | |
| DN 15-20 | 21 | 15 |
| DN 25-32-40-50 | 44 | 32 |
| DN 65 | 74 | 54 |
| DN 80 | 44 | 32 |
| DN 100 | 75 | 53 |
| DN 125-150 | 183 | 135 |
| DN 200-300 | 370 | 272 |
Mounting of accessory: Filter bag
A 50μ filter bag (pos. E), especially for commissioning of the plant, can replace the normal strainer insert.
Mount the filter bag (held in place by the filter holder) and be sure to place the filter bag correctly in the strainer as shown in fig. 4.
The flow must go into the filter bag cavity and out or else the bag will not function properly.
Dismantling the strainer 
Before servicing the strainer, isolate it from the system and remove all refrigerant by evacuation to zero pressure. Check for refrigerant pressure before unscrewing and removal of the top cover. The strainer insert must be removed without any use of tools.
Cleaning
Clean the strainer insert using an appropriate solvent by flushing and brushing. The use of strong acids cannot be recommended. The strainer insert must be wiped or blown dry before inspection. If the insert is damaged or the sediments cannot be removed, the strainer insert must be replaced.
Assembly
Remove any dirt from the housing before the strainer is assembled.
Replacement of gasket
Change the gasket for the top cover (pos. C) and drain plug. Check that the strainer insert is correctly placed before remounting the top cover and bolts (pos. A).
Tightening
Tighten the top cover bolts (pos. A) with a torque wrench according to the table in fig. 3 Use only original Danfoss parts (including gaskets) for replacement. Materials of new parts are certified for the relevant refrigerant. In cases of doubt, please contact your local Danfoss sales office.
Climate Solutions danfoss.com
+45 7488 2222 Anu Any information, including, but not limited to information on selection of product, its application or use, product design, weight, dimensions, capacity or any other technical data in product manuals, catalogues descriptions, advertisements, etc. and whether made available in writing, orally, electronically, online or via download, shall be considered informative, and is only binding if and to the Danfoss reserves the right to alter its products without hotice. This also applies to products ordered but not delivered provided that such afterations can be made without changes to form, fit or extent, explicit rererence is made in a quotation or order connrmation. Dantoss cannot accept any responsibilty tor posSible errors in catalogues, brochures, videos and other material. All trademarks in this material are property of Danfoss A/S or Danfoss group companies. Danfoss and the Danfoss logo are trademarks of Danfoss A/S. All rights reserved.




















