Owner′s Manual

USERS INSTRUCTION
Instruction For Use
This set includes 2 PACK walkie-talkies: there are communication devices that operate on mobile radio frequencies 462/467MHZ. They come with 8 channels as well as a back-lit LCD screen, enabling you to communicate over several kilometers free of charge (up to 5 Km in open areas).
Note: Please read the user manual carefully before using the equipment and retain it for future consultation!
Specific Recommendations
- If you carry any kind of personal medical device, please consult a doctor before use.
- To avoid the risk of burns, do not use the device if the aerial is damaged in any way.
- Don does not use the device in a potentially explosive setting(e.g. Around pumps, on the lower deck of a boat, or around a fuel-storage installation or chemical products.
- Switch off the device if on an airplane or in a hospital.
- Never use the device in close proximity to a radio that avoids interference.
- Remove the batteries if the device is not used for an extended period of time. Never mix used and new batteries.
- Position the transmitter and antenna at least 5cm from your face. Direct the antenna upwards and speak normally.
- Clean the device with a damp cloth. Don’t use agents and solvents for cleaning.
- Do not modify the device in any way. In the event of damage occurring, ensure that the device is checked by a qualified professional.
- The device cannot be used to contact emergency services.
PIC 01

PIC 02

Key DESCRIPTION(Pic01, 02)
- Antenna
- RX icon %/1 -Displayed when receiving TX icon ‘As -Displayed when transmitting
- Volume level indicator
- Adjustor button Up(s)
- Adjustor button Down(Y)
- On/off/MENU button()
- Loudspeaker 8.Microphone
- Call button (CALL) /TALK
- Battery level indicator
- VOX indication
- Scanning indication: Displayed during scan mode
- Channel/Menu item indication
- CTCSS/Menu option -value
- Lamp Button 16.Lamp
- Belt attachment clip
- Belt attachment
- Batteries(not supplied)
- Battery compartment
Before Use the device
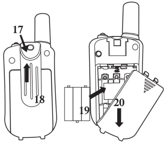
3.1 Removing the belt clip
Before inserting batteries into the device, first, remove the belt clip latch away from the device.
3.2 Installing the Batteries and charging the device
- Slid down the battery compartment cover.
- Insert 3* AAA Rechargeable battery each walkie-talkie
- Position the batteries according to the polarity making on the battery compartment.
- After placing batteries into correct positions, replace the battery cover.
- When the device is low battery power, connect the USB cable to recharge the device. The full charging time is about 6 hours.
Using the device
4.1 Turning the device on/off
Switch on the device: Press and hold on the (
) for 3 seconds then you will hear a beep sound.
Switch off the device: Press and hold on the (
)3 seconds then you will hear a beep sound.
4.2 Adjusting the volume
To increase the volume, press the Up
button. And press the Down
button to decrease the volume.
Note: The volume level is displayed on the screen.
4.3 Low Battery Indication
The device can detect a low battery level when the battery voltage goes low. When the battery voltage is low, the battery icon will flash and a beep will be heard to indicate that the batteries need to be replaced.
4.4 Receiving/transmitting communications:
The devices are in “Reception” mode when it is turned ON and no transmitting. When a signal is received on the current channel, the LCD will display in reception.
When you press the PTT (push to talk) button, the device switches to “Transmission” mode.
Hold the device in a vertical position with the Mic(microphone) 3-5cm away from your mouth. While holding the PTT button, speak into the microphone in a normal tone of voice.
Release the PTT button when you have finished transmitting. For others to receive your transmission, they must be on the same channel as you.
Note: 1, The talking range will depend on your surroundings and environment. It will be affected by obstructions such as hills or buildings.
2, Don’t try to use two devices that are less than 1.5m (5 feet) apart. Otherwise, you may experience interference.
4.5 Changing Channels
Press the MENU button one time, the channel number will flash on the display.
Press the up
down
button to change the channel. Press the PTT button to confirm and return to standby mode.
Note: If no button is pressed within 15 seconds during setting, the device will return to standby mode.
4.6 CTCSS (Continues Tone Coded Squelch System)
Press the MENU button twice, the current CTCSS code will flash on the display. Press the Up
/down
button to change the 38 available codes.
Press the PTT button to confirm and return to standby mode. License-free radios operating on the 400-470MHZ frequency band, the device has 8 available radio channels. If there are many device users near you, there is a chance that some of the users are operating on the same radio channel.
When using CTCSS, a low-frequency tone (between 67-250Hz) will be transmitted along with the voice signal. There are 38 available tones to choose from.
You are free to choose one of the 38 available sub-channels. Due to filtering, these sub-channels will generally not be audible so they will not disturb the communication.
4.7 VOX (Hands-free function)
Press the MENU button three times, the current VOX setting will flash on the display and the VOX icon will display,
Press the UP
button to set the VOX sensitivity level between 1 and 3 levels (level 3 is the highly sensitive level).
Press the down
button until “OF” appears on the display to turn VOX OFF.
Press the PTT button to confirm and return to standby mode. In VOX mode, the radio will transmit a signal when it is activated by your voice or another sound around you. VOX Operation is not recommended if you plan to use your device in a noisy or windy environment.
Note: VOX mode will be overridden when you press the PTT button.
4.8 Scanning for an active radio channel
Press and hold the UR button for 2 seconds: The “SCAN” function indicator will appear on the display and the channel will scan continuously from 1 to 8. Once an active channel is found, the scanning will stop and you can listen to the transmission. When the transmission is on the found channel stop, the scanning will resume automatically. Note: If you press the PTT button while listening to a found channel, the device will go back to standby mode on the found channel.
4.9 Monitor
Press and hold the DOWN
button for about 3 seconds to active monitor. Release the DOWN
button return to standing by mode.
4.10 Setting the Call tones
The device has 10 call tones. Press the MENU button 4 times, “CA” is displayed on the current call tone. Press the UP
/D own
button to change another call tone. Press the PTT button to confirm and return to standby mode.
4.11 Sending a call tone
Press the PTT button one time quickly, the call tone will be transmitted on the setting channel.
4.12 Key Tone On/Off
You can on/off the key tone when pressing the buttons. Press the MENU button 5 times, “KO” will be displayed. Press the UP
/Down
button to disable the key tone ON/OFF. Press The PTT button to confirm your selection and return to standby mode.
4.13 Roger Beep On/Off
After the PTT button is released, the device will send out a roger beep to confirm that has stopped talking. Press the MENU button 6 times, “RO” will be displayed. Press the UP
/Down
button to disable the roger beep ON/OFF. Press The PTT button to confirm your selection and return to standby mode.
4.14 Backlit display
Press any button except for the MENU button to activate the backlight of the LCD display. The backlight will light on for about 5 seconds.
4.15 Battery saving function
When the device has not been used for 6 seconds, the economy mode is automatically activated. This does not affect the reception of transmission and the standby mode is automatically re-activated as soon as a signal is detected.
4.16 Built-in Flashlight
Your device has a built-in flashlight that can be used in sending light signals or for our lighting needs.
Technical specifications
| Frequency Channel number Sub-code Range Modulation type | 462.5500,‘,467.7125MHz 22 channels CTCSS 38 Up to 5 Km in open fields FM-F3E |
Channel and Frequency (MHz) USA(22CH)
| Ch. Frequency | Ch. | Frequency | Ch. | Frequency | Ch. Frequency | ||
| 1 | 462.5625 | 7 | 462.7125 | 13 | 467.6875 | 19 | 462.6500 |
| 2 | 462.5875 | 8 | 467.5625 | 14 | 467.7125 | 20 | 462.6750 |
| 3 | 462.6125 | 9 | 467.5875 | 15 | 462.5500 | 21 | 462.7000 |
| 4 | 462.6375 | 10 | 467.6125 | 16 | 462.5750 | 22 | 462.7250 |
| 5 | 462.6625 | 11 | 467.6375 | 17 | 462.6000 | ||
| 6 | 462.6875 | 12 | 467.6625 | 18 | 462.6250 | ||
FCC Warning:
Any changes or modifications not expressly approved by the party responsible for compliance could void the user’s authority to operate the equipment.
This device complies with part 15 of the FCC Rules. Operation is subject to the following two conditions: (1) This device may not cause harmful interference, and (2) this device must accept any interference received, including interference that may cause undesired operation.
Note: This equipment has been tested and found to comply with the limits for a Class B digital device, pursuant to part 15 of the FCC Rules. These limits are designed to provide reasonable protection against harmful interference in a residential installation. This equipment generates, uses, and can radiate radio frequency energy and, if not installed and used in accordance with the instructions, may cause harmful interference to radio communications. However, there is no guarantee that interference will not occur in a particular installation. If this equipment does cause harmful interference to radio or television reception, which can be determined by turning the equipment off and on, the user is encouraged to try to correct the interference by one or more of the following measures:
—Reorient or relocate the receiving antenna.
—Increase the separation between the equipment and receiver.
—Connect the equipment into an outlet on a circuit different from that to which the receiver is connected.
—Consult the dealer or an experienced radio/TV technician for help.
Safety Information for
Radios Your wireless handheld portable transceiver contains a low-power transmitter. When the talk button is pushed, it sends out radio frequency (RF) signals. The device is authorized to operate at a duty factor not to exceed 50%. In August 1996, the Federal Communications Commissions (FCC) adopted RF exposure guidelines with safety levels for handheld wireless devices.
Important
FCC RF Exposure Requirements: For body-worn operation, this radio has been tested and meets the FCC RF exposure guidelines when used with accessories supplied or designated for this product. The use of other accessories may not ensure compliance with FCC RF exposure guidelines. Use only the supplied antenna. Unauthorized antennas, modifications, or attachments could damage the transmitter and may violate FCC regulations.
Normal Position
Hold the transmitter approximately 25 mm from your face and speak in a normal voice, with the antenna pointed up and away.


















