INSTALLATION AND
OPERATING INSTRUCTIONS
INFRARED DIGITAL
REMOTE CONTROL
BXERCIRDIMHA
BXERCIRDIMHGA

PACK CONTAINS

FIRST COMMISSIONING
Pull on the suction located at the back of the remote control.
Ambient temperature is displayed, the remote control is on.

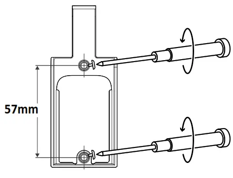
WALL MOUNTING
- Fix the base into the wall (centre distance of 57mm).

- Slide the remote control in the base.

OPERATING
OVERVIEW

Note: the buttons , and have the same features as the buttons on the heating appliance to be remotely controlled.
Please refer to its user guide.
USING
Position the remote control towards the infrared receiving window of the device.
Check that there is no obs- tacle between the remote control and the infrared receiver to disturb the transmission.

REPLACING BATTERIES
2 batteries 1.5V LR06 are located in the compartment at the back of the remote control. Battery life of 2 years, it varies according to the mode of use.
They must be replaced by 1.5V LR06 batteries, Alcaline only.
Remember to take used batteries to battery collection points so they can be recycled.
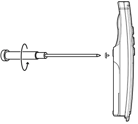
- Unscrew the batteries cover located at the back of the remote control.

- Remove the old batteries and insert the new batteries in the remote control.Please check polarity of batteries before insertion.

- Put back the batteries cover and screw back on the remote control.

TROUBLESHOOTING
Pressing a key on the keypad has no effect:
- Change the 2 batteries.
- Check there is no obstacle between the remote control and the in- frared receiver to disturb the transmission.
- Position the remote control toward the infrared receiver (see Using).
- Bring the remote control closer to the infrared receiver.
TECHNICAL SPECIFICATIONS
General specifications
- Power supply 2 alkaline batteries LR6 1.5V
- Typical lifetime: 2 years
- Adjustment of the setting temperature from +10°C to +30°C around
- Emission range: around 3 meters
Environment
- IP20
- Operating temperature: 0°C to 50°C
- Storage temperature: -10°C to +70°C
- Humidity: 90% to +40°C (without condensation)
Manufactured by:
IMHOTEP création ([email protected]).
Compliance statement:
We hereby declare under our sole responsibility that the products described in these instructions comply with the provisions of Directives and harmonized standards listed below:
- EMC 2014/30/EU: EN60730-1/ EN60730-2-9 and are manufactured using processes which are certified ISO 9001 V2015.
- RoHS 2011/65/EU, amended by Directives 2015/863/EU and 2017/2102/EU : EN IEC 63000:2018
The symbol
affixed on the product indicates that you must dis- pose of it at the end of its useful life at a special recycling point, in accordance with European Directive WEEE 2012/19/EU. If you are replacing it, you can also return it to the retailer from which you buy the replacement equipment. Thus, it is not ordinary household waste. Recycling products enables us to protect the environment and to use less natural resources.
























