Elroy 5-Light Black-Brass Modern-Contemporary Chandelier
Item Number: A04555
Instruction Manual
A04555 Elroy 5-Light Black-Brass Modern-Contemporary Chandelier
WARNING (To reduce the risk of fire, electric shock, or personal injury):
- We suggest installation by a licensed electrician.
- Please read the instruction carefully and save it as you may need it at a later time.
- Before you start, NEVER attempt any work without shutting off the electricity until the work is done.
» Go to the main fuse, or circuit breaker, box in your home. Place the main power switch in the “OFF” position.
» Place the wall switch in the “OFF” position. - Mounting surface should be clean, dry, flat, strong enough and 1/4” larger than the canopy on all sides. Any gaps between the mounting surface and canopy exceeding 3/16” should be corrected as required.
- Make sure that the ceiling or wall can stand the weight of the lamp before installation.
- Make sure the voltage you are using is 120V. The maximum wattage is 10W per bulb(Bulb not included).
- Keep the lamp away from acidic and alkaline substances in case of damaging the surface of the lamp.
- When replacing bulbs, you should turn off or unplug the lamp and you must wait until it is cool as bulbs get hot quickly.
- The safety instructions appearing in this manual are not meant to cover all possible conditions that may occur. It must be understood that common sense, caution and care must be used with any electrical products.
IMAGE FOR FINISHED PRODUCT

TOOLS REQUIRED (NOT INCLUDED):
Before starting assembly and installation please prepare the needed tools as below picture

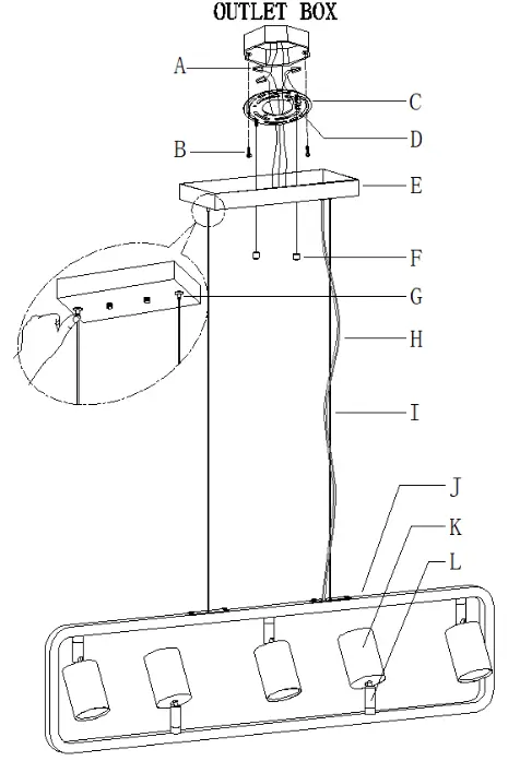
PARTS TYPE & QTY INCLUDING:
(C) Mounting plate (1)
(D) Green ground screw (1)
(E) Canopy (1)
(F) Knob nut (2)
(G) Lock nut (2)
(H) Cable (1)
(I) Steel wire (2)
(J) Fixture body (1)
(K) Socket (5)
(L) Swivel joint (5)
ACCESSORIES & QTY ENCLOSED:
(A) Plastic wire connector (3)
(B) Mounting screw (2)

ASSEMBLY & INSTALLATION INSTRUCTIONS:
- Carefully remove the fixture from the carton and check that all parts and accessories are included as shown in the above illustration.
- Turn off power
Before you start the installation, NEVER attempt any work without shutting off the electricity until the work is done.
» Go to the main fuse, or circuit breaker, box in your home. Place the main power switch in the “OFF” position.
» Place the wall switch in the “OFF” position. - Unscrew knob nuts (F) from canopy (E) then remove mounting plate (C).

- Attach mounting plate (C) to the outlet box with mounting screws (B).
- If needed, shorten the extra length of the fixture wires from cable (H) so that they all are at least 6 inches (152.4 mm) long above canopy (E) within the outlet box.

- Make wire connections
Connect wires as below wires connection shown. PLEASE NOTE THAT GROUND WIRE IS BARE COPPER WIRE, NEVER CONNECT OTHER WIRES TO GROUND WIRES.
Connect ground wires according to the below chart
Connect wires according to the below chartConnect Black or Red Supply Wire to: Connect White Supply Wire to: Black White *Parallel cord ( round & smooth) *Parallel cord ( square & ridged ) Clear,Brown,Gold or Black without tracer Clear,Brown,Gold or Black with tracer Insulated wire ( other than green) with copper conductor Insulated wire ( other than green ) with silver conductor *Note: When parallel wires ( SPT I & SPT II ) are used. The neutral wire is square shaped or ridged and the other wire will be round in shape or smooth ( see illus.)
Twist wires together with plastic wire connectors until tightly joined, and wrap each connector with approved electrical tape. Be sure that no wire strands are exposed and then carefully tuck all wires into the outlet box. - Raise canopy (E) to the ceiling and secure canopy (E) in place by tightening knob nuts (F) onto the preassembled screws in mounting plate (C).
Note: canopy (E) should be snug against the ceiling and knob nuts (F).
If not, adjust the threaded length on mounting plate assembly (C):
• first, unscrew the preassembled hex nuts;
• then, screw the preassembled screws in or out of mounting plate (C);
• when the secure length is achieved, tighten the hex nuts and back to step 7. - 1) To adjust the hanging height of the fixture:
● press down and hold lock nuts (G) by hand;
● pull or push steel wires (I) in and out of canopy (E) to increase or decrease the hanging height.
2) To adjust the direction of lights:
● adjust sockets (K) up and down within 90 degrees.
Check everything is already installed properly, then you could turn on the light. Enjoy!
ORDERING PARTS
Keep this sheet for future reference in case you need to order replacement parts. All parts for this fixture canbe ordered from the place of purchase. Be sure to useexact wording from illustration when ordering parts.
CLEANING
To clean, wipe the fixture with a soft cloth. Do not use abrasive materials such as scouring pads or powders, steel wool or abrasive paper.
www.ihomeangel.com
+1 850 296 2377 Working hours : Mon Fri 9:00 a.m. 16:00 p.m. EST
[email protected]


Connect wires according to the below chart
Twist wires together with plastic wire connectors until tightly joined, and wrap each connector with approved electrical tape. Be sure that no wire strands are exposed and then carefully tuck all wires into the outlet box.
Note: canopy (E) should be snug against the ceiling and knob nuts (F).
Check everything is already installed properly, then you could turn on the light. Enjoy!


















