2019/06-1

![]()
![]()
www.hoftronic.com
SKU:445475/445482/445499/446403/446410/446427
HOFTRONIC, Distributed by
HOF Trading B.V.
Graafschap Hornelaan 137A 6001 AC, Weert The Netherlands
INTENDED USE / APPLICATION
Product designed for the use in households and for other similar general applications.
MOUNTING
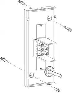
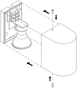
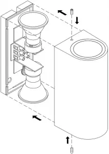
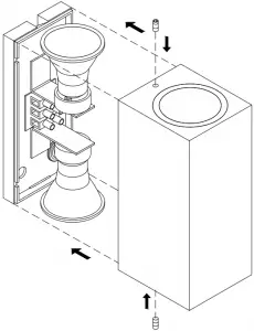
Technical changes reserved. Read the manual before mounting. Mounting should be performed by an appropriately qualified person. Any activities to be done with disconnected power supply. Exercise particular caution. Product has a protective contact/terminal. Failure to connect the protective lead may lead to electric shock. Mounting diagram: see pictures block [A]. Check for proper mechanical fastening and connection to electrical power prior to first use. The product can be connected to a supply network which meets energy quality standards as prescribed by law. Use appropriate diameters of the power leads. To maintain the proper IP protection level, the right diameter of the power cable should be selected for the cable gland used in the product.
FUNCTIONAL CHARACTERISTICS
Product can be used either indoors or outdoors.
USAGE GUIDELINES / MAINTENANCE
Any maintenance work must be done when the product is disconnected from power supply. Do not cover the product. Product may heat up to a higher temperature. The light source becomes heated to a high temperature. Replacement of light source to be performed after the product cools down: see pictures. It’s forbidden to use the product with damaged protective cover. The construction of the product offers no resistance to specific conditions, e.g. due to the presence of defrosting substances and salt atmosphere.
ENVIRONMENTAL PROTECTION
Keep your environment clean. Segregation of post-packaging waste is recommended.
This labelling indicates the requirement to selectively collect waste electronic and electrical equipment. Products labelled in this way must not be disposed of in the same way as other waste under the threat of a fine. These products may be harmful to the natural environment and health, and require a special form of recycling/ neutralising. Information on collection centres is provided by local authorities or sellers of such goods. Used items can also be returned to the seller when new product is purchased, in quantity no larger than the purchased item of the same type. The above rules regard the EU area. In the case of other countries, regulations in force in a given country must be applied. Contacting the distributor of our products in a given area is recommended.
COMMENTS/GUIDELINES
Failure to follow these instructions may result in e.g. fire, burns, electrical shock, physical injury and other material and non-material damage. For more information about Hoftronic products visit www.hoftronic.com
Hoftronic shall not be responsible for any damage resulting from the failure to follow these instructions. Hoftronic reserves the right to make changes in the manual – the current version can be downloaded at www.hoftronic.com.
www.hoftronic.com
SKU:445475/445482/445499/446403/446410/446427 ![]()




![]()
1

![]()
2


![]()
3


![]()
4

![]()
5

6





















