PRO-FORM Carbon Strength Olympic System

| Model No. PFBE29920.0 Serial No._____________ Write the serial number in the space above for reference. ![]() |
| ACTIVATE YOUR WARRANTY |
| To register your product and activate your warranty today, go to my.proform.com. |
| CUSTOMER CARE |
| For service at any time, go to support.proform.com. Or call 1-888-533-1333 Mon.–Fri. 6 a.m.–6 p.m. MT Sat. 8 a.m.–12 p.m. MT Please do not contact the store. |
Read all precautions and instructions in this manual before using this equipment. Keep this manual for future reference |
WARNING DECAL PLACEMENT
The decals shown here have been applied to the weight bench. If a decal is missing or illegible, call the telephone number on the front cover of this manual and request a free replacement decal. Apply the decal in the location shown. Note: The decals may not be shown at actual size.

IMPORTANT PRECAUTIONS
WARNING: To reduce the risk of serious injury, read all important precautions and instructions in this manual and all warnings on the weight bench before using the weight bench.
ICON assumes no responsibility for personal injury or property damage sustained by or through the use of this product.
- It is the responsibility of the owner to ensure that all users of the weight bench are adequately informed of all precautions.
- Before beginning any exercise program, consult your physician. This is especially important for persons over the age of 35 or persons with pre-existing health problems.
- The weight bench is not intended for use by persons with reduced physical, sensory, or mental capabilities or lack of experience and knowledge, unless they are given supervision or instruction about the use of the weight bench by someone responsible for their safety.
- Use the weight bench only as described in this manual.
- The weight bench is intended for home use only. Do not use the weight bench in any commercial, rental, or institutional setting.
- Keep the weight bench indoors, away from moisture and dust. Place the weight bench on a level surface, with a mat beneath it to protect the floor or carpet.
- Make sure that there is enough clearance around the weight bench for the exercises that you will do.
- If you will use resistance bands (not included) with the rack, bolt the rack to the floor using the holes in the bases (see page 6 to identify the bases).
- Inspect and properly tighten all parts each time the weight bench is used. Replace any worn parts immediately.
- Keep children under age 16 and pets away from the weight bench at all times.
- Wear appropriate clothes while exercising; do not wear loose clothes that could become caught on the weight bench. Always wear athletic shoes for foot protection.
- Keep hands and feet away from moving parts.
- Make sure that the adjustment knobs and the curl knob are fully engaged before you use the weight bench.
- The weight bench is designed to support a maximum user weight of 300 lbs. (136 kg). Do not place more than 100 lbs. (45 kg) of weight, including a barbell, on the curl frame. Do not place more than 310 lbs. (141 kg) of weight, including a barbell, on the weight rests. Do not place more than 150 lbs. (68 kg) of weight on each weight tube. Note: See page 6 and page 7 to identify the curl frame, the weight rests, and the weight tubes. The weight bench does not include weight plates or a barbell.
- Over exercising may result in serious injury or death. If you feel faint, if you become short of breath, or if you experience pain while exercising, stop immediately and cool down.

BEFORE YOU BEGIN
Thank you for selecting the versatile PROFORM® CARBON STRENGTH OLYMPIC SYSTEM weight bench. The weight bench is designed to be used with your weights (not included) to offer a selection of exercises designed to develop the major muscle groups of the body.
Whether your goal is to tone your body, build dramatic muscle size and strength, or improve your cardiovascular system, the weight bench will help you to achieve the specific results you want.
For your benefit, read this manual carefully before using the weight bench. If you have questions after reading this manual, please see the front cover of this manual. To help us assist you, note the product model number and serial number before contacting us. The model number and the location of the serial number decal are shown on the front cover of this manual.
Before reading further, please review the drawing below and familiarize yourself with the parts that are labeled.

Note: The terms “right” and “left” are used relative to a person sitting on the weight bench; they do not refer to right and left on the drawings in this manual.

PART IDENTIFICATION CHART
Use the drawings below to identify the small parts needed for assembly. The number in parentheses below each drawing is the key number of the part, from the PART LIST near the end of this manual. The number following the key number is the quantity needed for assembly. Note: If a part is not in the hardware kit, check to see whether it has been preassembled. Extra parts may be included.



ASSEMBLY
|
- Go to my.proform.com on your computer and register your product.
• documents your ownership
• activates your warranty
• ensures priority customer support if assistance is ever needed
Note: If you do not have internet access, call Customer Care (see the front cover of this manual) and register your product.
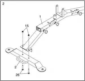
- Attach the Front Stabilizer (2) to the Bench Frame (1) with two M10 x 65mm Carriage Bolts (26) and two M10 Locknuts (15); do not tighten the Locknuts yet

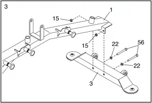
- Attach the Rear Stabilizer (3) to the Bench Frame (1) with two M10 x 95mm Bolts (56), two M10 Washers (22), and two M10 Locknuts (15).
See step 2. Tighten the M10 Locknuts (15).
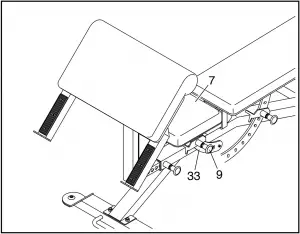
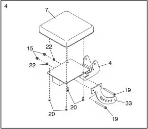
- Attach the Seat Bracket (33) to the Seat Frame (4) with two M10 x 100mm Bolts (19), two M10 Washers (22), and two M10 Locknuts (15); do not tighten the Locknuts yet.
Then, attach the Seat (7) to the Seat Frame (4) with four M6 x 25mm Screws (20); start all four Screws, and then tighten them.
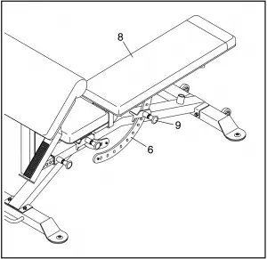
- Attach the Backrest Bracket (6) to the Backrest Frame (5) with two M10 x 105mm Bolts (28), two M10 Washers (22), and two M10 Locknuts (15); do not tighten the Locknuts yet.
Then, attach the Backrest (8) to the Backrest Frame (5) with two M6 x 25mm Screws (20), an M6 x 70mm Screw (24), and an M6 Washer (25); start all three Screws, and then tighten them.
- Pull the indicated Knob (9), insert the Backrest Bracket (6) through the rear bracket (A) on the Bench Frame (1), and then release the Knob into one of the adjustment holes in the Backrest Bracket.
See the inset drawing. Tighten an M6 x 10mm Screw (35) into the small hole in the end of the Backrest Bracket (6).
- Pull the indicated Knob (9), insert the Seat Bracket (33) through the front bracket (B) on the Bench Frame (1), and then release the Knob into one of the adjustment holes in the Seat Bracket.
See the inset drawing. Tighten an M6 x 10mm Screw (35) into the small hole in the end of the Seat Bracket (33).
- Using a plastic bag to keep your fingers clean, apply some of the included grease to an M12 x 130mm Bolt (17).
Insert the M12 x 130mm Bolt (17) through the Bench Frame (1), the Seat Frame (4), and the Backrest Frame (5) as shown. Then, tighten an M12 Locknut (16) onto the Bolt. Do not overtighten the Locknut; the Seat Frame and the Backrest Frame must pivot freely.
See steps 4 and 5. Fully tighten the M10 Locknuts (15).
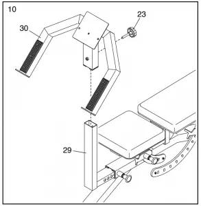
- Pull the indicated Knob (9), insert the Curl Post (29) into the Bench Frame (1), and then release the Knob into one of the adjustment holes in the Curl Post.

- Slide the Curl Frame (30) onto the Curl Post (29). Then, insert the Curl Knob (23) into the Curl Frame and into one of the adjustment holes in the Curl Post, and tighten the Curl Knob.

- Attach the Curl Pad (34) to the Curl Frame (30) with two M6 x 25mm Screws (20).

- Insert two M10 x 90mm Carriage Bolts (50) and an M10 x 95mm Carriage Bolt (53) upward through a Base (47) as shown.
Next, set an Upright (36) onto the M10 x 90mm Carriage Bolts (50), and attach the Upright with two M10 Locknuts (15); do not tighten the Locknuts yet.
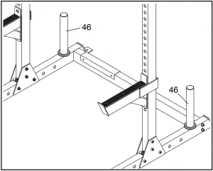
Next, tighten a Weight Tube (46) onto the M10 x 95mm Carriage Bolt (53).
Then, slide a Weight Bumper (38) onto the Weight Tube (46).
Repeat this step with the other Base (47), Upright (36), Weight Tube (46), and Weight Bumper (38).
- Orient the Crossbar (37) so that the small holes (C) are in the position shown.
Attach the Crossbar (37) to one of the Bases (47) with two M10 x 70mm Screws (51) and two M10 Washers (22); do not tighten the Screws yet.
Attach the Crossbar (37) to the other Base (not shown) in the same way.
Then, tighten all four M10 x 70mm Screws (51) (only two are shown).
See the inset drawing. Attach the Crossbar Cover (39) to the Crossbar (37) with two M8 x 65mm Bolts (52) and two M8 Locknuts (54).
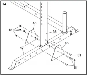
- Attach two Support Plates (45) to the left Base (47) and to the left Upright (36) with four M10 x 70mm Bolts (51) and four M10 Locknuts (15); start all four Locknuts, and then tighten them.
Attach the other two Support Plates (not shown) to the right Base (not shown) and to the right Upright (not shown) in the same way.
See step 12. Tighten the M10 Locknuts (15).
- Identify the Left Weight Rest (42), insert it into one of the holes in the left Upright (36), and rotate it so that it is wrapped around the Upright.
Next, identify the Left Spotter (43), and attach it to the left Upright (36) in the same way.
Attach the Right Weight Rest (40) and the Right Spotter (41) to the right Upright (36) in the same way.
Make sure that both Weight Rests (40, 42) are at the same height and that both Spotters (41, 43) are at the same height.
- Insert a Band Anchor (44) through one of the holes in the left Base (47). Then, slide a Large Washer (55) onto the Band Anchor, and insert a Cotter Pin (49) through the Band Anchor.

Attach the other Band Anchor (not shown) to the right Base (47) in the same way. - Make sure that all parts are properly tightened before you use the weight bench. The use of all remaining parts will be explained in ADJUSTMENT Check down below.
ADJUSTMENT
This section explains how to adjust the weight bench. See the EXERCISE GUIDELINES down below for important information about how to get the most benefit from your exercise program. Make sure that all parts are properly tightened each time you use the weight bench. Replace any worn parts immediately. The weight bench can be cleaned with a damp cloth and a mild, non-abrasive detergent; do not use solvents.
ADJUSTING THE WEIGHT RESTS AND THE SPOTTERS
To change the height of the Weight Rests (40, 42), remove them from the Uprights (36) and insert them into different holes in the Uprights. Make sure to rotate the Weight Rests so that they are wrapped around the Uprights as shown.
Adjust the Spotters (41, 43) in the same way.

ADJUSTING THE BAND ANCHORS
To move the Band Anchors (44) to different holes in the Bases (47), see assembly step 16 above.
| WARNING: Before using the Band Anchors (44), bolt the rack to the floor. |

STORING YOUR WEIGHT PLATES
To store your weight plates (not included), slide them onto the Weight Tubes (46).

ADJUSTING THE BACKREST
To adjust the angle of the Backrest (8), firmly hold the Backrest with one hand. With your other hand, pull the indicated Knob (9), raise or lower the Backrest, and then release the Knob into one of the adjustment holes in the Backrest Bracket (6).

ADJUSTING THE SEAT
To adjust the angle of the Seat (7), firmly hold the Seat with one hand. With your other hand, pull the indicated Knob (9), raise or lower the Seat, and then release the Knob into one of the adjustment holes in the Seat Bracket (33).

ADJUSTING THE CURL PAD
To adjust the horizontal position of the Curl Pad (34), pull the indicated Knob (9), slide the Curl Post (29) forward or backward, and then release the Knob into one of the adjustment holes in the Curl Post. Make sure that the Knob is in an adjustment hole.
To adjust the height of the Curl Pad (34), firmly hold the Curl Pad with one hand. With your other hand, remove the Curl Knob (23), and slide the Curl Frame (30) to the desired position. Then, insert the Curl Knob into the Curl Frame and into one of the adjustment holes in the Curl Post (29), and tighten the Curl Knob.

ATTACHING AND REMOVING THE CURL PAD
To attach the Curl Pad (34), pull the indicated Knob (9), insert the Curl Post (29) into the Bench Frame (1), and then release the Knob into one of the adjustment holes in the Curl Post. Make sure that the Knob is in an adjustment hole.
To remove the Curl Pad (34), pull the indicated Knob (9), slide the Curl Post (29) out of the Bench Frame (1), and then release the Knob.

EXERCISE GUIDELINES
FOUR TYPES OF STRENGTH WORKOUTS
Note: A “repetition” is one complete cycle of an exercise, such as one sit-up. A “set” is a series of repetitions.
Muscle Building— Work your muscles near their maximum capacity and progressively increase the intensity of your exercise. Adjust the intensity level of an individual exercise as follows:
- Change the amount of resistance used.
- Change the number of repetitions or sets performed.
Use your own judgment to determine the amount of resistance that is right for you. Begin with 3 sets of 8 repetitions for each exercise you perform. Rest for 3 minutes after each set. When you can complete 3 sets of 12 repetitions without difficulty, increase the amount of resistance.
Toning— Tone your muscles by working them to a moderate percentage of their capacity. Select a moderate amount of resistance and increase the number of repetitions in each set. Complete as many sets of 15 to 20 repetitions as possible without discomfort. Rest for1 minute after each set. Work your muscles by completing more sets rather than by using high amounts of resistance.
Weight Loss— To lose weight, use a low amount of resistance and increase the number of repetitions in each set. Exercise for 20 to 30 minutes, resting for a maximum of 30 seconds between sets.
Cross Training— Combine strength training and aerobic exercise by following this type of program:
• Strength training workouts on Monday, Wednesday, and Friday.
• 20 to 30 minutes of aerobic exercise on Tuesday and Thursday.
• One full day of rest each week to give your body time to regenerate.
WORKOUT GUIDELINES
Familiarize yourself with the equipment and learn the proper form for each exercise. Use your own judgment to determine the appropriate length of time for each workout, and the numbers of repetitions and sets to complete. Progress at your own pace and be sensitive to your body’s signals. Follow each workout with at least one day of rest.
Warming Up— Start with 5 to 10 minutes of stretching and light exercise. A warm-up increases your body temperature, heart rate, and circulation in preparation for exercise.
Working Out— Include 6 to 10 different exercises in each workout. Select exercises for every major muscle group, emphasizing areas that you want to develop.
To give balance and variety to your workouts, vary the exercises from workout to workout.
Cooling Down— Finish with 5 to 10 minutes of stretching. Stretching increases the flexibility of your muscles and helps to prevent post-exercise problems.
EXERCISE FORM
Move through the full range of motion for each exercise and move only the appropriate parts of the body.
Perform the repetitions in each set smoothly and without pausing. The exertion stage of each repetition should last about half as long as the return stage.
Exhale during the exertion stage of each repetition and inhale during the return stroke. Never hold your breath.
Rest for a short period of time after each set:
- Muscle Building—Rest for three minutes after each set.
- Toning—Rest for one minute after each set.
- Weight Loss—Rest for 30 seconds after each set.
STAYING MOTIVATED
For motivation, keep a record of each workout. Write the date, the exercises performed, the resistance used, and the numbers of sets and repetitions completed. Record your weight and key body measurements once a month. To achieve good results, make exercise a regular and enjoyable part of your life.
PART LIST
EXPLODED DRAWING A
| Key No. | Qty | Description |
| 1. | 1 | Bench Frame |
| 2. | 1 | Front Stabilizer |
| 3. | 1 | Rear Stabilizer |
| 4. | 1 | Seat Frame |
| 5. | 1 | Backrest Frame |
| 6. | 1 | Backrest Bracket |
| 7. | 1 | Seat |
| 8. | 1 | Backrest |
| 9. | 3 | Knob |
| 10. | 2 | Frame Bumper |
| 11. | 4 | Foot |
| 12. | 2 | Wheel |
| 13. | 4 | M6 x 15mm Screw |
| 14. | 2 | M10 x 45mm Bolt |
| 15. | 22 | M10 Locknut |
| 16. | 1 | M12 Locknut |
| 17. | 1 | M12 x 130mm Bolt |
| 18. | 2 | M4 x 19mm Screw |
| 19. | 2 | M10 x 100mm Bolt |
| 20. | 8 | M6 x 25mm Screw |
| 21. | 2 | Bushing |
| 22. | 10 | M10 Washer |
| 23. | 1 | Curl Knob |
| 24. | 1 | M6 x 70mm Screw |
| 25. | 1 | M6 Washer |
| 26. | 2 | M10 x 65mm Carriage Bolt |
| 27. | 4 | Large Rectangle Cap |
| 28. | 2 | M10 x 105mm Bolt |
| 29. | 1 | Curl Post |
| 30. | 1 | Curl Frame |
| 31. | 4 | Frame Sleeve |
| 32. | 1 | Small Rectangle Cap |
| 33. | 1 | Seat Bracket |
| 34. | 1 | Curl Pad |
| 35. | 2 | M6 x 10mm Screw |

EXPLODED DRAWING B
| Key No. | Qty | Description |
| 36. | 2 | Upright |
| 37. | 1 | Crossbar |
| 38. | 2 | Weight Bumper |
| 39. | 1 | Crossbar Cover |
| 40. | 1 | Right Weight Rest |
| 41. | 1 | Right Spotter |
| 42. | 1 | Left Weight Rest |
| 43. | 1 | Left Spotter |
| 44. | 2 | Band Anchor |
| 45. | 4 | Support Plate |
| 46. | 2 | Weight Tube |
| 47. | 2 | Base |
| 48. | 2 | Round Cap |
| 49. | 2 | Cotter Pin |
| 50. | 4 | M10 x 90mm Carriage Bolt |
| 51. | 12 | M10 x 70mm Bolt/Screw |
| 52. | 2 | M8 x 65mm Bolt |
| 53. | 2 | M10 x 95mm Carriage Bolt |
| 54. | 2 | M8 Locknut |
| 55. | 2 | Large Washer |
| 56. | 2 | M10 x 95mm Bolt |
| * | – | Grease Packet |
| * | – | Assembly Tool |
| * | – | User’s Manual |

ORDERING REPLACEMENT PARTS
- To order replacement parts, please see the front cover of this manual. To help us assist you, be prepared to provide the following information when contacting us:
- the model number and serial number of the product (see the front cover of this manual)
- the name of the product (see the front cover of this manual)
- the key number and description of the replacement part(s) (see the PART LIST and the EXPLODED DRAWING near the end of this manual)
LIMITED WARRANTYIMPORTANT: To protect your fitness equipment with an extended service plan, Check above. |
| ICON Health & Fitness, Inc. (ICON) warrants this product to be free from defects in workmanship and material, under normal use and service conditions. Parts and labor are warranted for ninety (90) days from the date of purchase. This warranty extends only to the original purchaser (customer) and is not transferrable. ICON’s obligation under this warranty is limited to repairing or replacing, at ICON’s option, the product through one of its authorized service providers. All repairs for which warranty claims are made must be preauthorized by ICON. If replacement parts are shipped while the product is under warranty, the customer will be responsible for a minimal handling charge. For in-home service, the customer may be responsible for a minimal trip charge. This warranty does not extend to freight damage to the product. This warranty will automatically be voided by the following conditions: (1) if the product is used as a store display model, (2) if the product is purchased or transported outside the USA, (3) if all instructions and warnings in this manual are not followed, (4) if the product is abused or improperly or abnormally used, or (5) if the product is used for commercial or rental purposes. No other warranty beyond that specifically set forth above is authorized by ICON. ICON is not responsible or liable for the following damages: (1) indirect, special, or consequential damages arising out of or in connection with the use or performance of the product; (2) damages with respect to any economic loss, loss of property, loss of revenues or profits, loss of enjoyment or use, or costs of removal or installation; or (3) other consequential damages of any kind. Some states do not allow the exclusion or limitation of incidental or consequential damages. Accordingly, the above limitation may not apply to the customer. The warranty extended hereunder is in lieu of any and all other warranties, and any implied warranties of merchantability or fitness for a particular purpose are limited in their scope and duration to the terms set forth herein. Some states do not allow limitations on how long an implied warranty lasts. Accordingly, the above limitation may not apply to the customer. This warranty provides specific legal rights; the customer may have other rights that vary from state to state. For warranty service, please call the telephone number on the front cover of this manual. Please be prepared to provide the model number and serial number of the product (see the front cover of this manual). ICON Health & Fitness, Inc., 1500 S. 1000 W., Logan, UT 84321-9813 |







































