U-LINE 36 Inches Refrigerator


WELCOME TO U-LINE
Congratulations on your U-Line purchase. Your product comes from a company with over five decades of premium modular ice making, refrigeration, and wine preservation experience. U-Line continues to be the American leader, delivering versatility and flexibility for multiple applications including residential, light commercial, outdoor and marine use. U-Line’s complete product collection includes Wine Captain® Models, Beverage Centers, Clear Ice Machines, Crescent Ice Makers, Glass & Solid Door Refrigerators, Drawer Models, Freezers, Combo® Models, and more.
U-Line has captivated those with an appreciation for the finer things with exceptional functionality, style, inspired innovations and attention to even the smallest details. We are known and respected for our unwavering dedication to product design, quality and selection. U-Line is headquartered in Milwaukee, Wisconsin and has shipped product to five continents for over two decades and is proud to have the opportunity to ship to you. U-Line – RIGHT PRODUCT. RIGHT PLACE. RIGHT TEMPERATURE®.
PRODUCT INFORMATION
Looking for additional information on your product? User Guides, Spec Sheets, CAD Drawings, Compliance Documentation, and Product Warranty information are all available for reference and download at u-line.com.
PROPERTY DAMAGE / INJURY CONCERNS
In the unlikely event property damage or personal injury is suspected related to a U-Line product, please take the following steps:
- U-Line Customer Care must be contacted immediately at +1.800.779.2547.
- Service or repairs performed on the unit without prior written approval from U-Line is not permitted. If the unit has been altered or repaired in the field without prior written approval from U-Line, claims will not be eligible.
Safety and Warning
NOTICE
Please read all instructions before installing, operating, or servicing the appliance.
Use this appliance for its intended purpose only and follow these general precautions with those listed throughout this guide:
SAFETY ALERT DEFINITIONS
Throughout this guide are safety items labeled with a Danger, Warning or Caution based on the risk type:
![]()
Danger means that failure to follow this safety statement will result in severe personal injury or death.
![]()
Warning means that failure to follow this safety statement could result in serious personal injury or death.
![]()
Caution means that failure to follow this safety statement may result in minor or moderate personal injury, property or equipment damage.
![]()
This unit contains R600a (Isobutane) which is a flammable hydrocarbon. It is safe for regular use. Do not use sharp objects to expedite defrosting. Do not service without consulting the “R600a specifications” section included in the User Guide. Do not damage the refrigerant circuit.
![]()
Service must be done by factory authorized service personnel. Any parts shall be replaced with like components. Failure to comply could increase the risk of possible ignition due to incorrect parts or improper service.
Environmental Requirements
This model is intended for indoor/interior applications only and is not to be used in installations that are open/ exposed to natural elements.
This unit is designed to operate between 50°F (10°C) and 100°F (38°C). Higher ambient temperatures may reduce the unit’s ability to reach low temperatures and/or reduce ice production on applicable models.
For best performance, keep the unit out of direct sunlight and away from heat generating equipment.
In climates where high humidity and dew points are present, condensation may appear on outside surfaces. This is considered normal. The condensation will evaporate when the humidity drops.
![]()
Damages caused by ambient temperatures of 40°F (4°C) or below are not covered by the warranty.
Electrical
![]()
SHOCK HAZARD — Electrical Grounding Required. Never attempt to repair or perform maintenance on the unit until the electricity has been disconnected.
Never remove the round grounding prong from the plug and never use a two-prong grounding adapter.
Altering, cutting or removing power cord, removing power plug, or direct wiring can cause serious injury, fire, loss of property and/or life, and will void the warranty.
Never use an extension cord to connect power to the unit.
Always keep your working area dry.
NOTICE
Electrical installation must observe all state and local codes. This unit requires connection to a grounded (three-prong), polarized receptacle that has been placed by a qualified electrician.
The unit requires a grounded and polarized 115 VAC, 60 Hz, 15A power supply (normal household current). An individual, properly grounded branch circuit or circuit breaker is recommended. A GFCI (ground fault circuit interrupter) is usually not required for fixed location appliances and is not recommended for your unit because it could be prone to nuisance tripping. However, be sure to consult your local codes.
Door Swing
For Integrated models that are installed adjacent to a wall, 1/4″ (6 mm) clearance is recommended from wall on hinge side to allow the door to open 90°. Allow for additional space for any knobs or pulls installed on the integrated panel/frame.
Stainless Steel models that are installed adjacent to a wall require 2-1/4″ (57 mm) door clearance on hinge side to allow for door handle.
Units have a zero clearance when installed adjacent to cabinets.
- Integrated

- Stainless

Door Adjustments
DOOR ALIGNMENT AND ADJUSTMENT
Align and adjust the door if it is not level or is not sealing properly. If the door is not sealed, the unit may not cool properly, or excessive frost or condensation may form in the interior.
Properly aligned, the door’s gasket should be firmly in contact with the cabinet all the way around the door (no gaps). Carefully examine the door’s gasket to ensure that it is firmly in contact with the cabinet. Also make sure the door gasket is not pinched on the hinge side of the door.
![]()
Do not attempt to use the door to raise or pivot your unit. This would put excessive stress on the hinge system.
Alignment and Adjustment Procedure
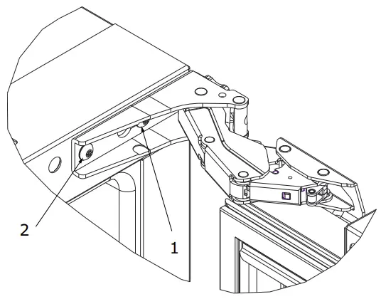
- Open door and remove gasket near the hinges.
- Using a T-25 Torx Bit, loosen each pair of Torx head screws on both the upper and lower hinge plates.
- Square and align door as necessary.
- Tighten Torx head screws on hinge.
- Reinstall gasket into the channel starting at the corner.

REVERSING THE DOOR
- Open door.
- Remove top hinge cover by lifting top and bottom flaps and slide inwards. Repeat on bottom hinge.

- Using T-25 Torx bit loosen screw #1 and remove screw #2 on top and bottom hinge. Slide and remove the door from unit. Completely remove screw #1 on top and bottom.

- Remove caps from screw heads on opposite side (2 on top and 2 on bottom). Using #2 Phillips bit remove the 4 underlying screws. Reinstall the screws and caps on the opposite side.
- Partially install screw #1 in the outer most holes on top and bottom. Rotate door 180°, align hinge over screw #1 and slide/seat into position. Reinstall screw #2 on top and bottom. Tighten both screws and install hinge cover.
Align and adjust the door:
Align and adjust the door (see DOOR ALIGNMENT AND ADJUSTMENT).
General Installation
LEVELING INFORMATION
- Use a level to confirm the unit is level. Level should be placed along top edge and side edge as shown.

- If the unit is not level, remove grille and adjust legs as necessary. Use included tool to adjust the height of the rear legs.

- Confirm the unit is level after each adjustment and repeat the previous steps until the unit is level.
INSTALLATION TIP
If the room floor is higher than the floor in the cutout opening, adjust the rear legs to achieve a total unit rear height of 1/8″ (3 mm) less than the opening’s rear height. Shorten the unit height in the front by adjusting the front legs. This allows the unit to be gently tipped into the opening. Adjust the front legs to level the unit after it is correctly positioned in the opening.
INSTALLATION
- Plug in the power/electrical cord.
- Gently push the unit into position. Be careful not to entangle the cord.
- Re-check the leveling, from front to back and side to side. Make any necessary adjustments. The unit’s top surface should be approximately 1/8″ (3 mm) below the countertop.
- Install the anti-tip bracket.
- Remove the interior packing material and wipe out the inside of the unit with a clean, water-dampened cloth.
Integrated Panel Installation
ALL 3000 SERIES EXCEPT DWR
- Fully open door.
- Starting at corner, pull gasket away from door.
- Continue to pull gasket free from gasket channel.

- Upon removal, lay gasket down on a flat surface.
- The panel should be aligned with the outside edge (opposite the hinge) and high enough to align with the highest point in the door.
NOTICE
Due to differences in floor construction or surrounding cabinetry, the panel may not sit flush with the top of the door. - Secure integrated panel to door using clamps. A robust tape may also be used. U-Line recommends the use of bar clamps to secure the panel to the door. If using tape, be certain the tape will not damage panel finish upon removal.

- Using a 7/64″ (3 mm) drill bit, drill 6 pilot holes into the wood panel 1/2″ (12 mm) deep using the holes in the door frame as a guide.
NOTICE
It is important to ensure that all drilled holes are drilled to the correct depth in order to avoid splits in the wood when hardwood is installed. - Locate 6 of the #6x 1-1/2″ (38 mm) screws provided with your unit.
- Using a Phillips screwdriver, place one screw into each of the 6 pilot holes and screw down. Do not over tighten screws.
- Ensure the screws sit flush against the bottom of the channel.

- Remove clamps from door.
NOTICE
If panel requires additional adjustment after removing clamps, slightly loosen each screw and adjust panel as necessary. Tighten screws upon completion. - Starting at the corners, re-install the gasket into the gasket channel in the frame. Make sure the gasket is fully seated.
3000 SERIES DWR
- Fully open drawer.
- The panel should be aligned with the outside edge and high enough to align with the highest point in the drawer.
NOTICE
Due to differences in floor construction or surrounding cabinetry, the panel may not sit flush with the top of the drawer. - Secure integrated panel to drawer using clamps. A robust tape may also be used. ULine recommends the use of bar clamps to secure the panel to the drawer. If using tape, be certain the tape will not damage panel finish upon removal.

- Using a 7/64″ (3 mm) drill bit, drill Bar Clamp 6 pilot holes into the wood panel 1/2″ (12 mm) deep using the holes in the drawer frame as a guide.
NOTICE
It is important to ensure that all drilled holes are drilled to the correct depth in order to avoid splits in the wood when hardwood is installed. - Locate 12 of the #6x 1-1/2″ (38 mm) screws provided with your unit.
- Using a Phillips screwdriver, place one screw into each of the 6 pilot holes and screw down. Do not overtighten screws.

- Remove clamps from drawer.
NOTICE
If panel requires additional adjustment after removing clamps, slightly loosen each screw and adjust panel as necessary. Tighten screws upon completion.
QUICK START GUIDE
- Actual Display: 3018WC

- Actual Display: 3018WC

- Actual Display: 3036WCWC, 3036BVWC, 3036RR, 3036RRGL

- Actual Display: 3018R, 3018RGL and 3024R, 3024RGL, 3024BEV

- Actual Display: 3024DWR

- Actual Display: 3024FZR

Control Function Guide:
| FUNCTION | COMMAND | DISPLAY/OPTIONS |
| OFF | Press | Display will count down from 5 to off |
| ON | Press | Unit will come on immediately |
| Adjust mode | Press | Press |
| Adjust temperature | Press | Press |
| Adjust lighting | Press | Press Press |
| Light ON/OFF with door | Press | Press |
| Customer menu | Press | Press |
| Mode | Set Point °F (°C) | Temperature Range °F (°C) |
| Red Wine | 55 (12) | 55-65 (12-18) |
| White Wine | 50 (10) | 45-55 (7-12) |
| Sparkling Wine | 45 (7) | 38-50 (3-10) |
| Deli | 36 (2) | 34-40 (1-4) |
| Beverage/Drinks | 38 (3) | 34-65 (1-18) |
| Market/Fresh | 38 (3) | 34-40 (1-4) |
| Root | 50 (10) | 45-55 (7-12) |
| Pantry | 42 (5) | 34-70 (1-21) |
| Polar | 0 (-18) | (-5)-5 ([-21]-[-15]) |
First Use
All U-Line controls are preset at the factory. Initial startup requires no adjustments.
NOTICE
U-Line recommends allowing the unit to run overnight before loading with product.
When plugged in, the unit will begin operating under the factory default setting. Follow the on screen prompt for language selection and temperature units.
To turn the unit off, press
and hold for 5 seconds and release. The display will show a countdown to switching the unit off.
To power your unit on, simply press
immediately switch on.
Sabbath Mode


This unit offers a Sabbath mode for users who require this functionality during Sabbaths. Sabbath mode disables system responses to user initiated activities and all external functions, including lighting, display and audible alarms. The unit will still maintain internal temperatures and set points.
To enable Sabbath Mode:
- Open the unit’s door to activate the display.
- To access the Customer Menu, hold
for 5 seconds. - Press
or
to scroll through available selections. - Select Sabbath Mode from the Customer Menu by pressing
. - Press
to select “Off”. - Press
. “Off” will begin to flash. - Press
or
to change “Off” to “On”. - Press
to confirm your selection.
The Display will fade out as the unit enters Sabbath Mode.
Sabbath Mode remains active until
is quickly pressed and released.
Copyright © 2016/2017 U-Line Corporation. All Rights Reserved. Publication Number 30595 12/2018 Rev.D
U-Line Corporation (U-Line) Limited Warranty
One Year Limited Warranty
For one year from the date of original purchase, this U-Line product warranty covers all parts and labor to repair or replace any part of the product that proves to be defective in materials or workmanship. For products installed and used for normal residential use, material cosmetic defects are included in this warranty, with coverage limited to 60 days from the date of original purchase. All service provided by U-Line under the above warranty must be performed by U-Line factory authorized service, unless otherwise specified by U-Line. Service provided during normal business hours.
Available Second Year Limited Warranty
Beyond the standard one year warranty outlined above, U-Line offers an extension of the one year warranty coverage for an additional second year from the date of purchase, free of charge. To take advantage of this second year warranty, you must register your product with U-Line within two months from the date of purchase at u-line.com providing proof of purchase.
Five Year Sealed System Limited Warranty
For five years from the date of original purchase, U-Line will repair or replace the following parts, labor not included, that prove to be defective in materials or workmanship: compressor, condenser, evaporator, drier, and all connecting tubing. All service provided by U-Line under the above warranty must be performed by U-Line factory authorized service, unless otherwise specified by U-Line. Service provided during normal business hours.
Terms
These warranties apply only to products installed in any one of the fifty states of the United States, the District of Columbia, or the ten provinces of Canada. The warranties do not cover any parts or labor to correct any defect caused by negligence, accident or improper use, maintenance, installation, service, repair, acts of God, fire, flood or other natural disasters. The product must be installed, operated, and maintained in accordance with the U-Line User Guide.
The remedies described above for each warranty are the only ones that U-Line will provide, either under these warranties or under any warranty arising by operation of law. U-Line will not be responsible for any consequential or incidental damages arising from the breach of these warranties or any other warranty, whether express, implied, or statutory. Some states do not allow the exclusion or limitation of incidental or consequential damages, so the above limitation or exclusion may not apply to you. These warranties give you specific legal rights, and you may also have other rights which vary from state to state.
Any warranty that may be implied in connection with your purchase or use of the product, including any warranty of merchantability or any warranty fit for a particular purpose is limited to the duration of these warranties, and only extends to five years in duration for the parts described in the section related to the five year limited warranty above. Some states do not allow limitations on how long an implied warranty lasts, so the above limitations may not apply to you.
- The warranties only apply to the original purchaser and are non-transferable.
- The second year and five year warranties cover products installed and used for normal residential or designated marine use only.
- The warranties apply to units operated outside only if designed for outdoor use by model and serial number.
- Replacement water filters, light bulbs, and other consumable parts are not covered by these warranties.
- The start of U-Line’s obligation is limited to four years after the shipment date from U-Line.
- In-home instruction on how to use your product is not covered by these warranties.
- Food, beverage, and medicine loss are not covered by these warranties.
- If the product is located in an area where U-Line factory authorized service is not available, you may be responsible for a trip charge or you may be required to bring the product to a U-Line factory authorized service location at your own expense.
- Units purchased after use as floor displays, and/or certified reconditioned units, are covered by the limited one year warranty only and no coverage is provided for cosmetic defects
- Signal issues related to Wi-Fi connectivity are not covered by these warranties.
Warranty
This product is eligible for an additional one-year warranty at no charge when you register your product on u-line.com. See complete warranty for details.
For parts and service assistance, or to find U-Line factory authorized service near you, contact U-Line: 8900 N. 55th Street, Milwaukee, WI 53223 · u-line.com · [email protected] · +1.800.779.2547
Copyright © 2014/2017 U-Line Corporation. All Rights Reserved. | Publication Number 30379 | 08/2018 Rev. M
CONNECT WITH US

GENERAL INQUIRIES
U-Line Corporation 8900 N. 55th Street Milwaukee, Wisconsin 53223 USA Monday – Friday 8:00 am to 4:30 pm CST T: +1.414.354.0300 F: +1.414.354.7905 Email: [email protected] u-line.com
SERVICE & PARTS ASSISTANCE
Monday – Friday 8:00 am to 4:30 pm CST T: +1.800.779.2547 F: +1.414.354.5696 Service Email: [email protected] Parts Email: [email protected]
Designed, engineered and assembled in WI, USA









NOTICE

NOTICE

























