Hunter 50290 Anorak Outdoor Ceiling Fan Installation Guide
Congratulations on purchasing your new Hunter® ceiling fan!
The ceiling fan you purchased will provide comfort and performance in your home or office for many years. This instruction manual contains complete instructions for installing and operating your fan. We are proud of our work and appreciate the opportunity to supply you with the best ceiling fan available anywhere in the world.
We are here to help!
This Instruction Manual is designed to make installation as simple as possible. While working through this Instruction Manual, keep your smartphone or tablet nearby. We have added video links to help you through the more technical sections. If you are unfamiliar or uncomfortable with wiring, contact a qualified electrician. We also provide telephone support at 1.888.830.1326 or visit us at HunterFan.com.
READ and SAVE These Instructions
![]()

Warning
w.1 – To reduce the risk of fire, electrical shock, or personal injury, mount fan directly from building structure and/or an outlet box marked acceptable for fan support of 70 lbs (31.8 kg) and use the mounting screws provided with the outlet box.
w.2 – To avoid possible electrical shock, before installing or servicing your fan, disconnect the power by turning off the circuit breakers to the outlet box and associated wall switch location. If you cannot lock the circuit breakers in the off position, securely fasten a prominent warning device, such as a tag, to the service panel.
w.3 – To reduce the risk of electric shock, this fan must be installed with an isolating wall control/switch.
w.4 – To reduce the risk of personal injury, do not bend the blade brackets when installing the blade brackets, balancing the blades, or cleaning the fan. Do not insert foreign objects in between rotating fan blades.
Caution
c.1 – All wiring must be in accordance with national and local electrical codes ANSI/NFPA 70. If you are unfamiliar with wiring, use a qualified electrician.
c.2 – Use only Hunter replacement parts.
This equipment has been tested and found to comply with the limits for a Class B digital device, pursuant to part 15 of the FCC Rules. These limits are designed to provide reasonable protection against harmful interference in a residential installation. This equipment generates, uses and can radiate radio frequency energy and if not installed and used in accordance with the instructions may cause harmful interference to radio communications.
However, there is no guarantee that interference will not occur in a particular installation. If this equipment does cause harmful interference to radio or television reception, which can be determined by turning the equipment off and on, the user is encouraged to try to correct the interference by one or more of the following measures:
- Reorient or relocate the receiving antenna.
- Increase the separation between the equipment and receiver.
- Connect the equipment into an outlet on a circuit different from that to which the receiver is connected.
- Consult the dealer or an experienced radio/TV technician for help.
Caution: modifications not approved by the party responsible for compliance could void user’s authority to operate the equipment.
This device complies with Part 15 of the FCC Rules. Operation is subject to the following two conditions: (1) This device may not cause harmful interference, and (2) this device must accept any interference received, including interference that may cause undesired operation.
This product conforms to UL Standard 507.

Here are the tools you’ll need to complete your installation

OPTIONAL
If mounting to a support structure, you will also need these tools.

© 2021 Hunter Fan Company
7130 Goodlett Farms Pkwy, Suite 400
Memphis TN 38016
Here is what comes in your box
We recommend that you pull everything out of the box and lay it out. We have grouped the drawn components below with the hardware you’ll need for those parts. The screws below are drawn to scale to make it easier to identify what piece of hardware is needed to install each component.
Hunter Pro Tip:
Do not discard the hardware bags or mix parts from different bags. Make note of the symbol printed on each hardware bag. The symbols can be used to identify the appropriate hardware for each step.

Choosing the Right Installation Location
You probably bought this fan with a location in mind. Let’s check below to make sure it is a good fit.
Check the room dimensions:

Check the outlet box:

Preparing the Ceiling Bracket
To avoid possible electrical shock, before installing your fan, disconnect the power by turning off the circuit breakers to the outlet box associated with the wall switch location.

Installing the Ceiling Bracket

Installing the Downrod
Follow below if you are using the downrod that came pre-assembled in your box. Need to install a longer or shorter downrod? Check out the guide at the end of this manual.

Hanging the Fan

Wiring the Fan
We know wiring is hard. Let’s make it easier.
Follow these steps to get your fan wired quickly and safely. If you are unfamiliar with wiring or uncomfortable doing it yourself, please contact a qualified electrician.
Hunter Pro Tip:
Here is how to connect the wires:
Push the bare metal ends of the wires together and slide a wire nut over them. Then, twist the wire nut clockwise until tight.
Give it a gentle pull to make sure none of the wires are loose.


Installing the Canopy

Installing the Blades

Assembling the Light

Installing the Bulbs and Glass

Preparing the Wall Control
- Turning off the power
Ensure the power is OFF at the outlet box and wall switch location before proceeding with installation.
- Installing the battery
To access the battery compartment, slide the battery door up.
Replace the used battery with two AAA batteries when needed.
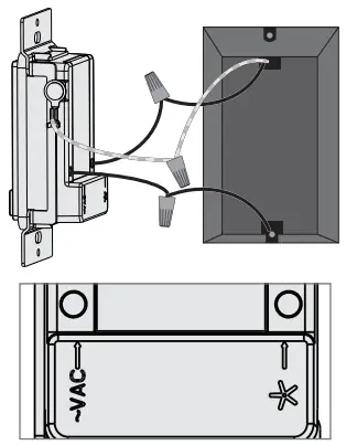
- Wiring the Wall Control
Connect the grounding wire from the wall control to the ground control from the switch box using the provided wire nuts.
Connect the “LIVE IN” from the switch box to the “~VAC” from the wall control using the provided wire nuts.
Connect the “LIVE OUT” from the switch box to the “FAN” out from the wall control using the provided wire nuts.
Push all wires into the switch box.
- Installing the Wall Control
Install the longer screws through the slots in the wall control into the switch box screw holes.
- Installing the Wall Plate
Install the shorter screws through the wall control plate and into the screw holes in the wall control.
- Turning on the power
IMPORTANT
Use the pull-chain switch on the fan to set the fan speed to the HIGH position before operation.
- The remote transmitter is already paired to the receiver and ready to use. If you need to pair your remote, cycle power to the fan by turning power off and back on at the wall switch (or circuit breaker if necessary). Within three minutes, do the following:
NOTICE
This device complies with Part 15 of the FCC Rules. Operation is subject to the following conditions: (1) this device may not cause harmful interference, and (2) this device must accept any interference received, including interference that may cause undesired operation.
- Reference the included remote function card for information on how to use your wall control.

Reversing the Fan

Troubleshooting
Fan Doesn’t Work
- Make sure power switch is on.
- Check the circuit breaker to ensure the power is turned on.
- Make sure the blades spin freely.
- Check the plug connection in the switch housing.
Excessive Wobbling
- Make sure the blades are properly installed on the blade iron posts.
- Turn the power off, support the fan carefully, and check that the hanger ball is properly seated.
- Use the provided balancing kit and instructions to balance the fan.
Remote Control of Fan is Erratic
- Make sure the battery is installed correctly.
- Install a fresh battery.
Noisy Operation
- Make sure the blades are properly installed.
- Check to see if any of the blades are cracked. If so, replace all of the blades.
Multiple Remote Issues
If you have multiple remotes or multiple remote-controlled fans installed
on the same circuit breaker and you are experiencing interference or faulty operation of your remote controls, please go to www.HunterFan.com/FAQs and click “How do I properly install multiple remote-controlled fans?” for information on how to correct this issue.
Hunter Pro Tip:
Cleaning the Fan
Use soft brushes or cloths to prevent scratching.
Cleaning products may damage the finishes.
Limited Lifetime Warranty
Hunter Fan Company grants this limited warranty to the original purchaser of this Hunter ceiling fan. This document can be found at www.HunterFan.com.
Thank you for choosing Hunter!
How Can Warranty Service Be Obtained?
Proof of purchase is required when requesting warranty service. The original purchaser must present a sales receipt or other document that establishes proof of purchase. Hunter, at its sole discretion, may accept a gift receipt. To obtain service, contact Hunter Fan Company online or by phone.
www.HunterFan.com/Support/Contact-Us/
1-888-830-1326
Please do not ship your fan or any fan parts to Hunter. Delivery will be refused.
What Does This Warranty Cover?
Motor — Limited Lifetime Warranty
If any part of your ceiling fan motor fails during your ownership of the fan due to a defect in material or workmanship, as determined solely by Hunter, Hunter will provide you with a replacement fan free of charge.* The foregoing limited warranty applies only to the motor itself and does not apply to electronic controls – such as remote control transmitters, remote control receivers, or capacitors – used in conjunction with the motor. Such electronic control items are included in the one-year limited warranty below.
Other — One-Year Limited Warranty
Except as otherwise indicated throughout this warranty, if any part of your Hunter ceiling fan fails at any time within one year of the date of purchase due to a defect in material or workmanship, as determined solely by Hunter, Hunter will provide a replacement part free of charge.*
Light Kits — Warranty May Vary
Light kits are included in the one-year limited warranty. However, you may qualify for additional warranty coverage if your fan includes one of the following:
- LED Light Kits — Three-Year Limited Warranty
If your LED light kit module (not including glass components) or LED bulb fails at any time within three years of the date of purchase due to a defect in material or workmanship, as determined solely by Hunter, Hunter will provide a replacement part free of charge. - If no replacement product/part can be provided for your fan, we will provide a comparable or superior replacement product/part at the sole discretion of Hunter.
What Does This Warranty NOT Cover?
Labor Excluded. This warranty does not cover any costs or fees associated with the labor (including electrician’s fees) required to install, remove, or replace a fan or any fan parts.
There is no warranty for light bulbs (except where otherwise noted); remote control batteries; fans purchased or installed outside the United States; fans owned by someone other than the original purchaser; fans for which proof of purchase has not been established; fans purchased from an unauthorized dealer; ordinary wear and tear; minor cosmetic blemishes; refurbished fans; and fans that are damaged due to any of the following: improper installation, misuse, abuse, improper care, failure to follow Hunter instructions, accidental damage caused by the fan owner or related parties, modifications to the fan, improper or incorrectly performed maintenance or repair, improper voltage supply or power surge, use of improper parts or accessories, failure to provide maintenance to the fan, or acts of God (e.g. flood).
ORIGINAL PURCHASER’S SOLE AND EXCLUSIVE REMEDY FOR A CLAIM OF ANY KIND WITH RESPECT TO THIS PRODUCT SHALL BE THE REMEDIES SET FORTH HEREIN.
HUNTER FAN COMPANY IS NOT RESPONSIBLE FOR CONSEQUENTIAL OR INCIDENTAL DAMAGES, DUE TO PRODUCT FAILURE, WHETHER ARISING OUT OF BREACH OF WARRANTY, BREACH OF CONTRACT, OR OTHERWISE. Some States do not allow the exclusion or limitation of incidental or consequential damages, so the above limitation or exclusion may not apply to you.
ANY IMPLIED WARRANTIES OF MERCHANTABILITY OR FITNESS FOR A PARTICULAR PURPOSE APPLICABLE TO THIS PRODUCT ARE LIMITED IN DURATION TO THE PERIOD OF COVERAGE OF THE APPLICABLE LIMITED WARRANTIES SET FORTH ABOVE. Some States do not allow limitations on how long an implied warranty lasts, so the above limitation may not apply to you.
How Does State Law Affect Warranty Coverage?
This warranty gives you specific legal rights. You may also have other rights which vary from state to state.
Downrod
If you need a different downrod length follow these steps:




















![Hunter Ceiling Fan [59646,51221,51427] Installation Manual Hunter Ceiling Fan [59646,51221,51427] Installation Manual](https://static-data1.manualsee.com/1/img/142/40661/2021/01/Hunter-Ceiling-Fan-596465122151427-Installation-Manual.jpg)







