Lift-Away® Upright Vacuum with Self-Cleaning Brushroll
UV725 Series
OWNER’S GUIDE
IMPORTANT SAFETY INSTRUCTIONS
HOUSEHOLD USE ONLY
To reduce the risk of electric shock, this vacuum cleaner has a polarized plug (one blade is wider than the other). As a safety feature, this plug will fit into a polarized outlet only one way. If the plug does not fit fully into the outlet, reverse the plug. If it still does not fit, contact a qualified electrician. DO NOT force into an outlet or try to modify to fit.
WARNING
TO REDUCE THE RISK OF FIRE, ELECTRIC SHOCK OR INJURY:
GENERAL WARNINGS
When using an electrical appliance, basic precautions should always be followed, including the following:
- Inspect the power cord and plug for any damage before use. DO NOT use a vacuum cleaner with a damaged cord or plug. Turn off all controls before plugging in or unplugging the vacuum cleaner. Store your vacuum cleaner with the power cord secured around the two cord hooks. To minimize the risk of power cord damage, do not allow the motorized brush roll to ingest the cord. If this occurs, immediately shut off the power to the vacuum and remove the cord.
- Your vacuum cleaner may consist of a motorized nozzle, wand, hose, and/ or vacuum pod. This device contains electrical connections, electrical wiring, and moving parts that potentially present risk to the user.
- Use only identical replacement parts.
- Carefully observe and follow the instructions provided below to avoid improper use of the appliance. DO NOT use the vacuum for any purpose other than those described in this manual.
- Before use, carefully inspect all parts for any damage. DO NOT use if any parts are damaged.
- The use of an extension cord is NOT recommended.
- This vacuum cleaner contains no serviceable parts.
USE WARNINGS - This appliance can be used by persons with reduced physical, sensory or mental capabilities or lack of experience and knowledge if they have been given supervision or instruction concerning use of the appliance in a safe way and understand the hazards involved. Cleaning and user maintenance shall not be made by children. Keep the appliance and its cord out of reach of children. DO NOT allow the appliance to be used by children. DO NOT allow to be used as a toy. Close supervision is necessary when used near children.
- Always turn off the vacuum cleaner before connecting or disconnecting any motorized nozzles or other accessories.
- DO NOT handle plug or vacuum cleaner with wet hands.
- DO NOT use without filters in place.
- Only use Shark® branded filters and accessories.
- DO NOT damage the power cord:
a) DO NOT pull or carry the vacuum cleaner by the cord or use the cord as a handle.
b) DO NOT unplug by pulling on the cord. Grasp the plug, not the cord.
c) DO NOT run the vacuum cleaner over the power cord, close a door on the cord, pull the cord around sharp corners, or leave the cord near heated surfaces.
SAVE THESE INSTRUCTIONS READ ALL INSTRUCTIONS BEFORE USE - DO NOT put any objects into nozzle or accessory openings. DO NOT use with any opening blocked; keep free of dust, lint, hair, and anything that may reduce airflow.
- DO NOT use if nozzle or accessory airflow is restricted. If the air paths or the motorized floor nozzle become blocked, turn the vacuum cleaner off and unplug from the electrical outlet. Remove all obstructions before you plug in and turn on the unit again.
- Keep nozzle and all vacuum openings away from hair, face, fingers, uncovered feet, or loose clothing.
- DO NOT use if the vacuum cleaner is not working as it should, or has been dropped, damaged, left outdoors, or dropped into water.
- Use extra care when cleaning on stairs.
- DO NOT leave the vacuum cleaner unattended while plugged in.
- When powered on, keep the vacuum cleaner moving over the carpet surface at all times to avoid damaging the carpet fibers.
- DO NOT place vacuum cleaners on unstable surfaces such as chairs or tables.
- Your Shark® vacuum may not be designed to stand up on its own. When taking a break from cleaning, you may need to lean it against furniture or a wall or lay it flat on the floor. Using the vacuum for an application where the unit lacks stability may result in personal injury.
- DO NOT use to pick up:
a) Liquids
b) Large objects
c) Hard or sharp objects (glass, nails, screws, or coins)
d) Large quantities of dust (drywall dust, fireplace ash, or embers). DO NOT use as an attachment to power tools for dust collection.
e) Smoking or burning objects (hot coals, cigarette butts, or matches)
f) Flammable or combustible materials (lighter fluid, gasoline, or kerosene)
g) Toxic materials (chlorine bleach, ammonia, or drain cleaner)’ - DO NOT use it in the following areas:
a) Poorly lit areas
b) Wet or damp surfaces
c) Outdoor areas
d) Spaces that are enclosed and may contain explosive or toxic fumes or vapors (lighter fluid, gasoline, kerosene, paint, paint thinners, mothproofing substances, or flammable dust) - Turn off all controls before plugging in or unplugging the vacuum
- Unplug from the electrical outlet when not in use and before any maintenance or cleaning.
- Hand washes with water only. Washing with cleaning chemicals could damage the unit.
- During cleaning or routine maintenance, DO NOT cut anything other than hair, fibers, or string wrapped around the brush roll.
- Allow all filters to air-dry completely before replacing them in the vacuum to prevent liquid from being drawn into electric parts.
- Make sure the dust cap and all filters are in place after routine maintenance.
- If provided, secure the power cord around the two cord hooks during storage.
ASSEMBLY
- Place the Pod onto the Floor Nozzle Post.
- Insert the Wand into the pod.
- Attach the Lower Accessory Holder to the pod.
- Insert the Handle into the top of the wand.
- Attach the Hose Clip to the wand.
- Connect the hose to the back of the pod.
- Store Accessories on the Tool Storage Posts.
For proper operation, ensure all parts are firmly clicked into place.
WHOLE-HOME CLEANING

Select surface setting:
O .Off
I. Hard Floor
For bare floors and area rugs.
II. Carpet
For high pile carpets.
The Suction Control Slider located on the handle allows you to adjust the suction depending on the floor type.
MIN: to reduce suction and increase maneuverability on carpets.
MAX: to increase suction on bare floors.
NOTE: The brush roll spins in both modes.
BRUSHROLL INDICATOR LIGHT
WHAT DOES THE BRUSH ROLL INDICATOR LIGHT MEAN?
Solid Green: The brush roll is spinning and working as intended.
Solid Red: There is a jam in the brush roll area. Turn off the vacuum and unplug it, then remove any blockages in the nozzle.
Flashing Red: The motorized floor nozzle is overheating. Turn off the vacuum, unplug it, and remove any blockages. Let the vacuum cool down for at least 60 minutes before restarting.
See the Troubleshooting section for more information.
NOTE: For deep carpet cleaning per ASTM F608 (embedded dirt in carpets), set to MAX suction and use setting II, Carpet.
WHOLE-HOME CLEANING
CLEANING MODES
To engage Brushroll, step on the floor nozzle and tilt the handle back firmly. Press the Power/Surface switch to the appropriate floor setting.
Press the Handle Release button and pull up on the handle to detach it from the wand.
Press the Wand Release button and pull up on the wand to detach it from the pod.
In Lift-Away mode, you can clean with the handle and wand, or just the handle.
Press the Lift-Away button to detach the pod from the floor nozzle.
With pod removed, press the Wand Release button to detach the wand from the pod.
Press the Handle Release button and pull up on the handle to detach it from the wand.
NOTE: All accessories are compatible with both the wand and the handle.
EMPTYING THE DUST CUP
IMPORTANT: Unplug the power cord before performing any maintenance. Empty the dust cup each time you vacuum and periodically during cleaning when debris in the dust cup reaches the MAX fill line.
To remove Dust Cup, slide up tabs on both sides of the dust cup handle. Tilt the dust cup forward, then lift to remove.
Press the lower release button to open the bottom of the dust cup.
To remove collected debris from Lint Screepress top release button and lift handle to open. Gently brush debris off the screen.
To reinstall, place the bottom of the dust cup into the pod and then tilt until it clicks into place.
CLEANING AND REPLACING THE FILTERS CLEANING FILTERS
Regularly rinse and replace the filters to maintain your vacuum’s suction power.
To prevent damage from cleaning chemicals, rinse filters with cold water only. Allow all filters to air-dry for at least 24 hours before reinstalling them to prevent liquid from being drawn into electric parts.
IMPORTANT: DO NOT use soap when cleaning the filters.
CLEAN PRE-MOTOR FILTERS EVERY 3 MONTHS
Remove Dust Cup, then lift out Filters.
RINSE HEPA FILTER EVERY YEAR
To Remove HEPA Filter, remove the dust cup, tilt the Filter Door and firmly pull it off. Press the tab at top of the HEPA Filter and pull out the filter. To reinstall, insert the top part of the HEPA filter first. Then, replace the filter door by inserting the top part with tabs first then pushing in the bottom until it clicks into place.
REPLACING FILTERS
Follow the previous instructions for removing filters. The Pre-Motor Filter should be replaced every 2.5 years. The HEPA Filter should be replaced every 3 years.

NOTE: To order replacement parts and filters, visit sharkaccessories.com.
MAINTENANCE
Self-Cleaning Brushroll
Shark’s self-cleaning brush roll automatically removes hair wrap. If some hair remains wrapped around the brush roll, continue cleaning to give it time to make its way to the dust cup. If you run over a hard or sharp object or notice a noise change while vacuuming, check for blockages or objects caught behind the brush roll.
CLEANING THE BRUSH ROLL
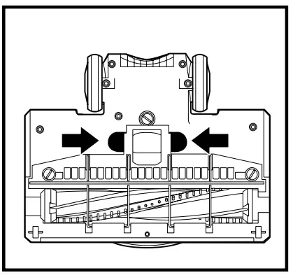
Using a coin, turn locks counterclockwise, then open the cover to access Brushroll.
NOTE: Cover hinges open but is not completely removable.
![]() | ![]() |
![]() | ![]() |
If you vacuum up a hard or sharp object or notice a noise change while vacuuming, remove any blockages or objects caught behind the brush roll.
Clear away any dust, dirt, or blockages in Debris Intake.
To close the cover, push down until it clicks into place, then close the locks with a coin.
CORD MAINTENANCE
- DO NOT pull or carry the vacuum cleaner by the cord or use the cord as a handle.
- DO NOT unplug by pulling on the cord. Grasp the plug, not the cord.
- DO NOT close the door on the cord.
- DO NOT pull the cord around sharp corners.
- DO NOT leave the cord near heated surfaces.
To minimize the risk of power cord damage, DO NOT run the vacuum over the power cord. If this occurs, immediately shut off power to the vacuum and remove the cord from the brush roll or nozzle.
CHECKING FOR BLOCKAGES
Detach wand from floor nozzle and handle and check both ends for blockages.
Detach floor nozzle from wand and vacuum pod, tilt nozzle neck back, and check to open for blockages.
Detach handle from wand and hose from the vacuum pod, and check openings for blockages.
Detach dust cup from vacuum pod. Empty dust cup, remove debris from lint screen and check for blockages.
AVAILABLE ACCESSORIES
A Pet Crevice Tool
This versatile, slender 8″ tool removes pet hair from hard-to-reach spaces like corners, ceilings, and between couch cushions.
B Dusting Brush
This brush dusts and cleans delicate surfaces. Great for use on fans, blinds, lampshades, and keyboards.
C Pet Hair Tool
The turbine brush loosens and removes pet hair and debris from carpets, and powerfully deep-cleans dander out of upholstery and other surfaces.
D Wide Upholstery Tool
The wide cleaning path helps remove pet hair, dust, and large debris from mattresses, couches, curtains, lampshades and other delicate upholstered surfaces.
E Pet Multi-Tool
A single convertible tool for cleaning tough messes two ways: use the stiff bristle brush to clean stuck-on debris, or take off the bristles to reveal an upholstery tool perfect for removing stubborn pet hair and large piles of debris.
F Anti-Allergen Dust Brush
This brush features nylon fiber bristles specifically designed for removing fine dust and allergen particles from the mostdelicate surfaces.
G Under-Appliance Wand
Clean under and behind hard-to-move appliances and furniture with this adjustable 36” tool. Flip the extension piece over to clean the underside of the appliances.
H Large Accessory Bag
This convenient accessory storage bag measures 32 cm x 70 cm and fits the Under-Appliance Wand. Smaller sizes are available at sharkaccessories.com.
NOTE: Not all accessories come with all units. For a list of the accessories included with this model, refer to the top inside flap of the box or the Quick Start Guide if your unit came with one. To order additional accessories, please visit sharkaccessories.com.
TROUBLESHOOTING
Power cord caught in a brush roll or floor nozzle.
- To minimize the risk of power cord damage, DO NOT run the vacuum over the power cord. If this occurs, immediately shut off the power to the vacuum and remove the cord from the brush roll or nozzle.
- Inspect the power cord and plug for any damage before use. DO NOT use a vacuum cleaner with a damaged cord or plug. Turn off all controls before plugging in or unplugging the vacuum cleaner. Store your vacuum cleaner with the power cord secured around the two cord hooks. The vacuum is not picking up debris. No suction or light suction.
- Check filters to see if they need cleaning. Follow instructions for rinsing and air-drying the filters before reinstalling.
- The dust cup may be full; empty dust cup.
- Clear any blockages in the hose, hose connections, nozzle, wand, pod, or accessories. See the Checking for Blockages section for more information.
- If any hair is wrapped around the brush roll, continue vacuuming. This will allow the self-cleaning brush roll to remove the hair wrap and send it to the dust cup. If some fibers remain wrapped around the brush roll after continued use, open the brush roll cover to remove them. Vacuum lifts area rugs.
- Make sure the Power/Surface switch is set to Hard Floor (setting I).
• Suction is powerful. Take care when vacuuming area rugs or rugs with delicately sewn edges.
• To minimize suction, set the suction control slider to MIN. See the Suction Control section for more information. The brushroll does not spin.
•If the brush roll indicator light turns red, immediately turn off and unplug the vacuum. Remove the pod from the floor nozzle and clear any blockages. Reconnect nozzle, plugin vacuum, and turn on the power.
• With the power on, recline the handle, which will automatically turn on the brush roll.
The vacuum turns off on its own or the indicator light flashes red. If your vacuum overheats, the thermostat will automatically turn off the motor.
Follow these steps to restart:
- Turn the vacuum off and unplug it.
- Empty the dust cup and clean the filters (see Emptying the Dust Cup and Cleaning the Filters).
- Check for blockages in hose, wand, nozzle, accessories, and inlet openings.
- Allow the unit to cool for a minimum of 60 minutes.
- Plugin vacuum and turn it on.
For all other issues, please visit our website at sharkclean.com/support.
FIVE (5) YEAR LIMITED WARRANTY
The Five (5) Year Limited Warranty applies to purchases made from authorized retailers of SharkNinja Operating LLC. Warranty coverage applies to the original owner and to the original product only and is not transferable.
SharkNinja warrants that the unit shall be free from defects in material and workmanship for a period of five (5) years from the date of purchase when it is used under normal household conditions and maintained according to the requirements outlined in the Owner’s Guide, subject to the following conditions and exclusions:
What is covered by this warranty?
- The original unit and/or non-wearable parts deemed defective, in SharkNinja’s sole discretion, will be repaired or replaced up to five (5) years from the original purchase date.
- In the event a replacement unit is issued, the warranty coverage ends six (6) months following the receipt date of the replacement unit or the remainder of the existing warranty, whichever is later. SharkNinja reserves the right to replace the unit with one of equal or greater value.
What is not covered by this warranty?
- Normal wear and tear of wearable parts (such as foam filters, HEPA filters, pads, etc.), which require regular maintenance and/or replacement to ensure the proper functioning of your unit, are not covered by this warranty. Replacement parts are available for purchase at sharkaccessories.com.
- Any unit that has been tampered with or used for commercial purposes.
- Damage caused by misuse (e.g., vacuuming up water or other liquids), abuse, negligent handling, failure to perform required maintenance (e.g., not cleaning the filters), or damage due to mishandling in transit.
- Consequential and incidental damages.
- Defects caused by repair persons not authorized by SharkNinja. These defects include damages caused in the process of shipping, altering, or repairing the SharkNinja product (or any of its parts) when the repair is performed by a repair person not authorized by SharkNinja.
- Products purchased, used, or operated outside North America.
How to get service
If your appliance fails to operate properly while in use under normal household conditions within the warranty period, visit sharkclean.com/support for product care and maintenance self-help. Our Customer Service Specialists are also available at 1-800-798-7398 to assist with product support and warranty service options, including the possibility of upgrading to our VIP warranty service options for select product categories. So we may better assist you, please register your product online at registeryourshark.com and have the product on hand when you call.
SharkNinja will cover the cost for the customer to send in the unit to us for repair or replacement. A fee of $24.95 (subject to change) will be charged when SharkNinja ships the repaired or replacement unit.
How to initiate a warranty claim
You must call 1-800-798-7398 to initiate a warranty claim. You will need the receipt as proof of purchase. We also ask that you register your product online at registeryourshark.com and have the product on hand when you call, so we may better assist you. A Customer Service Specialist will provide you with return and packing instruction information.
How state law applies
This warranty gives you specific legal rights, and you also may have other rights that vary from state to state. Some states do not permit the exclusion or limitation of incidental or consequential damages, so the above may not apply to you.
REGISTER YOUR PURCHASE
registeryourshark.com
Scan QR code using a mobile device
RECORD THIS INFORMATION
Model Number:………………
Serial Number:……………………..
Date of Purchase: (Keep receipt)………….
Store of Purchase:…………………….
Benefits of registering your product and creating an account:
- Get easier, faster product support and access to warranty information
- Access troubleshooting and product care instructions
- Be among the first to know about exclusive product promotions
TIP: You can find the model and serial numbers on the QR code label on the bottom of the back of the vacuum pod.
TECHNICAL SPECIFICATIONS
Voltage: …………….120V~ 60Hz
Watts: …………………800W
PLEASE READ IT CAREFULLY AND KEEP IT FOR FUTURE REFERENCE.
This Owner’s Guide is designed to help you get a complete understanding of your new Shark Navigator® Lift-Away® Upright Vacuum with Self-Cleaning Brushroll.
SharkNinja Operating LLC US: Needham, MA 02494 CAN: Ville St-Laurent, QC H4S 1A7 1-800-798-7398 sharkclean.com
Illustrations may differ from the actual product. We are constantly striving to improve our products; therefore the specifications contained herein are subject to change without notice. For SharkNinja U.S. Patent information, visit sharkninja.com/uspatents
© 2021 SharkNinja Operating LLC. LIFT-AWAY, SHARK, and SHARK NAVIGATOR have registered trademarks of SharkNinja Operating LLC. UV725SeriesIBEMPMv8 PRINTED IN CHINA![]()



























