BVF Heating 6 NYBRO SMART Heating PANEL
SAFETY ADVICE
READ THIS NOTICE CAREFULLY BEFORE OPERATING THE APPLIANCE.
- This appliance can be used by children aged from 8 years and above and persons with reduced physical, sensory or mental capabilities or lack of experience and knowledge if they have been given supervision or instruction concerning use of the appliance in a safe way and understand the hazards involved. Children shall not play with the appliance. Cleaning and user maintenance shall not be made by children without supervision.
- Children of less than 3 years should be kept away unless continuously supervised.
- Children aged from 3 years and less than 8 years shall only switch on/off the appliance provided that it has been placed or installed in its intended normal operating position and they have been given supervision or instruction concerning use of the appliance in a safe way and understand the hazards involved. Children aged from 3 years and less than 8 years shall not plug in, regulate and clean the appliance or perform user maintenance.
- CAUTION – Some parts of this product can become very hot and cause burns. Particular attention has to be given where children and vulnerable people are present.
- If the supply cord is damaged, it must be replaced by the manufacturer, its service agent or similarly qualified persons in order to avoid a hazard.
- CAUTION – In order to avoid a hazard due to inadvertent resetting of the thermal cutout, this appliance must not be supplied through an external switching device, such as a timer, or connected to a circuit that is regularly switched on and off by the utility.
- WARNING – In order to avoid overheating, do not cover the heater.
- The heater must not be located immediately below a socket-outlet.
- Do not use this heater in the immediate surroundings of a bath, a shower or a swimming pool.
- Always use your appliance with rollers or feet fixed.
- Fixed heaters are to be installed so that switches and other controls cannot be touched by a person in the bath or shower.
- Warning: this product shall be installed in the volume 2 only according the national wiring rules (For France NF C 15-100).
- Note – The drawing below is for reference only.
- We suggest that you contact a professional electrician for assistance.

INSTALLATION
Optional stand feet
Put the heater on a flat, dry and clean surface. Install the feet as shown on the below drawing.
Wall mounting
Make sure that the distance from walls and objects is respected.

Warning! Be sure to keep the distance between the heater and floor, wall and so on at least 30cm.
Warning! When drilling holes, always check to ensure there is no wiring, pipework, etc. in the area to be drilled.
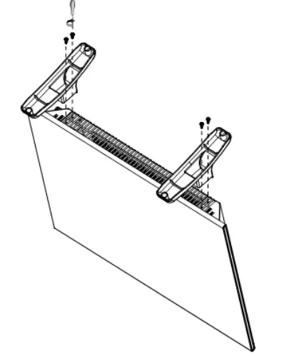
- A. Put the hanging rack on the wall as a guide ruler (please make sure the holes at parallel level), use a mark pen to mark the hole position.
- B. Drill holes on the wall with ø 8mm drill bit and insert the plastic wall plug.
- C. Fasten the hanging rack on the wall with the screws, do make sure the hanging rack is in correct direction.
- D. Gently insert the heater body of the bottom to the hanging rack first and then push the heater body to be hooked on the whole hanging rack.
Warning! Before plugging in the unit make sure the radiator is properly attached to the wall. Otherwise, problems can occur.
HOW TO USE
- Plug the appliance to the socket, and press down the on/off switch. The standby indicator light is on.
- Press to turn on the heater, which is in state of factory default when first time use. Factory default: Heating mode: comfort mode | Target temperature setting: 22°C
Date: 1(Monday); Time: 00:00 (Off) | Window open function: Off | Timer: Off If default settings are different, it will simply because the unit has been quality tested after production. - To stop the heater working, press to turn off the heater. Unplug the product when it’s not in use.
Clock and day of week setting
- Press down 3 secs to enter clock and day of week setting.
- The screen display d, press+ and – to select the day from 1-7.1: Monday, 2: Tuesday, 3: Wednesday, etc.
- Press CLOCK to confirm day setting and enter the clock hour setting, with the screen display H.
- Press + and – to set the current hour.
- Press CLOCK to confirm hour setting and enter the minute setting, with the screen display
- Press + and – to set the current minute.
- Press CLOCK to confirm settings.
Note: The clock and calendar will be reset to factory default if without power supply.
Heating mode
- Press to enter mode selection. By pressing, heating mode runs in a continuous cycle:

- Comfort mode: press and to set the temperature from 5-35°C.
- ECO mode: press and to set the temperature from 1-31°C.
- Note: ECO mode = Comfort mode – 4°C
- Pre-set heating program.
- Note: If the clock and day settings are not finished, the first time to enter P1/P2/P3 program setting, it is requested to set day and clock setting in advance.
- Anti-frost mode: the target temperature is 7°C. The temperature can’t be adjusted.
Default program schedules
- P1: (Monday-Sunday) Unadjustable program

- P2: (Monday-Friday) Unadjustable program

- P2: (Saturday-Sunday) Unadjustable program

- P3: (Monday-Friday) Adjustable program

- P3: (Saturday-Sunday) Adjustable program

P3 adjustable program setting
- When under P3 mode, press M over 3 secs to enter day setting.
- The screen displays d 1 , press + and – to set from d 1 – d 7 (Monday-Sunday).
- Press M to confirm and enter hour setting, the screen displays 00
- Press + and – to set from 00-23.
- Press M to choose heating mode for every hour (Comfort mode, ECO mode: Anti-frost mode: neither of 2 lights are illuminated).
- Repeat the operation until you have completed the schedule of every hour and every day. Note: After setting heating mode for hour 23, press to come back to day setting.
Note: when screen displays d 7, press finish all settings with display of P3.
Timer off function
- Press CLOCK one time, the screen display 0 H and keeps flashing.
- Press + and to set the timer from 0-24 hours.
- Press CLOCK again to confirm the setting, the timer indicator light is on.
Open window function
- When the product is in the status of standby, long-press the screen display O or OF, press or to set the open window function on or off.
- When the heater is under working, the temperature of environment decreases 2 degrees within 2 minutes, the open window function will be activated, the heater will stop working. The screen will display E3, press to get back working.
Sensor calibration
- When in standby mode, long press M and + buttons together for 3 seconds
- The screen will display the current temperature which the heater read from it’s sensor.
- Press + or, – to make the temperature as the right temperature you read from other devices (room thermometer).
For example, the heater displays 20 degrees, but the exact right room temperature is 22 degrees, then press + to make it into 22, done. - To save the calibration of the sensor press M button.
Notes: to calibrate the temperature, pls ensure the heater is already working for more than 30 minutes
WIFI CONFIGURATION AND VIDEO TUTORIALS
For up-to-date information please visit the website or scan the QR code below. 
CLEANING AND MAINTENANCE
- Switch off and unplug from the power supply before cleaning.
- Using a soft, moist cloth, with or without a mild soap solution, carefully clean the exterior surface of the product.
- CAUTION: Allow the product to completely cool before handling or cleaning it.
- Do not allow water or other liquids to run into the interior of the product, as this could create a fire and/or electrical hazard.
- We also recommend the periodic cleaning of this appliance by lightly running a vacuum cleaner nozzle over the guards to remove any dust or dirt that may have accumulated inside or on the unit.
- CAUTION: Do not use harsh detergents, chemical cleaners or solvents as they may damage the surface finish of the plastic components.
This marking indicates that this product should not be disposed with other household wastes throughout the EU. To prevent possible harm to the environment or human health from uncontrolled waste disposal, recycle it responsibly to promote the sustainable reuse of material resources. To return your used device, please use the return and collection systems or contact the retailer where the product was purchased. They can take this product for environmental safe recycling.
| Table 1 | ||||||
| Information requirements for electric local space heaters | ||||||
| Model identifier(s): BVF-NYBRO500 | ||||||
| Item | Sym- bol | Value | Unit | Item | Unit | |
| Heat output | Type of heat input, for electric storage local space heaters only | |||||
| Nominal heat output | Pnom | 0.5 | kW | Manual heat charge control with inte- grated thermostat | No | |
| Minimum heat output (indicative) | Pmin | 0.5 | kW | Manual heat charge control with room and/or outdoor temperature feedback | No | |
| Maximum continuous heat output | Pmax,c | 0.5 | kW | Electronic heat charge control with room and/or outdoor temperature feedback | No | |
| Auxiliary electricity consumption | Fan assisted heat output | No | ||||
| At nominal heat output | elmax | NA | kW | Type of heat output/room temperature control | ||
| At minimum heat output | elmin | NA | kW | Single stage heat output, no room temperature control | No | |
| In standby mode | elSB | 0.00061 | kW | Two or more manual stages, no room temperature control | No | |
| With mechanic thermostat room tem- perature control | No | |||||
| Model identifier(s): BVF-NYBRO1000 | With electronic room temperature control | No | ||||
| Item | Sym- bol | Value | Unit | With electronic room temperature control plus day timer | No | |
| Heat output | With electronic room temperature control plus week timer | Yes | ||||
| Nominal heat output | Pnom | 1.0 | kW | Other control options | ||
| Minimum heat output (indicative) | Pmin | 1.0 | kW | Room temperature control, with pres- ence detection | No | |
| Maximum continuous heat output | Pmax,c | 1.0 | kW | Room temperature control, with open window detection | Yes | |
| Auxiliary electricity consumption | with distance control option | Yes | ||||
| At nominal heat output | elmax | NA | kW | with adaptive start control | No | |
| At minimum heat output | elmin | NA | kW | with working time limitation | No | |
| In standby mode | elSB | 0.00061 | kW | with black bulb sensor | No | |
|
Contact details | ||||||
| Table 1 | ||||||
| Information requirements for electric local space heaters | ||||||
| Model identifier(s): BVF-NYBRO1500 | ||||||
| Item | Sym- bol | Value | Unit | Item | Unit | |
| Heat output | Type of heat input, for electric storage local space heaters only | |||||
| Nominal heat output | Pnom | 1.5 | kW | Manual heat charge control with inte- grated thermostat | No | |
| Minimum heat output (indicative) | Pmin | 1.5 | kW | Manual heat charge control with room and/or outdoor temperature feedback | No | |
| Maximum continuous heat output | Pmax,c | 1.5 | kW | Electronic heat charge control with room and/or outdoor temperature feedback | No | |
| Auxiliary electricity consumption | Fan assisted heat output | No | ||||
| At nominal heat output | elmax | NA | kW | Type of heat output/room temperature control | ||
| At minimum heat output | elmin | NA | kW | Single stage heat output, no room temperature control | No | |
| In standby mode | elSB | 0.00061 | kW | Two or more manual stages, no room temperature control | No | |
| With mechanic thermostat room tem- perature control | No | |||||
| Model identifier(s): BVF-NYBRO1000 | With electronic room temperature control | No | ||||
| Item | Sym- bol | Value | Unit | With electronic room temperature control plus day timer | No | |
| Heat output | With electronic room temperature control plus week timer | Yes | ||||
| Nominal heat output | Pnom | 2.0 | kW | Other control options | ||
| Minimum heat output (indicative) | Pmin | 2.0 | kW | Room temperature control, with pres- ence detection | No | |
| Maximum continuous heat output | Pmax,c | 2.0 | kW | Room temperature control, with open window detection | Yes | |
| Auxiliary electricity consumption | with distance control option | Yes | ||||
| At nominal heat output | elmax | NA | kW | with adaptive start control | No | |
| At minimum heat output | elmin | NA | kW | with working time limitation | No | |
| In standby mode | elSB | 0.00061 | kW | with black bulb sensor | No | |
|
Contact details | ||||||
This product is only suitable for well-insulated spaces or occasional use.



























