HMF 4612112 Key Safe with Electronic Lock

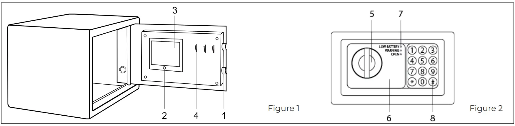
Key Safe With Electronic Lock Overview

- Bolts
- Reset Knopf
- Battery compartment
- Storage hooks
- rotary knob
- Emergency lock cover
- LEDs
- confirmation button
Important notes about operation / exclusion of liability
Please read carefully this manual before activating the lock. We assume no liability, neither for malfunctions caused by faulty changing, use of force or improper handling, nor in case of property or pecuniary damages due to inappropriate locking of the safe.
Keep the emergency key in a safe place, do not put them into the safe!
Commissioning / emergency opening
For the first opening or emergency opening, use the attached emergency key. Remove the emergency lock cover (6) and unlock the lock counterclockwise. Rotate the knob (5) clockwise to open the door.

Inserting the batteries
3.1 Leave the safe door open, open the battery compartment cover (3) of the vault and insert four AA batteries into the battery compartment (observe polarity).
Attention! If the red and green LEDs light up simultaneously, the batteries are low and fresh batteries should be inserted.
Storing the personal code
4.1 Press the reset button (2) on the inside of the door.
4.2 Now start entering your personal code (3 – 8 digits) as soon as the yellow LED lights up. Confirm the entry with “*” or “#”.
4.3 If the yellow LED flashes and three beeps follow, the new code has not been saved successful.
Please repeat the procedure.
Closing the vault
Close the door and turn the knob (5) counterclockwise. Now the door is locked.
Open the vault with your personal code
6.1 Enter your stored code (3 – 8 digits). When you press a button, a beep sounds and the yellow LED flashes.
6.2 Confirm the entry with “*” or “#”. The green LED lights up.
6.3 Rotate the knob (5) clockwise and pull the door to you within 5 seconds.
Attention! The preset code is “159”. You can use this if problems occur with the electronic lock. These are indicated by three flashes of the yellow LED on the electronic lock.
Automatic Lock
Three continuously wrong entries will activate the warning beep for 20 seconds. During the 20 seconds you cannot open the vault with a code. Please use the emergency key. If the wrong code is entered three times again, a warning beep will sound for 5 minutes. To stop the warning tone and open the safe, please use the emergency key and remove the batteries.
Wall mounting
Choose a suitable place to mount your key safe on the wall.
8.1 Drill holes for the dowels at the desired location.
8.2 Insert the dowels into the pre-drilled holes and secure the vault with appropriate screws
Attention! If you want to attach the vault to a concrete wall, use the expansion bolts. For mounting on a wooden wall, use the clamping screws. If necessary, use your own fixing material which is suitable for your installation location![]()

| ISSUES | CAUSE / HANDLING |
| The opening mechanism is sluggish or the vault opens only sometimes or not at all | Weak batteries / Please open the safe with the emergency key and insert new batteries. ATTENTION! Please note 2. Inserting the batteries! The code has to be restored. |
| The green and red LEDs light up simultaneously, the safe will not open | Weak batteries / Please open the safe with the emergency key and insert new batteries. ATTENTION! Please note 2. Inserting the batteries! The code has to be restored. |
| When pressing the buttons no sound is heard. | Weak batteries / Please open the safe with the emergency key and insert new batteries. ATTENTION! Please note 2. Inserting the batteries! The code has to be restored. |
| When pressing the buttons no LEDs light up. | Weak batteries / Please open the safe with the emergency key and insert new batteries. ATTENTION! Please note 2. Inserting the batteries! The code has to be restored. |
| The door is warped, the vault closes hardly. | Please adjust the safe door with using an Allen key |
| The safe opens with any code or, the stored code is not working. | The batteries may have been changed and you haven’t stored a new code. Please open the safe with the emergency keys and store a new code as describe under 3. Storing the personal code. |
















