DKG 80-16 Air Staple Gun
Product Information
The product is a professional-grade pneumatic tool available in three variants: DKG 80/16, DKNG 40/50, and DSN 50. The tool is designed for driving staples in various materials.
- DKG 80/16: 0.66 kg, 5.0-7.0 bar operating pressure, 7.0 bar maximum pressure, 1.25 x 1.00 mm staple size, Type 90 and Type ES staple types, 295 x 60 x 235 mm dimensions, and 85/4 LpA/KpA and 98/4 LWA/KWA emissions values.
- DKNG 40/50: 0.66 kg, 5.0-7.0 bar operating pressure, 7.0 bar maximum pressure, 1.25 x 1.00 mm staple size, Type 90 and Type ES staple types, 295 x 60 x 235 mm dimensions, and 85/4 LpA/KpA and 98/4 LWA/KWA emissions values.
- DSN 50: 0.6 kg, 5.0-8.0 bar operating pressure, 8.0 bar maximum pressure, 1.25 x 1.00 mm staple size, and 252 x 59 x 249 mm dimensions, and 85/4 LpA/KpA and 98/4 LWA/KWA emissions values .
Product Usage Instructions
- Before using the tool, read the user manual carefully.
- Ensure that the tool is connected to a clean, dry compressed air supply with no condensation.
- Attach the tool’s quick-coupling plug to the air supply hose.
- Wear appropriate personal protective equipment, including eye protection.
- Ensure that the work area is clear of any electrical, water, or gas lines before using the tool.
- Do not use the tool in wet or damp environments.
- Hold the tool firmly and direct the air flow away from yourself and others.
- Do not carry the tool by its hose.
- Disconnect the tool from the air supply and empty the magazine before performing any maintenance on the tool.
- If the tool needs repair, contact a Metabo representative for assistance.
- Dispose of the tool and its components in accordance with local environmental regulations.
Declaration of Conformity
Under our sole responsibility, we hereby declare that these compressed air stapler guns, identified by type and serial number *1), meet all relevant requirements of directives *2) and standards *3). Technical documents for *4) – see Page 3.
For UK only: We as manufacturer and authorized person to compile the technical file, see *4) on page 3,
hereby declare under sole responsibility that these compressed air stapler guns, identified by type and serial number *1) on page 3, fulfill all relevant provisions of following UK Regulations SI 2008/ 1597 and Designated Standards EN ISO 12100:2010, EN 792-13:2000+A1:2008

Specified Use
- DKG 80/16 are designed for driving in staples in the professional sector.
- DKNG 40/50 is designed for driving in staples and finishing nails in the professional sector.
- DSN 50 is designed for driving in finishing nails in the professional sector.
- The tool is not suited for driving in staples into hard surfaces such as steel and concrete!
- The stapler and fasteners should be regarded as a technical safety system. Only use the fasteners named in these operating instructions for the respective tool (see Section 11. Technical Specifications).
- This air tool must only be operated with a compressed air supply. Do not operate with explosive, combustible or harmful gases, or with oxygen. The maximum supply pressure specified on the air tool must never be exceeded. It must not be used as a lever, crushing tool or striking tool.
- Any other use does not comply with the intended purpose. Unspecified use, modification of the air tool or use of parts that have not been tested and approved by the manufacturer can cause unforeseeable damage.
- The user bears sole responsibility for any damage caused by improper use.
- Generally accepted accident prevention regulations and the enclosed safety information must be observed.
General Safety Instructions
WARNING: Read all safety warnings and instructions. Failure to follow all safety warnings and instructions may result in electric shock, fire and/or serious injury.
Keep all safety instructions and information for future reference. Pass on your air tool only together with these documents.
- The user or user’s employer must evaluate the specific risks associated with each application of the tool.
- You must read and understand the safety instructions before installing, operating, repairing or maintaining the tool, and also before replacing any fasteners or carrying out any work in the vicinity of the air tool. Failure to read and follow the instructions may lead to serious injury.
- Only qualified, trained operators are authorized to install, adjust or use the air tool.
- The air tool must not be modified. Any modifications implemented may reduce the efficiency of the safety measures and increase risks for the operator.
- Never use air tools that have been damaged. Look after your air tools carefully. Regularly check that all moving parts are functioning correctly without jamming. Also regularly ensure that no parts are broken or damaged to an extent that they affect the operation of the air tool. Check that all signs and labels are legible and intelligible. Have damaged parts repaired or replaced before using the tool. Many accidents are caused by poorly maintained air tools.
- Keep your fingers away from the trigger if you do not use this tool and change from one working position to another.
- Be careful when handling staples, especially when loading and unloading, as staples have sharp tips that could cause injury.
- Only wear gloves that provide a suitable feel and safe operation of the shutter release and all adjustment devices.
Special Safety Instructions
Risks associated with ejected parts
- If either the workpiece, fasteners or the air tool breaks, parts may be ejected at high speed.
- During operation, when replacing accessories or fasteners or during repair and maintenance work on the air tool, you must always wear impact resistant safety goggles. The degree of protection required for each individual task must be evaluated separately in each case.
- Ensure that the workpiece is securely attached.
- Disconnect the air tool from the compressed air supply before replacing the mounted tool or accessories, and also before carrying out maintenance, settings or cleaning.
- Also ensure that no other people are placed at risk.
Risks during operation
- The operator and maintenance staff must be physically capable of handling the size, weight and power output of the air tool.
- Make sure you hold the air tool correctly: be prepared to counter both routine and unexpected movements, so keep both hands ready.
- Ensure you stand in a safe position and keep your balance at all times.
- Avoid accidental operation. If the air supply is interrupted, do not actuate the trigger (9).
- Only use lubricants that have been recommended by the manufacturer.
- Wear personal protective equipment and always wear safety glasses and ear protection. Wearing personal protective equipment, such as non-slip safety shoes, reduces the risk of injury.
- Never point a stapler gun at yourself or other persons when it is ready for operation.
- When working, hold the stapler gun such that your head and body cannot be injured in case of a possible kickback.
- Never trigger the stapler gun into an open area.
- When the stapler gun is ready for operation,
always carry it by the handle (10) and never with the trigger actuated (9). - Closely observe the conditions at the workplace. Fasteners can possibly pierce thin workpieces or, when working on corners and edges, slip off workpieces and cause injury.
- Keep all body parts such as hands, legs etc. away from the direction of fire and ensure that the staples cannot penetrate any body parts.
- When using the tool, be aware that the staples may bounce off and thus cause injuries.
- Always inspect the tool for defective, incorrectly connected or worn parts before use.
- The details of any staples that can be used must include the minimum and maximum diameter, length and characteristics of the staples, such as caliber and angle.
- Do not exceed the maximum operating pressure Ps max when using devices powered by compressed air.
Warning: Only connect to compressed air lines after you have ensured that it is not possible to exceed the permissible operating pressure by more than 10% (eg using pressure reducers)
Risks associated with accessories/fasteners
- Disconnect the pneumatic tool from the air supply before fitting or removing the protective cap (1), change accessories or consumables before adjustments are made.
- Only use accessories or staples that are suited for this tool in size and shape and that fulfill the requirements and the specifications listed in these operating instructions.
- Only use accessories that are in good condition. If accessories are defective, they may break and be ejected during operation.
- Use only lubricants approved by the manufacturer.
- The details of any staples that can be used must include the minimum and maximum diameter, length and characteristics of the staples, such as caliber and angle.
Risks in the workplace
- Slipping, tripping and falling are the main reasons for accidents in the workplace. Pay attention to surfaces that may have become slippery as a result of using the air tool, and also be careful that the air hose does not cause someone to trip.
- Proceed carefully when working in unfamiliar environments. Power cables and other supply lines may represent a hidden risk.
- The air tool is not designed for use in explosive environments and is not insulated against contact with sources of electric power.
- Ensure that the area where you wish to work is free of power cables, gas lines or water pipes (eg by using a metal detector).
- Keep away third parties. Clearly mark your work area.
- Do not lean too far forward. Use only in a safe workplace
Risks associated with noise
- Failure to use adequate ear protectors when the noise level is high can result in lasting damage to hearing, hearing loss and other problems, such as tinnitus (ringing, whistling or buzzing in the ear ).
- It is vital to carry out a risk assessment in relation to these risks and to implement appropriate control measures that take the risks into account.
- Noise levels can also be reduced through suitable arrangement of the workplace, eg placing workpieces on noise-insulating supports.
- Use ear protection in accordance with your employer instructions or in accordance with health and safety regulations.
- The air tool must be operated in accordance with the recommendations provided in these instructions and must be maintained in order to avoid unnecessarily raising the noise level.
- To avoid increasing the noise level unnecessarily, the consumables and the mounted tool must be selected, maintained and replaced in accordance with these instructions.
- The integrated sound absorber must not be removed. You must ensure the sound absorber is in good working order.
Additional safety instructions
- Compressed air can cause serious injury.
- Whenever the air tool is not in use, and before replacing accessory parts or when carrying out repairs, you must ensure that air supply is shut off, that the air hose is depressurized and that the air tool is disconnected from the compressed air supply.
- Never direct the air jet at yourself or other people.
- Whiplashing hoses can cause serious injury.
Therefore always check that the hoses and their fixtures are in good condition and that they have not become loose. - If universal swivel couplings (claw couplings) are being used, locking pins are also required. You should also use whip check hose restraints in case there is a problem with the connection between the hose and air tool or between the hoses themselves.
- Ensure that the maximum pressure specified on the air tool is not exceeded.
- Never carry air tools by the hose.
- Keep your fingers away from the trigger when the tool is not used and when moving from one operating position to another.
- Never pull an air-powered tool by its hose.
- The use of oxygen or flammable gases to operate air-powered tools is not permitted and creates a fire and explosion hazard.
- Be careful when using air-powered tools, since the tool may become cold, since the tool may become cold, affecting grip and control of the same.
- If applicable, observe any special health and safety or accident prevention regulations governing the use of compressors and compressed air tools.
- Ensure that the maximum supply pressure specified in the Technical Specifications is not exceeded.
- Do not overload the tool use it only within the performance range for which it was designed (see “Technical Specifications”).
- Use non-hazardous lubricants. Ensure the workplace is adequately ventilated. If there is a large amount of discharge: check the air tool and have it repaired if necessary.
- Do not operate the tool unless you are completely focused. You must be alert, pay attention to what you are doing and proceed cautiously when working with an air tool. Never use a tool when you are tired or under the influence of drugs, alcohol or medication. Just one moment’s carelessness when using the tool can cause serious injury.
- Make sure your workplace is clean and well lit. Untidy or poorly lit workplaces can cause accidents.
- Keep air tools away from children.
- Do not store the tool outdoors or in damp conditions without protection.
- Protect the air tool, especially the compressed air connection and the control elements from dust and dirt.
- Staple guns with contact actuation (see Technical Specifications) are identified by the symbol “Do not use on scaffolding or ladders” and must not be used for certain applications, eg:
- When changing from one fastening point to another involves the use of scaffolding , steps, ladders or similar structures, such as roofing battens.
- The sealing of boxes or crates.
- When fitting transport locks, eg on vehicles or carriages.
- Staple guns with contact actuation (see Technical Specifications) must not be used for certain applications, eg: When changing from one fastening point to another involves the use of scaffolding, steps, ladders or similar structures, such as roofing battens.
- The closing of cartons, boxes or crates and the installation of transport security systems on trailers and trucks.
- Do not leave your finger on the trigger when the tool is picked up, moved between work areas and positions, or when walking, as leaving your finger on the trigger could lead to unintended operation. For units with a switchable trigger, always check that the tool is set in the correct mode before use.
- This tool has either switchable triggers for contact actuation or continuous contact actuation via trigger system selector or is a contact actuation or continuous contact actuation tool and has been marked with the above symbol. Its purpose are production applications such as pallets, furniture, prefabricated houses, upholstery and cladding.
- If this tool is used in switchable actuator mode, always ensure that it is the correct actuator setting.
- Do not use the tool in contact actuation for applications such as the closing of cartons, boxes or crates and the installation of transport security systems on trailers and trucks.
- Be careful when moving from one application location to another. Risks associated with vibration
- The effects of vibrations can damage nerves and impair blood circulation in the hands and arms
- When working in cold environments, you must wear warm clothing and keep your hands warm and dry.
- If you notice that the skin on your fingers or hands is numb, prickling or turning white, stop working with the pneumatic tool immediately, notify your employer and consult a doctor.
- The pneumatic tool must be operated in accordance with the recommendations provided in these instructions and must be maintained in order to avoid unnecessarily raising the level of vibration.
- To avoid increasing the level of vibration unnecessarily, consumables and the accessory must be selected, maintained and replaced in accordance with these instructions.
- Hold the pneumatic tool firmly but not too tightly using the required manual torque reaction: the risk of vibration is increased when the grip force is higher.
- The tool is not suited for driving in staples into hard surfaces such as steel and concrete!
Risks associated with flying objects
- The staple gun must not be connected when staples are removed, adjustments are made, blockages are removed and accessories are replaced.
- During operation, always ensure that the collection items penetrate the material correctly and are not deflected or misdirected towards the user and/or third parties.
- During operation, fragments can be ejected from the workpiece or from the fastening or storage system.
- Always wear shockproof eye protection with side shields while operating the tool.
- The risk to others/third parties must be assessed by the user.
- Be careful with tools that do not come into contact with workpieces, since they can be triggered unintentionally and injure the user and/or third parties.
- Ensure that the tool is always safely positioned on the workpiece and cannot slide off.
Risks associated with repeated movements
- When working with the pneumatic tool, you may experience an uncomfortable sensation in your hands, arms, shoulders, neck or in other body parts.
- When working with the pneumatic too, adopt a suitable but ergonomic posture. A secure stand must be maintained and awkward or unstable positions must be avoided.
- If carrying out work over an extended period, the operator should change position occasionally. This should help to avoid fatigue and any unpleasant feeling.
- If the user experiences symptoms such as persistent or recurring discomfort, pain, palpitations, aching spots, tingling, numbness, burning sensation or stiffness, these warning signals should not be ignored. The operator must advise the employer of these symptoms and consult a qualified doctor.
Risks associated with dust and vapors
- The dust and vapors generated when the pneumatic tool is used may carry health risks (eg cancer, birth defects, asthma and/or dermatitis); it is therefore imperative that a risk assessment is carried out in relation to these risks and that suitable controls are then implemented.
- The risk assessment should take into account both the dust generated while the pneumatic tool is used and any existing dust that may be raised during operation.
- The extracted air must be discharged in such a way that the minimum of dust is raised in a dust filled environment.
- If dust or vapors are generated, the main priority is to control these at the location where they are released.
- All built-in or accessory parts on the pneumatic tool that are designed to collect, extract or prevent air-borne dust or vapors must be used and maintained in accordance with the manufacturer’s instructions.
- Use protective breathing apparatus in accordance with your employer instructions or in accordance with health and safety regulations. Information in these operating instructions is categorized as shown below:
- Danger! Risk of personal injury or environmental damage. Bail. Risk of material damage
Symbols on the air tool
- Read the Operating Instructions before starting to use the machine.
- Wear safety goggles.
- Wear ear protectors.
- Do not use on scaffolds or ladders
- The air tool is equipped with a trigger safety lock.
- Actuation in contact actuation mode possible, be careful when moving from one application location to another.
Warning: Please read the instructions and warnings for this tool carefully before use. Failure to do so could lead to serious injury. - Before starting work, always check the safety and trigger devices for perfect operation and ensure that screws and nuts are firmly seated
- The tool must not be manipulated, subject to emergency repair or used in a non-specified manner
- Never disassemble or block parts such as the trigger device of the stapler gun.
- Avoid all kinds of weakening or damage to the tool.
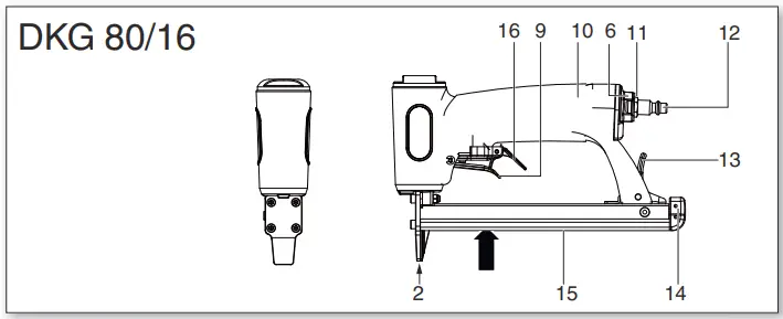
Overview



- Protective cap *
- Opening
- Trigger safety lock *
- Lever (for opening the service port)
- Service port
- Air outlet / exhaust air aperture *
- Insertion depth control *
- DKG 114/65: Switch (select operating mode sequential actuation with safety sequence or contact actuation) *
- Trigger
- Handle
- Compressed air connection with filter
- Plug-in nipple 1/4″
- Locking lever *
- Magazine slider
- Magazine
- Unlocking lever (for tools without trigger safety lock) * * depending on model.
Operation
Before using the tool for the first time
Insert plug-in nipple (12).
Connect to compressed air line
Warning
- Empty the magazine (15) to prevent fasteners from being ejected when connecting. (If, as a result of repair, maintenance work or transport, interior parts of the stapler gun are not in initial position).
- Only connect to compressed air lines after you have ensured that it is not possible to exceed the permissible operating pressure by more than 10% (e.g. using pressure reducers).
- Only use quick-action couplings. Make the connection such that the unlockable plug-in nipple is fitted on the tool so that there is no more compressed air in the tool after disconnection.
To benefit from the air tool’s full performance, always use compressed air hoses with an inner diameter of at least 9 mm. Tool performance can be significantly impaired if the inner diameter is too small.
Caution
- The compressed air line must not contain any water condensation.
- To preserve and extend the service life of this tool, you must ensure that it is regularly maintained with the pneumatic oil lubricator. You can do this as follows:
- Use oiled compressed air by fitting an oil-fog lubricator.
- Without an oil-fog lubricator: manually apply oil every day via the compressed air connection. Approx. 3-5 drops of pneumatic oil lubricator for each 15 minutes of continuous operation.
- If the tool has not been in use for several days, you should manually apply about 5 drops of pneumatic oil lubricator into the compressed air connection.
Filling the magazine
Warning
- To fill the magazine (15), hold the device so that the opening (2) is not directed at your own body or other persons.
- To fill the magazine (15), hold the device so that the opening (2) is not directed at your own body or other persons.
See illustration in the operating instructions.
- Actuate the locking lever (13) (depending on features) and then…
- pull back the magazine slider (14).
- Insert fasteners that are suitable for the tool (see Section 8. and 11.) in the magazine.
- Push in magazine slider (14) (until it engages at locking lever (13) (depending on features)).
Setting / using the pneumatic tool
Do not leave your finger on the trigger when the tool is picked up, moved between work areas and positions, or when walking, as leaving your finger on the trigger could lead to unintended operation.
Caution: Avoid empty shots – do not act with empty magazine.
- Turn the exhaust air aperture (6) (depending on features) into the desired position.
- For sensitive workpiece surfaces, fit the protective cap (1).
- Connect the air tool to the compressed air supply (see Section 6.2).
- Fill magazine (15) (see Section 6.3).
- Set the air pressure initially to the smallest value for the recommended operating pressure.
- Press the mouth (2) of the stapler onto the workpiece and actuate the trigger (9) (see Section 6.5).
- Increase or reduce operating pressure in steps of 0.5 bar until the desired fastening result is achieved.
Warning: The stapler should be operated with lowest possible operating pressure. (This saves energy, reduces the noise level and wear) Ensure that the maximum operating pressure is not exceeded. - For fine adjustment, the insertion depth can be adjusted at the insertion depth control (7) (depending on features).
- If fasteners become jammed, disconnect the tool from the compressed air supply, actuate the lever (4) to open the service port (9) and remove the defective fastener.
- Before long pauses or at the end of work, disconnect the tool from the compressed air source and empty the magazine.
Actuating the air tool
Important
- DKG 80/16 work without a trigger safety lock. Use your middle finger to unlock the tool at the unlocking lever (16); only then can the shot be triggered with the forefinger on the trigger (9).
- The other stapler guns (all except for DKG 80/ 16) are equipped with a trigger safety lock (3) and identified by an equilateral triangle on its tip. The trigger safety lock only permits work when the lock (3) is pressed on the fastening point and the trigger (9) is actuated. These tools must only be used with a functioning trigger safety catch.
- If a tool is defective or not functioning perfectly, disconnect it from the compressed air source immediately and forward it to a specialist for inspection.
Care and Maintenance
Danger: Disconnect the compressed air connection and empty the magazine before carrying out any work on the tool. Repair and maintenance work other than the work described in this section should only be carried out by qualified specialists.
- Protect the compressed air connections of the stapler and the hose line against contamination.
- Carry out regular maintenance to ensure the safety of the air tool.
- Check that all screw fittings are seated securely, and tighten if necessary.
- Clean the filter in the compressed air connection at least once a week.
- It is recommended that you install a pressure reducer with an air-water separator and lubricator upstream of the air tool.
- If a large amount of air or oil is escaping, check the air tool and have it maintained if necessary. (See Section 9.)
Accessories
Use only genuine Metabo accessories.
Only use accessories that are designed for this air tool and that fulfill the requirements and the specifications listed in these operating instructions.
For a complete range of accessories, see www.metabo.com or the catalogue.
Repairs
Danger: Repairs to the air tools must only be carried out specialists using original Metabo spare parts and who observe the specifications in the operating instructions!
(‘Specialists’ are persons who, on the basis of their technical training and experience, have sufficient knowledge in the area of staplers and who are sufficiently familiar with the relevant statutory occupational safety regulations, accident prevention regulations, directives and generally recognized technological rules that they are able to assess the status of staplers with regard to work safety.) If you have Metabo air tools that require repairs, please contact your Metabo service center. For addresses see www.metabo.com.
You can download spare parts lists from www.metabo.com.
Environmental Protection
Observe national regulations on environmentally compatible disposal and on recycling. You must not cause risks to people or the environment.
Do not dispose used tools with household trash; dispose of properly at a collection point for recycling disused machines, packaging and accessories.
Technical Specifications
Explanatory notes on the specifications on Page 3. Subject to change in line with technological advances.
- V = Air consumption per fastening operation
- p = Recommended operating pressure
- pmax. = Maximum permissible supply pressure
- LC = Filling capacity of suitable compressors
- AS = Type of actuation:
- S1 = Sequential actuation
- S2 = Sequential actuation with safety sequence
- C = Contact actuation
Explanation
- Sequential actuation: The trigger (9) must be actuated for every fastening operation. For each additional fastening operation, the trigger first has to be moved back to initial position.
- Sequential actuation with safety sequence: For each fastening operation, the trigger (9) and trigger safety lock (3) must be actuated so that a single fastening operation is initiated via the trigger after the opening of the tool is placed on the fastening point. Additional fastening operations can only be actuated if the trigger and trigger safety lock are in initial position.
- Contact actuation: For every fastening operation, the trigger (9) and trigger safety lock (3) must be actuated, whereby the order of actuation is not defined. For subsequent fastening operations, it is sufficient either if the trigger remains actuated and the trigger safety lock is actuated, or vice versa.
Finishing nails that can be used:
- NTyp = Type
- NL = Length
- NT = Wire thickness
Staples than can be used:
- KTyp = Type
- KB = Back width
- KL = Length
- KT = Wire thickness
- A = Dimensions: Length x Width x Height
- m = Weight (without fasteners)
The technical specifications quoted are subject to tolerances (in compliance with the relevant valid standards).
Emission values
Using these values, you can estimate the emissions from this tool and compare these with the values emitted by other tools. The actual values may be higher or lower, depending on the particular application and the condition of the tool or mounted tool. In estimating the values, you should also include work breaks and periods of low use. Based on the estimated emission values, specify protective measures for the user – for example, any organizational steps that must be put in place.
Vibration (weighted effective value of acceleration;
- EN 28662-1, ISO 8662-11) :
- ah =Vibration emission level
- Kh =Measurement uncertainty (vibration)
Sound level (EN 12549):
- LpA =Sound pressure level
- LWA =Acoustic power level
- KpA, KWA= Measurement uncertainty





















