smeg TSF03 4 Slice Toaster

Dear customer,
Thank you very much for purchasing the 4 slice toaster from our 50’s Style range. By choosing one of our products, you have selected an appliance which combines iconic style with innovative technical design and attention to detail This appliance coordinates perfectly with other Smeg products, or works equally great as a standalone statement piece in your kitchen. We hope you enjoy using your new appliance! For further information on the product, please visit: www.smeg50style.com or www.smeg.com.
TRANSLATION OF THE ORIGINAL INSTRUCTIONS
We advise you to read this manual carefully as it contains all the instructions for maintaining the appliance’s aesthetic and functional qualities.
For further information on the product: www.smeg.com
Instructions
Introduction
Important information for the user:
Instructions
General information on this user manual, on safety and final disposal.
Description
Description of the appliance and its accessories.
Use
Information on the use of the appliance and its accessories.
Cleaning and care
Information for proper cleaning and maintenance of the appliance.
- Safety instructions
- Information
- Advice
This user manual
This user manual is an integral part of the appliance and must therefore be kept in its entirety and in an accessible place for the whole working life of the appliance.
Intended use
- Only use the appliance indoors.
- This appliance has been designed specifically for domestic use. It must only be used for toasting bread. Do not use the appliance for purposes other than those for which it was designed.
- Carefully follow the notes and suggestions provided in the user manual.
- Detailed information on cleaning the appliance can be found in the “Cleaning and care” section.
- Only use the appliance for toasting bread.
- The appliance can also be used for preparing toasted sandwiches but only if the specific sandwich racks are used
(sold separately). - If food or other substances come in to contact with the heating elements they may cause unpleasant odours, smoke and damage the appliance.
- The appliance is not designed to operate with external timers or with remote control systems.
- This appliance must not be used by children under 8 years of age and by people of reduced physical, sensory and mental capacity, or lacking in experience in the use of electrical appliances, unless they are supervised or instructed by adults who are responsible for their safety.
- Children must not be allowed to play with the appliance. Keep the appliance out of the reach of children.
General safety instructions
Follow all safety instructions in order to use the appliance safely.
- Do not immerse the appliance, power cable or plug in water or any other type of liquid.
- Do not use the appliance if the power cable or plug appear to be damaged or if the appliance has been dropped or damaged in any way.
- Do not place the appliance on top of or close to gas or electric hobs that are turned on or in a heated oven.
- The power cable is short in order to prevent accidents. Do not use an extension cable.
- In the event of a fault, repairs should only be carried out by a qualified technician.
- Switch off the appliance immediately after use.
- Never try to put out flames or a fire with water: turn off the appliance, remove the plug from the power outlet and smother the flames with a lid or fire blanket.
- Read this user manual carefully before using the appliance.
- Do not modify this appliance.
- Do not attempt to repair the appliance yourself. Contact a qualified engineer.
- If the power supply cable becomes damaged, contact technical support immediately.
For this appliance
- The toaster can become very hot during operation. Do not touch hot surfaces. Use the knob and the control functions, the breadlift and the other optional accessories.
- emove the plug from the power socket when the toaster is not in use, before cleaning it and if there is a fault. Allow the appliance to cool down before cleaning it.
- Bread may burn. Therefore, do not use the appliance close to or below combustible materials such as curtains.
- Make sure that the breadlift is in the raised position before you insert or remove the plug.
- Make sure that air can circulate freely around the toaster. Do not place anything on top of the toaster.
- Do not try to remove the bread from the toaster when it is still in operation.
- Do not place metallic objects such as knives, forks or spoons on the appliance when it is in use.
- Do not use metallic objects such as knives, forks or spoons to clean the toaster.
- The appliance must not be cleaned by unsupervised children.
Manufacturer liability
The manufacturer declines all liability for damage to persons or property caused by:
- The use of the appliance for purposes other than those for which it was designed.
- Not having read the user manual.
- Tampering with any part of the appliance.
- The use of non-original spare parts.
- The failure to follow the safety instructions.
Identification plate
The identification plate shows the technical data, serial number and brand name of the appliance. Do not remove the identification plate for any reason.
Disposal
This appliance must be disposed of separately from other waste (Directive 2012/19/EU). The appliance does not contain substances in quantities sufficient to be considered hazardous to health and the environment, in accordance with current European directives.
Live parts Electrocution hazard
- Disconnect the mains power supply.
- Disconnect the power cable from the electrical system.
- Old electrical appliances must not be disposed of together with household waste! To comply with current legislation, electrical appliances, on reaching the end of their useful lives, must be taken to an appropriate recycling centre for electrical and electronic waste. In this way, any valuable materials contained in the old appliances can be recycled, helping to protect the environment. For further information, contact the relevant local authorities or your nearest waste recycling centre. Our appliances are packaged in non-polluting and recyclable materials.
- Deliver the packing materials to the appropriate recycling centre.
Plastic packaging Danger of suffocation
- Do not leave the packaging or any part of it unattended.
- Do not let children play with the plastic bags.
Description

Model TSF03 – 4 Slice Toaster
- Extra-wide slots with self-centring racks
- Breadlift
- Double control panel
- Crumb tray
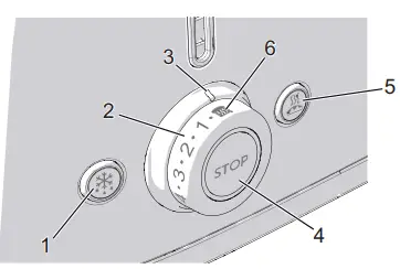
Control panel
The toaster is fitted with two independent control panels. Each control panel controls 2 slots to allow different settings to be used for the available functions.
Defrost function button
This function is useful when toasting frozen bread. During toasting, the defrost button lights up to indicate that the toasting cycle is active.
Browning control knob
This control is used to select one of the 6 browning levels or the Reheat function. During toasting, the central LED lights up to indicate that the toasting cycle is active.
Browning indicator
This shows the selected browning level or the selected Reheat function.
Stop function button
The stop button can be used to cancel or stop the toasting cycle at any time.
Bagel function button
This function allows you to toast one side of a bagel, or any other kind of bread, without toasting the other side. During toasting, the Bagel button lights up to indicate that the function is active.
Reheat Function
This function is used to reheat cold sandwiches or to continue a toasting cycle if the result is not satisfactory. During toasting, the central LED lights up to indicate that the toasting cycle is active.
Use
Electrocution hazard
- Insert the plug into an earthed three-pin power outlet.
- Do not remove the earth pin.
- Do not use an adapter.
- Do not use an extension cable.
- Failure to follow these instructions can cause fires, electric shocks or even death.
Before first use
- Remove all stickers and labels and clean the outside of the toaster using a damp cloth.
- Use the toaster for the first time without slices of bread in it.
- Turn the two Browning controls to the maximum position and lower the two breadlifts. This will burn off any dust that has fallen into the toaster during production or transport.
- When using the appliance for the first time you may notice some smoke and an unpleasant smell.
Tips and suggestions
- The first cycle allows the heating elements to reach the correct temperature for toasting. The following cycles may take less time to toast the slices of bread.
- The type of bread used affects the toasting time. The fresher the bread, the longer it takes to toast it. Different types of bread and different moisture contents may require different browning levels.
For best results:
- Toast only one type of bread at a time.
- Toast bread slices of the same thickness.
- Use bread slices no thicker than 30 mm.
- If you are using handcut bread please try to cut slices as evenly as possible. Uneven slices will toast unevenly.
- Do not use slices of bread that are very thin or broken as they may burn.
Operation
- If necessary, shorten the power cable by winding it under the base.

- Plug in the toaster.
- Place the slices of bread into the slot.
- If the slice of bread is not square, it may be necessary to turn it onto its side in order to insert it more easily and to optimise the toasting surface.
- Select the required degree of browning using the control knob for the pair of slots in which the bread has been placed (browning levels from 1 to 6, from light to dark) or the “Reheat function”


- Push the breadlift downwards until it clicks to activate the toasting cycle.

- If necessary, select one or both of the additional Defrost
or Bagel
functions. The heating element now switches on. The bread is centred automatically for even toasting. - The toasted bread will pop up automatically when it is ready. .
If the toast is not sufficiently browned and requires more time, press the Reheat
extend the toasting time.
Warning
- If the appliance is not connected to the mains power supply, the breadlift will not lock.
Special functions
Cancelling / stopping the toasting cycle The toasting cycle can be cancelled or stopped at any time by pushing the SPOT button.
Defrost
This function gently defrosts frozen bread and toasts it to the selected level of browning. To use the function, simply insert the bread into the slot, select the required level of browning, push the breadlift downwards until it clicks and then press the defrost button: the indicator light of the button will turn on. The toasting time will be automatically increased to allow the bread to defrost and brown correctly. The light of the Defrost button will switch off when the toast pops up automatically.
Bagel
Ideal for bagels, flat bread, muffins, baguettes, etc. This special function allows you to toast one side without toasting the other side. To use the function, simply insert the bread into the slot with the side to be toasted facing outwards, select the required level of browning, push the breadlift downwards until it clicks and then press the Bagel function button: the light of the button will turn on. The toasted bread will pop up automatically when it is ready and the light of the Bagel function button will switch off.
Reheat
This function allows you to reheat bread and cold sandwiches or to continue a toasting cycle if the result is not satisfactory. To use the function, simply insert the bread into the slot, select the Reheat function on the browning control knob and push the breadlift downwards until it clicks. The central light of the browning control knob will light up. When the toasting cycle has finished, the bread will pop up automatically and the light of the control knob will switch off.
The Defrost
or Reheat
and Bagel
functions can be selected at the same time.
Using optional accessories
- Accessories may differ according to the specifications.
Hot appliance
- The sandwich rack and bun warmer become very hot during the toasting cycle. When removing them from the toaster, take care not to burn yourself by touching the metal parts.
Sandwich racks

Model TSSR01 suitable for Toaster TSF03
The sandwich racks allow you to toast filled sandwiches or remove small rolls such as bagels, more easily.
Tips and suggestions
- For best results use thinly sliced ingredients and finely grated cheese.
- For best results use cold meat (ham, turkey etc.) at room temperature, not straight from the refrigerator.
- Do not overfill the sandwich.
- If the toaster is set to a low level of browning, the cheese and/or cold meats may become only moderately warm. In this case, leave the sandwich in the slot for a few moments after it has been toasted or extend the toasting time by pressing the Reheat
button.
Warning
- If the appliance is not connected to the mains power supply, the breadlift will not lock.
How to use:
- Open the rack with the handles.
- Place the sandwich into the rack.
- Close the sandwich rack handles together to grip the sandwich.

- Insert the sandwich rack into the slot and select a browning level. If it has not been browned sufficiently, press the Reheat
button to extend the toasting time. - Push the breadlift downwards until it clicks to activate the toasting cycle.
- Remove the sandwich rack from the toaster when the toasting cycle ends.
Bun warmer

Model TSBW01 suitable for Toaster TSF03
The bun warmer is useful for warming small bread rolls, flat bread or pastries.
Warning
- To prevent overheating of the appliance, please use only one bun warmer at a time.
How to use:
- Place the bun warmer on top of the toaster, making sure that the wire feet at the ends fit into the slots of the toaster.
- Place the small bread rolls, focaccias or pastries on top of the bun warmer and select browning level ‘1’ (not higher).
- Push the breadlift downwards until it clicks to activate the toasting cycle.

Cleaning and care
Instructions
Improper use Electrocution hazard
- Disconnect the plug from the power outlet before cleaning the toaster, crumb trays and optional accessories.
Hot appliance Burn hazard
- Allow the appliance and the optional accessories to cool down before cleaning.
Improper use Risk of damage to surfaces
- Do not use steam jets to clean the appliance.
- Do not use cleaning products containing chlorine, ammonia or bleach on parts made of steel or that have metallic surface finishes (e.g. anodizing, nickel- or chromium-plating).
- Do not use abrasive or corrosive detergents (e.g. powder products, stain removers and metallic sponges).
- Do not use rough or abrasive materials or sharp metal scrapers.
Cleaning the surfaces
To keep the surfaces in good condition they should be cleaned regularly after use. Allow them cool first.
Ordinary daily cleaning
Always use products that do not contain abrasives or chlorine-based acids. Pour the product onto a damp cloth, wipe the surface thoroughly and dry with a soft cloth or a microfibre cloth.
- In the case of grease or oil splatters on the toaster, remove them immediately using a damp soft cotton cloth.
Food stains or residues
Do not for any reason use steel sponges or sharp scrapers as they will damage the surfaces. Use ordinary, non-abrasive products and wooden or plastic tools if necessary. Wipe thoroughly and dry with a soft cloth or microfibre cloth.
Cleaning the crumb trays
The toaster is provided with two crumb trays, one for each pair of slots. To clean the crumb tray, proceed as follows:
- Press the crumb tray in order to release it, then pull it out and empty it. Empty the crumb tray after each use.

- The crumb trays are handwashable. Always dry the trays thoroughly before putting them back in the toaster.
- Put the crumb tray back in the toaster. Press it in firmly until it clicks into position. Do not use the toaster without the crumb tray installed in the proper position.

Cleaning the optional sandwich rack and bun warmer
The sandwich rack and bun warmer can be washed by hand. After washing, rinse and dry them thoroughly with a soft cloth.
The manufacturer reserves the right to make any changes deemed useful for the improvement of its products without prior notice. The illustrations and descriptions contained in this manual are therefore not binding and are merely indicative.



























