CT04MD 4 Slice Commercial Toaster
User Manual


| Model No. | Description | Voltage |
| CT04MD | 4 Slice Commercial Toaster | 120v |
safety precautions
When using electrical appliances, basic safety precautions should always be followed, including the following:
Operation:
- Read all instructions carefully and completely.
- For commercial use only.
- DO NOT touch hot surfaces.
- Protect against electrical shock by keeping all cords, plugs, and other electrical components away from water or other liquids.
- Unplug this unit when not in use and before cleaning.
- Allow the unit to cool before putting on or taking of parts.
- DO NOT operate this or any appliance with a damaged electrical cord or plug.
- DO NOT operate this or any appliance after it has malfunctioned or has been damaged in any way.
- DO NOT use outdoors.
- DO NOT place on or near a hot gas or electric burner.
- Attach the plug to appliance first, then plug electrical cord into the wall outlet.
- Disconnect the unit by removing the electrical plug from the wall outlet.
- DO NOT use an appliance for any application other than intended use.
- DO NOT insert metal utensils or oversized foods into this unit, as they may cause a fire and heighten the risk of electrical shock.
- DO NOT store any item on top of this unit when in operation.
- DO NOT allow this oven to touch or to be covered by flammable material, such as curtains, draperies, walls, etc., when in operation.
- DO NOT clean with metal scouring pads, as pieces can break of and touch electrical components, heightening the risk of electrical shock
- Never place materials such as paper, cardboard, plastic, etc. in this oven.
- DO NOT cover the interior of this unit with metal foil, as it may cause the oven to overheat.
- Avoid scratching the surface or nicking the edges of this unit. If the oven is damaged or broken, contact customer service before use.
- Turn of the appliance by removing the plug from the wall outlet.
- Note that the use of accessories not recommended by the manufacturer may result in injury.
- Children should be supervised to ensure that they DO NOT play with the oven.
- This appliance is not intended for use by persons (including children) with reduced physical sensory or mental capabilities, or lack of experience and knowledge unless a person responsible for their safety has given them supervision or instruction concerning the use of the appliance.
- When using the appliance in shops, snack bars, hotels, etc., check the voltage and outlet to make sure the appliance is correctly connected with power.
- Place unit on a flat surface that is well ventilated. The appliance must be supervised during operation. DO NOT leave appliance without powering off.
NOTE: Save these instructions for future reference.
key parts

| 1. CRUMB TRAY | 5. SLOT |
| 2. BROWN LEVEL CONTROL KNOB | 6. SLOT |
| 3. FOOT | 7. LIFT CARRIAGE |
| 4. SIDE PANEL | |
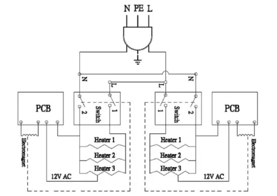
circuit diagram

before using your toaster
Before cooking anything in your oven for the first time, please follow these simple instructions:
- Use a damp cloth to wipe the interior and shell.
• DO NOT use a spray or abrasive polishing agent
• DO NOT wash or soak this oven with water - Preheat to its highest temperature setting for 5 minutes.
• The heating elements are well lubricated, and this initial use will help burn of the extra grease.
• A light amount of smoke is normal during this process.
before using your toaster
- Load the food.
- Set desired brown level.
• There are 2 Brown Level Control Knobs on the front panel of the oven. Each one controls the 2
slots above. Set the desired brown level with the knobs before pressing down the Lift Carriage. - Press the Lift Carriage down; the oven will start heating.
- Once the toasting cycle is complete, the oven will ‘ding’ and the food will pop up automatically.
• If you need to cancel cooking before the cycle is completed, raise up the Lift Carriage.
Food will pop up, and the cycle will end.
CAUTION: During the baking process, make sure that no metal accessory comes in contact with the electric heating elements.
CAUTION: Foods baked in this oven will be hot. Use tools when reaching into the oven to retrieve food.
TYPICAL OPERATION SEQUENCE
| ACTION | RESULT |
| Plug in your toaster | Power is connected, and the toaster is ready for cooking |
| Load food into the slot | Food is ready to be cooked |
| Adjust brown level control knob | Set the brown level of food |
| Press the lift carriage down | Toaster starts heating |
| Raise up the carriage | Toaster stops toasting |
| Unload toaster | Product will be cooked/hot; use caution while removing |
cleaning && maintenance
- Unplug the power cord from the wall outlet.
- Wait for the toaster to cool.
- Use a damp cloth or sponge to gently wipe down the inside of the toaster.
CAUTION: DO NOT soak this toaster in water or use running water to clean it.
THIS WILL CAUSE SERIOUS DAMAGE TO THE UNIT.
troubleshooting
PROBLEM: The toaster does not become hot after being switched on.
- Be sure that the brown level is set.
- Be sure that the lift carriage is pressed down.
PROBLEM: There is a metallic sound when the toaster is in use.
- DO NOT attempt to dismantle your toaster.
- Discontinue use, and contact your service agent right away for examination.
PROBLEM: Food is often overcooked or burned.
- Check that the brown level is correctly set.
- Contact your service agent for examination.
all parts

| Model # | CT04MD |
| VOLTAGE | 120V |
| HERTZ | 60Hz |
| WATTAGE | 1800W |
| DIMENSIONS | 12”W x 10½”D x 7 3/4”H |
| UNIT WEIGHT | 6 lb. |
| SHIPPING WEIGHT | 7.4 lb. |
| SLOT SIZE | 1/2” |
| PLUG | NEMA 5-15P |
| # | PART | SPECIFICATION | QUANTITY |
| 1 | Shell | SUS430 | 1 |
| 2 | Side Panel | SUS430 | 2 |
| 3 | Junction Plate | Galvanization Board | 2 |
| 4 | Interior Assembly | 900W | 2 |
| 5 | Corner Cushion | PP | 2 |
| 6 | Base Assembly | PP | 1 |
| 7 | Foot Cushion | Rubber | 4 |
| 8 | Power Cord | 3x16AWG | 1 |
| 9 | Crumb Tray | Galvanization Board | 2 |
| 10 | Crumb Tray Gusset Plate | PP | 2 |
| 11 | PCB | PCB | 2 |
| 12 | Brown Level Control Knob | PP | 2 |
| 13 | Magnet Plate | Galvanization Board | 2 |
| 14 | Lift Carriage | PP | 2 |
| 15 | Lift Supporter | PA | 2 |
| 16 | Lift | Galvanization Board | 2 |
| 17 | Fixture Bracket | PA | 2 |
| 18 | Interior Connecting Plate | Galvanization Board | 2 |
hebvest.com t 800.469.8908 | f 407.264.6309 | [email protected]



















