HermanMiller Nevi Height Adjustment Table

Tools Required
Power Driver | Phillips Bit | Torque Wrench | T40 Torx bit | 6 mm Hex bit |
Parts Included
Full Length (for Tables up to 72”)

Independent (for Tables 60” or Less)

Safety Information
Important Safety Instructions save these instructions.
DANGER To reduce the risk of electric shock
Always unplug this furnishing from the electrical outlet before cleaning.
WARNING
To reduce the risk of death, serious injury, or property damage, read and follow this safety information and the provided instructions when assembling this product. Do not change or replace components and accessories provided. Close Supervision is necessary when this furnishing is used by, or near children, invalids, or disabled persons.
BE CAREFUL WHEN ADJUSTING DESK HEIGHT
Body parts and property can be caught between the moving work surface and an immobile obstacle (such as shelves, furniture, window sills, or walls). Keep at least one inch of clearance around desk and make sure nothing is in table’s path for its entire range of motion.
Before raising or lowering
- Check surroundings on all sides of desk are clear
- Make sure corded objects will not be pulled off table or cause other objects to fall
- Make sure desk power cord moves freely as desk moves up and down


Before connecting the power cords to the workstation, follow the instructions below to properly initialize the Columns with the Control Box.
NOTE: The workstation will not RISE until the Initialization procedure is completed.
- Connect the Column Motors to the Control Box.
- Connect the Hand Switch to the Control Box.
- Connect the main Power Cord to the Control Box.
- Connect the main Power Cord to the electrical outlet; the Control Box should make a clicking sound indicating it has been programmed.
- Press the down button on the Hand Switch until the Columns reach their lowest position.
- Press the down button on the Hand Switch once again until the Tabletop moves down slightly and then back up slightly. Listen carefully if this step is performed correctly the Control Box should make a clicking sound.
- After completing the Initialization procedure, the workstation may be raised and lowered.
WARNING: Risk of Electric Shock, Fire, and Injury. Review the assembly instructions to confirm that the appropriate critical components and accessories are being used with the furnishing.
WARNING: RISK OF INJURY, not to be used in locations where children, or people with cognitive disabilities are anticipated to be present.
Do Not Overload Desk
To prevent table from tipping or collapsing, make sure the desk frame is not overloaded by the weight of table top and objects on table. Evenly distribute load; excess loads near edges can reduce stability and lead to tip over.
- Do not exceed maximum load (including weight of desktop) of 200 lb. (91Kg) for two-leg configuration.
- Do not exceed edge load of 25 lb. when positioning monitors or mounting accessories.
- Do not sit or stand on table
Use Care When Moving Desk
- Clear objects and equipment from table before rolling to reduce the risk of tipping over.
- Adjust the desk to its lowest height before moving
- To disconnect, then remove plug from outlet
- Do not move a loaded desk
Do Not Open Electrical Components
Do not attempt to service table components. There are no userserviceable parts inside the motor control units or table legs. If your table needs service, contact customer service. Never operate this furnishing if it has a damaged cord or plug, if it is not working properly, if it has been dropped or damaged. Return the furnishing to a service center for examination and repair.
Keep Table Frame Dry
Keep all electrical components away from water and high humidity. Clean only with a dry or slightly damp cloth. Do not spray cleaning solutions directly onto table system.
Grounding Instructions
Not valid for most Nevi desks power cord for smart NEO Control box is not grounded. Only 2 prong . 3 prong cord only used for 3-Leg configuration that uses a compact control box. Make sure that the product is connected to an outlet having the same configuration as the plug (as shown in Illustration A) that is properly installed and grounded in accordance with all local codes and ordinances.
Do not modify the plug provided with the product – if it will not fit the outlet, have a proper outlet installed by a qualified electrician.
No adapters are to be used with this product. Keep cord away from heated surfaces.

Assembly
Step 1: Fasten the Top support onto the Table Top
1.1 Be sure to use approved screws per the table top supplier.
(#10 X 3/4 PH PHL (J))
3.2 Repeat step 3 and tighten.
Note: Some holes may need to be pre drilled.
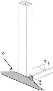
Step 2: Assemble To Top Support (K) Beam and Column
2.1 Align top support holes with independent beam assembly. Assemble using the M8 x 1.25 x 12mm length screws (4 per column) leave screws loose. When torque wrench is available, tighten fasteners to maximum of 15 Nm. (11 Ft-Lbs.). If you do not have access to a torque wrench, then tighten fasteners to snug, plus a ¼ turn. Repeat as necessary for remaining columns .
Step 3: Assemble the Foot to the Column
1.1 Assemble using the M10 x 1.5 x 30mm length screws (L) (2 per column). When torque wrench is available, tighten fasteners to maximum of 11 Nm. (8 Ft-Lbs.). If you do not have access to a torque wrench, then tighten fasteners to snug, plus a ¼ turn. .
Step 4: Fasten the Cross Beam to the Table Top
4.1 Secure the Cross Beam with the table top with (#10 X 3/4 PH PHL (J)). 4.2 Feed motor cables through the cross beam before attaching to table top. Note: Some holes may need to be pre drilled.
Step 5: Fasten the Control Box and Handswitch to the Table Top
5.1 Make sure the control box and handswitch are fastened in a location where all the cables will connect without being in tension. Be sure to use approved screws per the table top supplier.
Step 6: Connect the Motor Cable to the Control Box
6.1 The motor cable plug-connection has to click into place.
Connections to the control box:
M1-M2 = Connectors for the columns
HS = Connectors for the handset
AC = Connector for the power cord (2-pin)
6.2 Connect the Handswitch (HS) Cable to the Control Box
6.3 Connect the Supplied Powercord (AC) to the Control Box
6.4 Attach cords to the table top with wire management clips.
Disassembly for Recycling
Materials Identification and Segregation:
Where possible, plastic components are marked with ASTM recycling codes. Use these codes to identify material type for recycling. Non marked components should be treated as mixed plastic. Ferrous metals can be identified using a small magnet for recycling. Non-ferrous metals should be separated and recycled separately.
To disassemble product, reverse steps.
For more information about our products and services please visit us at hermanmiller.com or call (800) 851 1196.
©2021 Herman Miller, Inc., Zeeland, Michigan Printed in U.S.A. Part No. 1BNX5K – J

Power Driver
Phillips Bit
Torque Wrench
T40 Torx bit
6 mm Hex bit

















