DENVER IR-135 WiFi Internet Radio

www.facebook.com/denver.eu
Please read this user manual carefully before using the receiver
Safety information
Read the safety instructions carefully before using the product for the first time and keep the instructions for future reference.
- This product is not a toy. Keep it out of reach of children.
- Keep the product out of the reach of children and pets to prevent chewing and swallowing.
- The operating and storage temperature of the product is from 0 °C to 40 °C. A temperature that is too low or too high can affect the operation.
- Never open the product. Touching internal electrical parts can cause electric shock. Repairs or maintenance may only be carried out by qualified personnel.
- Do not expose to heat, water, moisture or direct sunlight!
- Protect your ears from excessive sound levels. High noise levels can damage your ears and lead to hearing loss.
- Bluetooth wireless technology works within a range of about 10 m. The maximum communication distance may vary depending on the presence of obstacles (people, metal objects, walls, etc.) or the electromagnetic environment.
- Microwaves emitted by a Bluetooth device may affect the operation of electronic medical equipment.
- The device is not waterproof. If water or foreign objects enter the device, it may cause fire or electric shock. Stop using immediately. if water or a foreign object enters the device.
- Only charge with the supplied adapter. The direct connect adapter is used to completely cut off the power and must therefore always remain easily accessible. So make sure that there is enough space around the socket so that the socket is easily accessible.
- Do not use non-original accessories with the device, as this may interfere with the operation of the device.
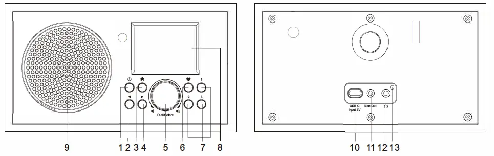
Location of controls
- POWER
Press and hold to turn the radio on/off.
Press to switch to standby / activate the radio (Standby mode is only available when connected to mains power. This mode is unavailable when running on batteries). - ◄
Back to the previous menu/navigate left. 
Back to the home screen / back to the playback screen.- ►
Navigate to the right / access the edit menu of the favorites list / display the large clock & radio information on the ‘now playing’ display. - Rotary knob / select / volume
Rotate to move it up/down in the menu / select menu options. Press to confirm / press to stop/resume playing a radio channel. Turn to adjust the volume level. 
Press and hold to store a specific station as a preset.
Press to call up the favorites list.- Preset buttons 1-3
Store your three favorite stations as presets.
Press and hold to store stations as presets. Press to recall stations. - 2.4″ TFT color display
- Loudspeaker
- USB port to connect the USB-C cable and charge the built-in battery
- 3.5mm line out
- 3.5mm headphone output
- LED indicator for battery charge status
Enter the password for your wireless network
- Using the controls on the radio
- Use the [Dial/Select] dial to cycle through the characters, highlight the desired character and press the [Dial/Select] dial to confirm and move to the next character.
- When the last character has been entered, hold down the dial [Dial/Select] pressed to confirm and complete entry.
Note: The password is case sensitive.
To work
- The radio is powered by the built-in lithium battery. The product comes with a power adapter with USB-C plug.
- Press and hold the [ POWER ] button to turn on the radio.
- Press and hold to turn the radio off again.
- Standby mode is only available when connected to mains power and is used for the alarm function.
- Connect the radio to the mains supply and press and hold the [ POWER ] button to switch on. Press the [ POWER ] button again to return the radio to standby.
Internet radio
Select Internet Radio for the options below:
Skytune
- Select Skytune to enjoy thousands of radio stations from around the world.
- You can filter by region, genre and talk shows.
- Use Local Radio for quick access to the stations available in your local area via internet connection.

Stream music
- Once the UPnP/DLNA compatible server is configured, you can share media files with your radio and start streaming music.
- Select Media Center and choose UPnP from the main menu.
- It may take a few seconds for the radio to complete its scan for available UPnP servers. If no UPnP servers are found, Empty List is displayed.
- Select your UPnP server after the scan is successful.
- The radio will display all available media categories from the UPnP server, such as ‘Music’, ‘Playlists’, etc.
- Select the media files you want to play.
You can set the playback mode from Configuration> Playback setup.
Playback via Bluetooth
- Press the Home key to display the selection menu for the different operating modes.
- Use the left/right/down button on the remote control or turn the rotary knob to select the Bluetooth operating mode, then press the rotary knob to confirm.
- Turn on your Bluetooth device you want to connect the radio to and activate pairing mode. The device scans Bluetooth devices in the reception range.
- Once the radio is found, your Bluetooth device will display the radio name Denver IR-135-XXXX (the XXXX is an identifier for your radio).
- Select the radio as your Bluetooth device.
- Start playback on the Bluetooth device.
- Playback is now over the radio.
Alarm setting
Important!
To use the alarm clock function, the radio must be connected to the mains so that standby mode is available. When the radio is on, press the [ <!) J button to switch the radio to standby. Standby mode is unavailable when the radio is using its internal battery.
- Select Alarm in the main menu or press the [Alarm] button on the remote control.
- Select Alarm 1 or Alarm 2 and choose Turn on to activate the alarm.
- Follow the wizard’s instructions to set the alarm.
- The wizard will guide you through the settings below:
Time – Set the time for the alarm. Sound – You can choose as the alarm source from Wake to Tone, My Favorite. To repeat – You can schedule the alarm as daily, once or multiple days. alarm volume – Adjust the volume of the alarm as desired by turning the [Dial/Select] knob. Alarm Duration – Set the duration of the alarm between 15 and 180 minutes. The radio will switch to standby when the selected time period has elapsed.
- After the above settings are completed, press the [ ◄ ] key to exit the settings and check whether the alarm is activated. You will see the alarm icon on the display when it is activated.
Stop the alarm / activate the snooze function
- When the alarm sounds, press the [ POWER ] key to stop the alarm or press the [Select] dial to activate the snooze function.
- When you have activated the snooze function, the alarm will be muted for 9 minutes and will sound again once the snooze time has expired.
- You can repeat this procedure several times.
- Press the [ POWER ] key to stop the snooze function.

Technical specifications
- Model IR-135B/IR-135S
- Power connection 5V :-:-: 1.5A
- Voltage 100-240V~50/60Hz
- Wireless network I EEE802.11 b/g/n
- Wireless network frequency 2412-2484 MHz
- Wireless Transmit Power Typical Transmit Power 14 dBm (72.2 Mbps), 20dBm(11 b mode)
- Security protocol WEP/WPA/WPA2
- Bluetooth Version Compliant with V4.2 BR/EDR
- Bluetooth frequency 2.4 GHz
- Bluetooth range 10 meters (line of sight)
- Built-in 3.7 V, 2000 mAh lithium-ion battery
- Audio output 3.5mm stereo headphone output Stereo line output
- Dimensions 180 x 110 x 105mm (L x D x H)
Notes: Specifications subject to change without notice
In the box
- Internet radio
- Power adapter with USB-C plug
- Instructions
| Manufacturer’s name or trademark, trade registration number and address | DONGGUAN OBELIEVE ELECTRONIC CO .,LTD 91441900050747698U Huazhaoxin Industrial Park 8-4/F,Golden Phoenix Industrial Zone, Fenggan Town,Dongguan ,GuangDong Province,People’s Republic of China |
| Model identification | OBL-0501S00E |
| input voltage | 100-240V |
| AC input frequency | 50/60Hz |
| Output voltage | 5V |
| Output voltage | 1.5A |
| output power | 7.5W |
| Average active efficiency | 77.24% |
| Efficiency at low load (10%) | N/A |
| Current consumption at no load | 0.1W |
Warning: lithium battery inside
AEEA en recycling
European law does not allow old or defective electrical or electronic equipment to be disposed of with household waste. Take your product to a municipal collection point for recycling. This system is financed by the industry and ensures environmentally responsible disposal and recycling of valuable raw materials.
Note –All products are subject to change without notice. Errors and omissions in the operating instructions reserved.
- Electrical and electronic equipment and included batteries materials, components and substances that can be harmful to your health and the environment, if the waste products (waste electrical and electronic equipment and batteries) are not properly disposed of. Electrical and electronic equipment and batteries are marked with it crossed-out trash can symbol, as pictured above. This symbol means that electrical and electronic equipment and batteries may not be disposed of with other household waste, but must be disposed of separately discharged.
- It is important that you, as the end user, hand in the used batteries to the appropriate and designated facility. This way you ensure that the batteries are recycled in accordance with legislation and no harm the environment.
- All places have specific collection points, where electrical or electronic equipment and batteries can be returned free of charge to recycling stations or other collection locations. In certain cases, the waste can also be collected at home fetched. Additional information can be obtained from the technical department of your municipality.
- I, Denver A/S, hereby declare that the radio equipment type IR-135 is in compliance with Directive 2014/5 3/EU. The full text of the EU Declaration of Conformity can be consulted at the following internet address: denver.eu and then click on the search icon on the top line of the website. Type it model number: IR-135. Now go to the product page and the RED guideline is too found under downloads/other downloads.
- Operating Frequency Range: 2.412-2.484 GHz
- Maximum output power: 30W / 3W RMS
- Bluetooth operating frequency range: 2,400-2,485 GHz
DENVERA/S Omega 5A, Soeften DK-8382 Hinnerup Denmark
www.facebook.com/denver.eu






















