ERREKA CICLON Swinging Gate

WARNING
This quick guide is a summary of the complete installation manual. The manual contains safety warnings and other explanations which must be taken into account. The installation manual can be downloaded by going to the “Downloads” section of Erreka website: http://www.erreka-automation.com/Automatismos/descargaDocumentos.aspx
Elements of the complete installation

In dual leaf facilities without brake or encoder, the following should be taken into account when programming the operations: when programming the closing of leaf 2 and the leaf reaches the closing limit switch, wait for a time equal to the lapse between leaves before pressing ST1 to end programming. This ensures that, during the closing operation, leaf 2 remains at the closing limit switch during lapse until leaf 1 closes completely.
VERY IMPORTANT
The TC closing limit switch must be installed in all cases, and TA opening limit switches whenever the articulated arm is installed.
Electrical wiring
- A: Main power supply
- B: LUMI flashing light
- C: Photocells (Rx/Tx)
- D: Pushbutton/key switch
- E: Operator : motor: 4x1mm2 brake: 2x1mm2 encoder: shielded cable 2×0.5mm2
- F: LUMI built-in antenna
- G: Electrolock
The electrolock is obligatory for operators without lock (CL210 and CL250). For operators with lock, the electrolock must be used for gate leaf lengths of over 1.8m.
NOTE: the electrical installation of the operator can be done correctly and straightforwardly using the cable with AYCY8 code, which ERREKA can supply by metre. This cable has the characteristics 4x1mm2+2x1mm2+ ((2×0.5mm2)) and was developed specifically for this use.
Unlocked (only for models with brake)

Unlocked for manual operation
- Remove the cap and insert the key (1).
- Turn the key 90° anti-clockwise (A). The gate is free to move manually.
Lock for motorised operation
- Turn the key (1) 90° clockwise (B).
- Remove the key and position the cap to stop water from coming in.
Assembly levels
Assembly with sliding arm ACL26/ ACL06 (inward opening)
- The TC closing limit switch must be installed with this type of arm.
- The levels with no brackets correspond to models CLS210F/ CL210F (T2000VFI)/ CL210 with arm ACL06.
- The levels between brackets correspond to models CLS250F/ CL250F/ CL250 with arm ACL26.
Assembly with sliding arm ACL08 (outward opening)
- The TC closing limit switch must be installed with this type of arm.
- The exterior opening arm is only valid for the operators CLS210F/ CL210F (T2000VFI)/ CL210.
Assembly with articulated arm ACL05 (inward opening)
- TC closing limit switch and TA opening limit switch must be installed with this type of arm.
- The ACL05 articulated arm is only valid for the models CLS210F/ CL210F (T2000VFI)/ CL210.

Assembly
- Mount the operator (1) on the bracket (2) using the screws and washers supplied (3). Then mount the unit on the wall.
- Remember that the bracket corresponding to models CLS210F/ CL210F (T2000VFI) / CL210 is shown. The bracket for models CLS250F/ CL250F/ CL250 has some differences, although assembly is carried out in a similar way.

OPTION A: assembly with sliding arm
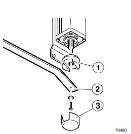
- A1 Mount the drag wheel (1) on the operator shaft.
- A2 Install the arm (2) and the cap (3) on the drag wheel

- A3 Close the gate and mark position A on it. Open the gate and mark position B on it. Secure the track so points A and B are aligned inside.

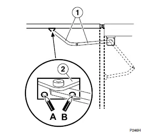
- A4 Position the closing and opening limit switches (1) on the track using the plate (2) (the opening limit switch is shown in the figure).

OPTION B: assembly with articulated arm
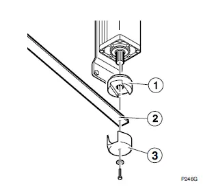
- B1 Mount the drag wheel (1) on the operator shaft.
- B2 Install the arm (2) and the cap (3) on the drag wheel.

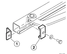
- B3 Close the gate, pull the arm (1) a maximum of 670 mm and mark the positions A and B. Secure the bracket (2) in this position.

Electrical connections, control board VIVO-M203

Encoder connection (if available)
- V+: red cable
- GND: mesh
- SGN1: blue cable
M1 and M2 motor connection
- G4/G1: brown cable
- G5/G2: black cable
- G6/G3: grey cable
- C: capacitor; CL210 / CL210F (T2000VFI) / CLS210F: 5μF; CL250/ CL250F/ CLS250F: 8μF
Check the control board instructions to connect the other components and carry out programming.
Brake cabling by way of EPS1 (VIVO-M203, parameter Ab01)
- COM: orange cable (models with encoder) white cable (models without encoder)
- L1, L2: purple cable (models with encoder) red cable (models without encoder)
- DL1: Red LED, FR1 activation
- DL2: Green LED, FR2 activation

























