
Pro Scale® Winch Installation Instructions
Covers Part #8855
Visit Traxxas.com/manuals
Kit contents:
- Winch with winch mount (Model: 8856)
- Wireless remote (Model: 8857)
- Y-harness (for power input)
- 3x6mm pins (2)
- Zip ties (3)
- 2.5x12mm cap screws (2) (see Fig. 3, page 3)
- Fairlead (see Fig. 4, page 3)
- 2.5x10mm cap screws (2) (see Fig. 4, page 3)
Tools needed:
- 1.5mm hex wrench
- 2.0mm hex wrench
Specifications:
- Input voltage: 5-12.6 volts
- Pulling capacity: 10 lbs
Requirements for powering the winch:
- Direct battery power
- External BEC
- BEC output from electronic speed control ESC) capable of 1-amp output
The wireless remote contains a button cell battery. | ![]() Fig. 2 |
The following vehicle-specific bumper parts packages are required for proper installation of the winch (each sold separately):
| Part No. | Bumper Style | Applicable Models |
| 8866 191mm | ![]() | 82010-4 TRX-4® Sport Unassembled Kit 82024-4 TRX-4® Sport 82034-4 TRX-4® Sport |
| 8865 200mm | ![]() | 82016-4 Unassembled Kit 82056-4 Land Rover® Defender® 82066-4 Tactical Unit |
| 8867 217mm | ![]() | 82046-4 Ford® Bronco® 82076-4 1979 Chevrolet® Blazer® |
| 8869 227mm | ![]() | 9111X 1969 Chevrolet® Blazer® 9112X 1972 Chevrolet® Blazer® |
| 8868 | ![]() | 82096-4 Mercedes® G 500® 88096-4 Mercedes® G 63®Note: Refer to the special instructions that are included in the bumper package for installing this bumper set. |
INSTALLATION
![]() Remove the existing front bumper from the chassis. | ![]() Thread the winch hook and washer through the fair lead on the new front bumper (see chart above for compatibility). Note: Turn the washer horizontal to fit it through the fair lead. |
![]() Install the winch/winch mount on the new front bumper. Note: Use the included 3x6mm pins in the fairlead if you are | ![]() Install the new front bumper. |
WIRING DIAGRAM

Route the power wire and antenna wire from the winch along the right chassis rail to the front shock tower (Fig. 3). Continue to route the antenna wire along the right chassis rail and secure it to the loop on the servo mount with one of the included zip ties.
Route the power wire through the shock tower and over to the XL-5 HV electronic speed control (on the XL-5 HV, the red connector is the direct output voltage from the battery; the maximum voltage that the winch can accept is 4s LiPo).
Note: Be sure to allow adequate body clearance so that it doesn’t rub against or cut the wires.
Secure any excess length of the wires with the existing left and right front wire clips and the remaining zip ties to prevent contact with any moving parts or assemblies.
Plug the red male connector from the speed control into the red female connector from the winch.
If you have another accessory installed, such as an external BEC or LED lighting, plug the red male connector from the speed control into the red female connector from the included Y-harness as shown in Fig. 4. Plug the other red male connectors from the Y-harness into the red female connectors from the winch and the other accessory.

OPERATION
CAUTION: RISK OF INJURY!
Moving parts can cause injury. Keep hands and objects clear during operation. 
Binding the wireless remote to the winch
Note: The wireless remote has two channels (1 or 2) that can be used to
operate two separate winches independently. The wireless remote needs
to be bound to the winch in order to operate.
Select Channel
Pull the clear tab out of the remote to allow the battery to connect.
- Press and release the Channel Select button and the activity LED on the remote will blink the current channel (1 or 2 blinks).
- Press and hold the Channel Select button for 4 seconds to alternate between channels 1 and 2.
Binding
- Press and hold the Bind button on the winch for 3 seconds; the status LED on the winch will turn solid red.
- Press and release either the Line In or Line Out button on the wireless remote. The status LED on the winch will turn off indicating that the winch and remote are now bound and ready for use.
Winch operation
- To operate the winch, press the Line In or Line Out button on the wireless remote to control the line feed.
- Release the Line In or Line Out button on the remote to stop the winch. The automatic brake will prevent the winch from unwinding
while the line is under tension.
Freespool Feature
The Traxxas winch is equipped with a Freespool feature that allows you to manually pull the winch line out for the fast operation. Press and hold the freespool button (see Fig. 2) while pulling the line out to the desired length.
Always use the wireless remote to wind the line back on the winch spool.
Overload protection mode
If the winch stops working during operation and the status LED on the winch starts to slowly blink red, it has entered overload protection mode. Allow the winch components to cool for a few minutes before continuing.
CUSTOM INSTALLATIONS
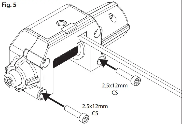
- For custom installations (Fig. 5)
The winch may be mounted to a flat surface and attached with up to four 2.5x10mm screws through the bottom of the winch. The maximum depth of the screws into the winch is 9.5 mm. Remove the winch mount and install the included 2.5x12mm CS in the winch housing prior to installation.

- If your front bumper does not include a built-in fairlead (Fig. 6)
Thread the winch hook and washer through the included fairlead and install it on the winch with the supplied 2.5x10mm CS.

- Replacing the winch line (Fig. 7)
- Thread the winch line into the hole in the spool on the winch. Tie a knot in the end of the line to secure it to the spool.
Note: The winch line is available in other colors to customize the look of your vehicle (part #8864 grey, 8864R red, 8864X blue, each sold separately). - Insert the other end of the line through the washer and then tie it to the winch hook as shown in Fig. 5.

- Installing the winch line retainer (Fig. 8)
Install the included line retainer on the winch hook as shown below to help prevent the line from slipping off the hook.

- Installation of the power tap (Fig. 9)
Note: If the wiring from your speed control is not equipped with the 2-pin male connector (black wire with red connector), install the power tap (part #6541X, sold separately) on the High-Current Connector to provide power to the winch.

CAUTION: RISK OF DAMAGE TO
ACCESSORIES!
Note the polarity and wire color on the pre-installed wires on the power tap. Ensure the polarity is correct during installation on the High-Current Connector: red (+) (positive), black (-) (negative).
PARTS LIST AND EXPLODED VIEW

| Part # | Description |
| 8858 | Housings (front & rear), winch/ decal |
| 8859 | Fairlead, winch |
| 8860 | Spool shaft assembly, winch |
| 8861 | Spool, winch |
| 8862 | Gearmotor, winch |
| 8863 | Hook, winch (steel)/ line retainer/ washer |
| 8864 | Line, winch (grey) |
| 8864R | Line, winch (red) |
| 8864X | Line, winch (blue) |
Warranty Information
Traxxas electronic components are warranted to be free from defects in materials and workmanship for a period of 30 days from the date of purchase.
Limitations: Any and all warranty coverage does not cover replacement of parts and components damaged by abuse, neglect, improper or unreasonable use, crash damage, water or excessive moisture, chemical damage, improper or infrequent maintenance, accident, unauthorized alteration, or modification or items that are considered consumable.
Traxxas will not pay for the cost of shipping or transportation of a defective component to us.
Traxxas Lifetime Electronics Warranty
After the expiration date of the warranty period, Traxxas will repair electronic components for a flat rate.
Please visit Traxxas.com/support for a current schedule of warranty costs and fees.
The covered repairs are limited to non-mechanical components that have NOT been subjected to abuse, misuse, or neglect. Products damaged by intentional abuse, misuse, or neglect may be subject to additional charges. Traxxas liability, in no case, shall be greater than the actual purchase price of this product. For replacement, the product must be returned in brand new condition, with packaging and itemized sales receipt.
For patent and patent-pending information, please visit Traxxas.com/pat
Mercedes-Benz®, G 500®, and G 63® are trademarks of Mercedes-Benz/ Daimler AG.
Land Rover® and Defender® are trademarks of Jaguar Land Rover Limited.
Ford® and Bronco® are trademarks of Ford Motor Company.
Chevrolet® and Blazer® are trademarks of General Motors.
All copyrights and trademarks are used by Traxxas under license.
*WARNING: BURN HAZARD!
This product contains a button cell battery.
DO NOT ingest the battery. If the button cell battery is swallowed, it can cause severe internal burns in just 2 hours and can lead to death. If you think the battery might have been swallowed or placed inside any part of the body, seek immediate medical attention.
- Risk of explosion if the battery is replaced by an incorrect type. Replace only with the same or equivalent type recommended by the manufacturer.
- Disposal of the battery into fire or a hot oven, or mechanically crushing or cutting of the battery, can result in an explosion.
- Extremely high temperatures and/or extremely low air pressure can result in an explosion or the leakage of flammable liquid or gas.
- Keep new and used batteries away from children.
- If the battery compartment does not close securely, stop using the product and keep it away from children.

Traxxas, 6250 Traxxas Way, McKinney,
TX 75070, Phone: 972-549-3000,
Fax: 972-549-3011,
e-mail: [email protected]
Fig. 1

























