AF 12mm F2.0 E
![]() | ![]() |
![]() | ![]() |
Instruction Manual
Before Using
- Please read this instruction manual and familiarize yourself with the functions of the lens, the operating method, and cautions for handling the product correctly prior to use. Also, refer to the instruction manual of the camera you are using with the lens.
- The supported functions of this product may vary according to the camera model.
- For detailed information regarding compatibility, visit the certified service center or make inquiries on the message board of our homepage.
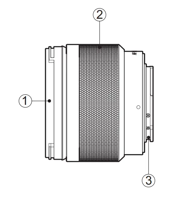
Name of Each Part
- Hood locking tube
- Focus ring
- Mount
- Lens mount index
- Lens signal contact
Lens Installation and Detachment
- Attaching the lens
– Remove the front and rear caps of the lens.
– Align the mounting index indicated on the lens with the lens mount the index indicated on the camera mount, then rotate the lens clockwise until a clicking sound occurs. - Detaching the lens
– With the camera lens-detaching button pressed, detach the lens by rotating it counterclockwise until the lens stops.
Mounting the Filter
- A filter can be mounted on the filter mounting screw at the front of the lens.
– If two or more filters are mounted at the same time, vignetting may occur.
– Check if the filter size is compatible with the lens (refer to “Product specifications”) and then mount it at the front of the lens.
Mounting the Hood
- The hood blocks unnecessary light and protects the front surface of the lens from rain, snow, and dust.
- Align the mount position index indicated on the hood with the hood index (white) indicated on the lens, rotate the hood clockwise until a clicking sound occurs. The hood is now fixed.
- Caution: Improper mounting of the hood hides the lens angle and causes vignetting.
- Caution: The hood cannot be attached to the lens in the reverse direction.
Safety Caution - Do not look at the sun or other strong light through the lens or camera. Doing so may cause blindness.
- Do not store the lens without a lens cap in a location with direct sunlight, such as inside a vehicle. Direct sunlight passing through the lens may be concentrated, causing a fire.
- Keep the lens out of the reach of children. Failure to do so may cause an accident or personal injury.
Cautions for Use! - In order to use the lens safely, attach or detach the lens while the camera is turned off.
- Be careful not to touch or contaminate the contact point on the mount. If electronic signals are not transmitted between the camera and the lens smoothly, a malfunction may occur.
- Do not apply excessive force to the lens when attached to the camera. Doing so may cause damage to the lens and/or camera mounts.
- It is recommended to use a strong tripod. If a weak tripod is used, the tripod may fall, damaging the camera and/or the lens.
- If the lens is placed in a hot location, damage or distortion may occur, resulting in performance problems.
- Take care not to get the lens wet with water or other liquids, and store the lens in a dry place with ventilation.
- If the lens is wet or if you use the lens with wet hands, product failure, fire, or electric shock may occur.
- Avoid direct sunlight, and do not store the lens near naphthalene or mothballs.
- Avoid using the lens in a location with drastic temperature changes.
In particular, if you move a lens that has been chilled in a cold location to a warm location, moisture in the air may be concentrated outside or inside the lens, causing a failure or the production of mold.
In such a case, keep the lens in a plastic bag or an exclusive camera bag and take it out when the temperature of the lens becomes similar to the peripheral temperature. - If the lens surface gets dirty, dust it off using a lens blower or a brush and wipe it with a clean soft cloth (cleaning tissue, cotton cloth, etc.).
- When dusting or cleaning the lens, use ethanol or lens cleaner and do not use organic solvents such as thinner, alcohol, or benzene.
Product Specifications
| Model name | AF 12mm F2.0 E | |
| Aperture range | F2.0 — 22 | |
| Angle | APS-C | 99.1° |
| Optical construction | 12 Elements in 10 Groups | |
| Minimum focusing distance | 0.19 m (0.62 ft) | |
| Maximum shooting magnification | X 0.09 | |
| Filter size | 0 62 mm | |
| Number of aperture blades | 7 | |
| Size (maximum diameter X length) | 0 70.0 x 59.2 mm | |
| Weight | 213 g | |
- The minimum focus is the distance from the image sensor to the object.
- The size and weight in the specification exclude the front/rear caps and hood.
- The product specifications and exterior are subject to change without notice.
https://www.samyanglensglobal.com
TEL: 055‑250‑5600
FAX: 055‑292‑3135
TEL: 02‑784‑9961
FAX: 02‑784‑1440






















