Portable Synthesize Guitar Effectors

Product introduction

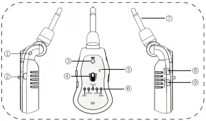
- Audio line socket
- USB charging port
- Charge / low lamp
- Volume control key
- Bluetooth state lamp
- Sound mode lamp
- 6.35 audio plug
- MODE: sound mode button
/power switch/BT PAIR
Technical parameter
- Frequency response: 50Hz-18kHz
- Input impedance: 22Kohm
- Output impedance: 32 ohm
- Power supply: built-in rechargeable li battery
Packaging List
- Guitar effector 1
- USB charging line 1
- D3.5 turn D6.35 audio line 1
Usage Method
- Opening and closing the machine:
Power key: long press the
\side to turn on, BT indicator and sound mode indicator light is bright, work load is long, press PWR button to turn off. - MODE button: Press MODE button after boot, each time, the sound effect between the following modes: REV—CHOR–FLAG—OVDR—WAH cycle switching; sound effect has memory function, working in the last sound mode.
- Bluetooth connection: 3 Bluetooth connection: long press the power button to turn on, the Bluetooth lights flicker, please connect B6 Bluetooth on the phone and other devices. The Bluetooth lamp is long and bright; once again, short press the power button, B6 enters the PAIR mode, the Bluetooth lamp blinks, and it can re connect the BT device.
- Charge, low power indication
Low power: when the electricity is low, the orange lights are flashing and the alarm sounds are issued.
Charging: when the USB line is charged to B6, the red charging lamp is bright, and the red light is extinguished after full power.
Connection schematic diagram



















