JOYO JA-02 Portable Small Guitar Amplifier User Manual
Warning
- Do not disassemble or repair this unit by yourself.
- Do not use or store this unit in the following circumstances: high temperature, high humidity, dirty or strong shock places.
- Do not drop off this unit or bump this unit off hard surface.
- Do not use cleaning liquid or alcohol to clean this unit in case of damage.
- Remove batteries if not using the unit for a long period of time.
- Please turn off the power after use.
- Please dispose the used battery properly.
- Please replace a new battery when the LED light is dim
- Don’t adjust the volume from a very loud sound when using an earphone,in case your ear be hurt or the earphone be broken
- Keep it away from scrap iron
Part Names and Functions



- LED Light
- Volume Knob: Adjust the sound volume
- Tune Knob: Adjust the tone
- Power and switches: Press OFF to cut the power, press ON comes clean, press OD comes distortion
- Main Input Jack: 6.35mm
- Jack for DC 9V adapter
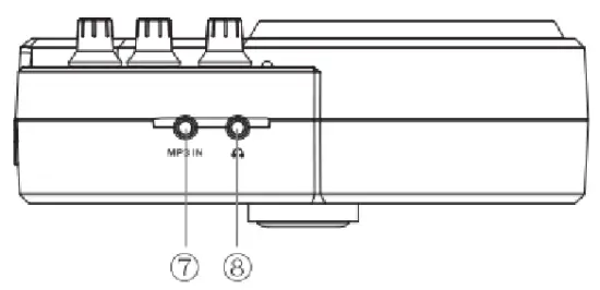
- Auxiliary Channel Input Jack: 3.5mm, MP3 input,CD input
- Earphone Output Jack: 3.5mm
- Battery Cabinet: 9V 6F22 Battery 1 PC
Battery replacement
- Press the front of the battery cover and then slide back to remove the cover.Take out the flat batteries.
- Put the battery into the battery compartment by placing the negative(-) pole of battery facing inside. Insert the front of cover and then press down and push to close.
How to use Small Guitar Amplifier
- Connect the CD or MP3 with the 3.5mm Auxiliary Channel Input Jack to get the sound accompaniment. The volume is controlled by the MP3 or CD itself instead of the amplifier. Adjust the volume of MP3 or CD when turn on the power
- Turn the switch ON to get the clean sound, meantime adjust the volume with the volume knob, adjust the tone with the tone knob
- Turn on the switch OD to get the distortion, meantime adjust the volume with the volume knob, adjust the tone with tone knob. The degree of distortion is unchangeable, unless changing the volume of the musical instrument
- To get the loudest sound,please connect the amplifier with the power adapter
Specification
- Power source: DC IN or a 6F22 battery,1 piece
- Power output: 3W
- Impedance input: Main input: 100K Auxiliary input: 10K(2
JOYO TECHNOLOGY CO., LTD
Address: 2/F jushi industry Building, 28th District, Bao’an shenzhen 518133 china.
Website: joyoaudio.com
Email; [email protected]
Tel: 0086-755-29765381


















