What’s in the box
- Dell Premium Active Pen
- lanyard
- nib and tip remover
- AAAA battery
- manuals
NOTE: For warranty purposes, note the PPID number on the box or retain the box..
Notes, cautions, and warnings
NOTE: A NOTE indicates important information that helps you make better use of your computer.
CAUTION: A CAUTION indicates potential damage to hardware or loss of data if instructions are not followed.
WARNING: A WARNING indicates a potential for property damage, personal injury, or death.
Features

Mode Checking:
- Press briefly on both Bottom Barrel Button and Top Barrel
- Button, to indicate the current Inking Mode as follows:
- Microsoft Pen Protocol (MPP) — Blinks twice
- Wacom Active Electrostatic (AES) — Blinks once
Mode Switching:
Press and hold for 2 seconds on both Bottom Barrel Button and Top Barrel Button to trigger Mode Switching. After completion of mode switching, indicator will show the current effective Mode as follows:
- MPP — Blinks twice
- AES — Blinks once
NOTE: The default Inking Mode is AES.
NOTE: The Dell Premium Active Pen PN579X supports Wacom’s Universal Pen Framework (UPF) that enables to switch between Microsoft Surface devices and Wacom Active
ES (electrostatic) devices.
The Microsoft Surface devices support the MPP protocol and the Wacom ES devices support the AES protocol.
Top button are:
- Single Press — Ink Worspace
- Double Press — Screen Sketch
- Long Press — Sticky Note
NOTE: The highlighted gesture of Single
- Press, Double Press and Long Press are only valid after adding Active Pen Control Panel application.
NOTE: For more information on system compatibility, please refer to the system’s user manual.
- In presentation mode, press once to go to the next slide and press twice at short intervals to go to the previous slide.
NOTE: This feature is only available after installing the Active Pen Control Panel. For instructions on installing the Active Pen Control Panel, see Installing Active Pen Control Panel
Dell Premium Active Pen uses one AAAA battery. The battery provides power for the tip, barrel buttons, Bluetooth functionality, and top button quick-launch features.
Installing the battery
CAUTION: Incorrectly installing the battery damages the pen.
- Remove the top cover from the pen.

- Insert the battery in the battery holder then attach to the top cover with the positive side of the battery facing the top cover

- Align the flat side of the pen with the flat side of the top cover and attach the top cover to the pen.

Attaching the lanyard
- Insert the loop of the lanyard through the hole in the top cover of the pen.
- Thread the lanyard strap through the loop and pull firmly to secure it in place.

- Attach the other side of the lanyard to your portable device.
Pairing with a Bluetooth device
NOTE: You can use Dell Active Pen PN579X only with selected Dell computers and tablets. For a list of supported devices, see www.dell.com.
NOTE: If the pen is already listed under Bluetooth devices, remove the pen from the list before pairing with your device.
- Press and hold the Top button for 3 seconds to enable pairing mode.

- The Bluetooth-pairing light starts blinking to confirm the pairing mode is enabled.
- In Windows Search, type Bluetooth.
- From the list that appears, tap or click Bluetooth and other devices settings.
- Ensure that the Bluetooth is set to On.
- From the list of devices, tap or click Dell Active Pen PN579X→ Pair.
NOTE: If Dell Active Pen PN579X is not listed, ensure pairing mode is enabled on the pen.
- Confirm the pairing process on both pen and device.
The Bluetooth-pairing light turns solid white for a few seconds to confirm the pairing and then the light turns off. After the pen and a device are paired, they connect automatically when Bluetooth is enabled and they are within the Bluetooth range
Mode Checking between AES and MPP
Press briefly on both Bottom Barrel Button and Top Barrel Button, to indicate current Inking Mode.
- AES Mode — LED blinks once

- MPP Mode — LED blinks twice

- AES Mode — LED blinks once
Inking Mode Switching
Press and hold for 2 seconds on both Bottom Barrel Button and Top Barrel Button to trigger Mode Switching. After completion of mode switching, indicator will show the current effective Mode.
- LED blinks once — AES Mode is active

- LED blinks twice — MPP Mode is active

- LED blinks once — AES Mode is active
Active Pen Control Panel
You can customize the buttons on your pen, change pressure sensitivity, and so on, using Active Pen Control Panel.
Installing Active Pen Control Panel
To install Active Pen Control Panel:
- Turn on the computer or tablet.
- Go to dell.com/PN579X.
- Tap or click Drivers & downloads.
- Select the operating system from the drop-down menu.
- Under Active Pen Control Panel, tap or click Download.
- Save the file.
- After the download is complete, open the file and follow the instructions on the screen to install the Active Pen Control Panel.
NOTE: Active Pen Control Panel software is available on Windows 10 Creators update (RS2) and up.
Using Active Pen Control Panel
Top Pen Button
- Turn on Enable Presentation Mode to use the button to navigate through a PowerPoint presentation.
- Top Pen Button can be disabled or programmed to run specific applications or functions as listed below:
- Single Press/Double Press/Long Press — Ink Workspace (default for Single Press), OneNote,
- Sketchpad, Screen Sketch (default for Double Press), Sticky Notes (default for Long Press), Open/Run,
- Keystrokes, Page Up, Page Down, Play/Pause, Next Track, Previous Track, Volume Up, Volume Down, Mute, and Defined by System.
Top Barrel Button
- Top Barrel Button can be disabled or programmed to run specific applications or functions as listed below:
- Barrel Button (default), Radial Menu, Erase, Open/
- Run, Keystrokes, Cortana, Ink Workspace, Sketchpad,
- Screen Sketch, Sticky Notes, OneNote, Page Up, Page
- Down, Go Back, Go Forward, Copy, Paste, Undo, Redo,
- Switch Application, Wacom Settings, Web Browser,
- E-mail, Play/Pause, Next Track, Previous Track, Volume Up, Volume Down, and Mute.
NOTE: The listed customization features are valid with Windows 10 RS2 (Creators update) and Windows 10 RS3 (Fall creators update).
NOTE: Turn on Hover Click to enable the selected Top Barrel Button function while hovering the tip over the screen without the tip touching the screen.
Bottom Barrel Button
- Bottom Barrel Button can be disabled or programmed to run specific applications or functions as listed below:
- Barrel Button, Radial Menu, Erase (default), Open/Run, Keystrokes, Cortana, Ink Workspace, Sketchpad, Screen Sketch, Sticky Notes, OneNote, Page Up, Page Down, Go Back, Go Forward,
- Copy, Paste, Undo, Redo, Switch Application, Wacom Settings, Web Browser, E-mail, Play/Pause, Next Track, Previous Track, Volume Up, Volume Down, and Mute.
NOTE: Turn on Hover Click to enable the selected Bottom Barrel Button function while hovering the tip over the screen without the tip touching the screen.
NOTE: Turn on Show battery status in the taskbar to enable displaying battery status in the taskbar.
Pen Tip Sensitivity Move the slider to change your pen sensitivity.
Tilt Sensitivity Move the slider to change the tilt sensitivity.
NOTE: Tilt functionality is application dependent.
NOTE: Click Go to Windows Pen Control Panel for more configuration options.
Hold the Dell Premium Active Pen as you hold a pencil or pen. Adjust the grip so that you can use the barrel button easily. Ensure not to accidentally press the barrel buttons while drawing or positioning the Dell Premium Active Pen.
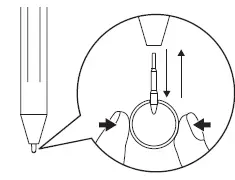
Tip replacement
NOTE: Replace the pen tip when the length reduces to approximately 1 mm (0.04 inch) or has a sharp edge.
- Using the tip remover shipped with your device pull the tip out of the pen.
- Using the tip remover, slide the end of the new tip into the barrel of the pen.
- Push the new tip firmly in place

Troubleshooting


SPECIFICATION
Getting help and contacting Dell
Self-help resources
You can get information and help on Dell products and services using these online self-help resources
Information about Dell products and services www.dell.com
- Accessing help in Windows 8.1 and Windows 10 : In Windows search, type Help and Support, and press Enter
- Online help for operating system : www.dell.com/support/windows
- Troubleshooting information, user manuals, setup instructions, product specifications, technical help blogs, drivers, software updates, and more: www.dell.com/support
Contacting Dell
To contact Dell for sales, technical support, or customer service issues, see www.dell.com/contactdell.
NOTE:
- Availability varies by country and product, and some services may not be available in your country.
- If you do not have an active internet connection, you can find contact information on your purchase invoice, packing slip, bill, or Dell product catalog.
Statutory information
Warranty
Limited warranty and return policies
Dell-branded products carry a 1-year limited hardware warranty. If purchased together with a Dell system, it will follow the system warranty.
For U.S. customers:
This purchase and your use of this product are subject to Dell’s end-user agreement, which you can find at www.dell.com/terms. This document contains a binding arbitration clause.
For European, Middle Eastern and African customers:
Dell-branded products that are sold and used are subject to applicable national consumer legal rights, the terms of any retailer sale agreement that you have entered into (which will apply between you and the retailer) and Dell’s end user contract terms. Dell may also provide an additional hardware warranty—full details of the Dell end user contract and warranty terms can be found by going to www.dell.com, selecting your country from the list at the bottom of the “home” page and then clicking the “terms and conditions” link for the end user terms or the “support” link for the warranty terms.
For non-U.S. customers:
Dell-branded products that are sold and used are subject to applicable national consumer legal rights, the terms of any retailer sale agreement that you have entered into (which will apply between you and the retailer) and Dell’s warranty terms. Dell may also provide an additional hardware warranty—full details of Dell’s warranty terms can be found by going to www.dell.com, selecting your country from the list at the bottom of the “home” page and then clicking the “terms and conditions” link or the “support” link for the warranty terms.
FCC
Federal Communication Commission Interference Statement
This device complies with Part 15 of the FCC Rules. Operation is subject to the following two conditions:
- This device may not cause harmful interference, and
- this device must accept any interference received, including interference that may cause undesired operation.
This equipment has been tested and found to comply with the limits for a Class B digital device, pursuant to Part 15 of the FCC Rules. These limits are designed to provide reasonable protection against harmful interference in a residential installation. This equipment generates, uses and can radiate radio frequency energy and, if not installed and used in accordance with the instructions, may cause harmful interference to radio communications. However, there is no guarantee that interference will not occur in a particular installation. If this equipment does cause harmful interference to radio or television reception, which can be determined by turning the equipment off and on, the user is encouraged to try to correct the interference by one of the following measures:
- Reorient or relocate the receiving antenna.
- Increase the separation between the equipment and receiver.
- Connect the equipment into an outlet on a circuit different from that to which the receiver is connected.
- Consult the dealer or an experienced radio/TV technician for help.
CAUTION: Any changes or modifications not expressly approved by the party responsible for compliance could void the user’s authority to operate this equipment. This transmitter must not be co-located or operating in conjunction with any other antenna or transmitter.
Industry Canada statement:
This device complies with ISED’s licence-exempt RSSs. Operation is subject to the following two conditions:
- This device may not cause harmful interference, and
- this device must accept any interference received, including interference that may cause undesired operation.
Radiation Exposure Statement:
The product comply with the Canada portable RF exposure limit set forth for an uncontrolled environment and are safe for intended operation as described in this manual. The further RF exposure reduction can be achieved if the product can be kept as far as possible from the user body or set the device to lower output power if such function is available.





































