Audio-Technica ATW-1302 Wireless Microphones and Transmitters
INTRODUCTION
Thank you for choosing an Audio-Technica System 10 PRO Rack-Mount digital wireless system. You have joined thousands of other satisfied customers who have chosen our products because of their quality, performance and reliability. This wireless microphone system is the successful result of years of design and manufacturing experience. Audio-Technica’s System 10 PRO Rack-Mount is a digital wireless system designed to provide rock-solid performance along with easy setup and clear, natural sound quality. Featuring a dual-receiver chassis and remote-mount receiver unit capability, System 10 PRO Rack-Mount is available in various handheld and body-pack configurations. Operating in the 2.4 GHz range, far from TV and DTV interference, System 10 PRO Rack-Mount offers extremely easy operation and instantaneous channel selection. Up to ten channels may be used together without any frequency coordination problems or group selection issues. System 10 wireless ensures clear communications by providing three levels of diversity assurance: frequency, time, and space. Frequency Diversity sends the signal on two dynamically allocated frequencies for interference-free communication. Time Diversity sends the signal in multiple time slots to maximize immunity to multi-path interference. Finally, Space Diversity uses two antennas on each transmitter and receiver to maximize signal integrity. Each configuration of the System 10 PRO digital wireless system includes a rack-mountable receiver chassis with two receiver unit docks. Depending on the configuration, the system will also include one or two receiver units that may be docked in the chassis or mounted remotely, and one or two transmitters of either the handheld microphone or body-pack style (or one of each). Some configurations also include one or two lavalier mics that attach to the body-pack transmitters. Up to five chassis (10 receiver units) can be linked with the included RJ12 cable to allow for simultaneous use of all receivers and increased stability of the multi-channel system. Because System 10 packaging is designed to hold all versions of the system, some compartments in the carton may be intentionally left empty. The ATW-R1300 includes a switching power supply that automatically adapts to changes in mains voltage. The versatile ATW-T1001 UniPak® body-pack transmitter has both a high impedance input for instruments, and a low-impedance input with bias connection for use with dynamic and electret condenser microphones. The ATW-T1002 handheld transmitter features a unidirectional dynamic microphone element. Both the body-pack and handheld transmitters use internal AA batteries and have Power/Mute switches and input Trim (level) adjustments.
Important Safety Instructions
- Read these instructions.
- Keep these instructions.
- Heed all warnings.
- Follow all instructions.
- Do not use this apparatus near water.
- Clean only with a dry cloth.
- Install in accordance with the manufacturer’s instructions.
- Do not install near any heat sources such as radiators, heat registers, stoves, or other apparatus (including amplifiers) that produce heat.
- Unplug this apparatus during lightning storms or when unused for long periods of time.
- Refer all servicing to qualified service personnel. Servicing is required when the apparatus has been damaged in any way, such as power-supply cord or plug is damaged, liquid has been spilled or objects have fallen into the apparatus, the apparatus has been exposed to rain or moisture, does not operate normally, or has been dropped.
Installation
Receiver Unit Location For best operation, position receiver unit so it is off the floor, in line of sight of transmitter and away from any large obstructions. Keep the receiver unit away from noise sources such as other digital wireless equipment, microwave ovens, as well as away from large metal objects. Keep System 10 receivers 30′ (9 m) away from wireless access points.
Output Connection The ATW-R1300 is equipped with two audio outputs for each receiver: a balanced XLR-type output and an unbalanced ¼” TRS phone jack. Use shielded audio cable for the connection between the receiver and the mixer. If the input of the mixer is a ¼” jack, connect a cable from the ¼” unbalanced audio output on the back of the receiver chassis to the mixer. If the input of the mixer is an XLR-type input, connect a cable from the balanced XLR-type audio output on the back of the chassis to the mixer.
Power Connection When using multiple systems together it is strongly recommended that you link all of the chassis (up to five) using the RJ12 cable included with each system. (Linking is not necessary if you are using only a single chassis.) Linking creates a much more stable environment in which receivers work together, with all receiving, transmitting and frequency allocation coordinated to prevent audio dropouts and enable simultaneous use of up to 10 channels. See “Linking Systems” on page 9 for more details. Antennas For best reception, position the removable antennas in the shape of a “V” so that both tilt 45°.
Link Connection When using multiple systems together it is strongly recommended that you link all of the chassis (up to five) using the RJ12 cable included with each system. (Linking is not necessary if you are using only a single chassis.) Linking creates a much more stable environment in which receivers work together, with all receiving, transmitting and frequency allocation coordinated to prevent audio dropouts and enable simultaneous use of up to 10 channels. See “Linking Systems” on page 9 for more details.
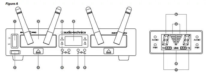
ATW-RC13 Receiver Chassis Controls and Functions
Front Panel Controls and Functions
- Power Switch: Press to turn power on and off.
- Service Port: For use only by the manufacturer or another qualified service technician.
- Receiver Unit Docks: Insert individual receivers to use them locally.
- Receiver Unit Releases: Press to eject receivers.
- Audio Indicator (one for each receiver): Illuminates green when sound is received from transmitter, yellow when audio is nearing peak level, and red when peak level is reached.
- Pairing Indicator (one for each receiver): Flashes green in pair mode; illuminates solidly green once transmitter is paired.
- System ID Select Switch (one for each receiver): Press to cycle through System ID numbers. (System ID is a shared number assigned to a paired receiver and transmitter for identification purposes.)
- Pairing Switch (one for each receiver): Press to initiate pairing.
- System ID Display includes the following:
- RF Signal Level Indicator (one for each receiver): Shows strength of the RF signal received from the transmitter
- System ID (one for each receiver): Shows the System ID number
- Transmitter Battery Gauge TX (one for each receiver): Shows the capacity of the transmitter’s batteries
- Link Indicator: Shows that the chassis has been linked to another chassis

Rear Panel Controls and Functions
- RJ45 Connector: Use Ethernet cable (not included) to mount receiver remotely up to 328′ (100 m) from chassis.
- AF Level (Volume) Control: Adjusts audio output level of both AF output jacks; maximum output is fully clockwise.
- Ground Lift Switch: Disconnects the ground pin of the balanced output jack (5) from ground. Normally, the switch should be to the left (ground connected). If hum caused by a ground loop occurs, slide switch to the right (ground lifted).
- Unbalanced Audio Output Jack: ¼” phone jack. Can be connected to an unbalanced aux-level input of a mixer, guitar amp or recording device.
- Balanced Audio Output Jack: XLRM-type connector. A standard 2-conductor shielded cable can be used to connect the receiver output to a balanced microphone-level input on a mixer or integrated amplifier.
- Receiver Chassis Link IN/OUT Connector: Use included RJ12 cable to link chassis to another ATW-R1300 chassis. Up to five chassis (10 receivers) may be linked.
- Cord Hook: Loop the cord around the cord hook to keep the DC plug from pulling loose accidentally.
- Power Input Jack: Connect the DC plug from the included AC adapter.
- Rack Mounting Brackets: Attach brackets to the sides of the receiver chassis using supplied screws.
- Joining Plate: Attach to the bottom of two receiver chassis using supplied screws.



ATW-RU13 Receiver Unit Controls and Functions Figure E — ATW-RU13 Functions
- Antenna: Attach antennas and angle them away from each other so a “V” shape is formed. Antennas attach via SMA connectors.
- Mounting Socket: ¼”-20 thread socket for mounting receiver remotely to tripod or other device with a ¼” screw.
- Receiver Status Indicator: LED is off when receiver is without power, blinks slowly when receiver is not paired with a transmitter, blinks quickly during pairing process, and illuminates solidly green once receiver is paired with a transmitter.
- RJ45 Connector: Run Ethernet cable to chassis to mount receiver remotely (cable not included).
- Holder Release Tab: Lift tab up to release receiver from holder.



ATW-T1002 Transmitter Setup Controls and Functions
Battery Selection and Installation Two alkaline AA batteries are recommended. When inserting the batteries, observe correct polarity as marked inside the battery compartment.
Handheld Transmitter Battery Installation
- While holding the upper part of the transmitter body just below the ball-screen, unscrew the lower body cover and slide it off to expose the battery compartment
- Carefully insert two fresh AA alkaline batteries, observing polarity markings.
- Screw the body back together. Do not over tighten.

Handheld Transmitter Battery Condition Indicator After the batteries are installed, press and hold the Power/Mute switch on the bottom of the handheld transmitter until the indicator LED turns green. If the indicator LED does not light up when the Power/Mute switch is pressed, the batteries are installed incorrectly or they are dead. The indicator LED will flash to show low-battery condition.
Handheld Transmitter Mute Function With the transmitter on, a slight touch of the power switch will toggle between muted and unmuted operation. Red indicator LED shows muted operation. Green indicator LED shows unmuted operation.
Handheld Transmitter Mute Lock Function Transmitter must be off to activate mute lock. Press and hold the Pairing Switch and then press and hold the Power/Mute button until transmitter powers on. Note: There is no dot next to the System ID when mute lock is activated. Transmitter must be off to deactivate mute lock. Press and hold the Pairing Switch and then press and hold the Power/Mute button until transmitter powers on. When deactivated, a dot will display next to the System ID.
Handheld Transmitter Pairing Switch Used to complete pairing sequence.
Handheld Transmitter Level Control Used to set microphone level
Handheld Transmitter Screwdriver Used to adjust Level Control.
Handheld Transmitter System ID Display Shows System ID. See
page 8. Note: System ID is a shared number assigned to a paired receiver and transmitter for identification purposes. When Power is applied, the System ID Display on the transmitter glows bright and then turns off to conserve battery life. To turn the System ID Display back on, mute and unmute the transmitter.
UniPak® Transmitter Battery Installation
- Slide off the battery cover.
- Carefully insert two fresh AA alkaline batteries, observing polarity markings.
- Replace the battery cover
UniPak® Transmitter Power/Mute/Battery Indicator After the battery is installed, press and hold the Power/Mute button until the indicator LED turns green If the indicator LED does not light up when the power button is pressed, the batteries are installed incorrectly or they are dead. The indicator LED will flash to show low battery condition.
UniPak® Transmitter Mute Function With the transmitter on, a slight touch of the Power/Mute button will toggle between muted and unmuted operation. Red indicator LED shows muted operation. Green indicator LED shows unmuted operation. UniPak® Transmitter Mute Lock Function Transmitter must be off to activate mute lock. Press and hold the Pairing Switch and then press and hold the Power/Mute button until transmitter powers on. Note: There is no dot next to the System ID when mute lock is activated. Transmitter must be off to deactivate mute lock. Press and hold the Pairing Switch and then press and hold the Power/Mute button until transmitter powers on. When deactivated, a dot will display next to the System ID.
UniPak® Transmitter Input Connection Connect an audio input device (microphone or guitar cable) to the audio input connector on the top of the transmitter. A number of Audio-Technica professional microphones and cables are available separately, pre-terminated with a UniPak® input connector (see www.audio-technica.com).
UniPak®
Transmitter Antenna The UniPak® transmitter includes a permanently-attached antenna. If the received signal is marginal, experiment with different transmitter positions on your body or instrument; or try repositioning the receiver. Do not attempt to remove, replace or change the length of the transmitting antenna.
UniPak® Transmitter Pairing Switch Used to complete pairing sequence. See page 8.
UniPak® Transmitter Microphone/Instrument Level Control Used to set microphone/instrument level. See page 8.
UniPak® Transmitter Screwdriver Used to adjust Level Control. See page 8.
UniPak® Transmitter System ID Display Shows System ID. See page 8.
Note: System ID is a shared number assigned to a paired receiver and transmitter for identification purposes. When power is applied, the System ID Display on the transmitter glows bright and then turns off to conserve battery life. To turn the System ID Display back on, mute and unmute the transmitter.
System Operation
Turn down the volume control for both receivers and the mixer/amplifier level before starting up the wireless system. Do not switch on the transmitter yet. Receiver on. Plug the power supply into an AC power source, then turn on the power switch. The blue System ID Display will illuminate. Transmitter on. When the transmitter is switched on, Receiver A’s green Pairing Indicator lights along with two indicators on the transmitter: the green Power/Battery/Mute status indicator and the blue System ID. The blue System ID display on the transmitter turns off after 30 seconds to conserve battery power; the transmitter Power/Battery/Mute status indicator will remain illuminated, indicating transmitter status. To re-illuminate System ID display, press the Power/Mute switch. Note: this will alter the transmitter mute status. A slight touch of the power switch toggles between muted and unmuted operation. The transmitter’s Power/Battery/Mute status indicator glows red when transmitter is muted, or green to indicate unmuted status. In a lowbattery situation, the Power/Battery/Mute status indicator blinks. The transmitters have a soft-touch power switch. When the switch is set to “Mute” (red indicator LED), the transmitter produces RF with no audio signal. When the switch is “On” (green indicator LED) the transmitter produces both RF and audio. Excessive audio input to the transmitter will cause the receiver’s Audio Indicator to light red.
Receiver Volume Under typical operating conditions, the receiver’s volume control should be turned all the way up, with overall system audio gain adjusted at the mixer or amplifier.
Input Level Adjustment Input trimmer controls in the transmitters enable you to maximize performance for a particular microphone or guitar sensitivity, or to adjust for different acoustic input levels.
Adjusting Input Level — UniPak® Transmitter Slide the battery cover off the transmitter and remove the screwdriver from its clip. Using the screwdriver, gently turn the “VOL” (Volume – Microphone/Instrument Level) all the way up (clockwise, toward “H”). Check for excessive gain by speaking/singing into the microphone at typically loud levels while watching the receiver’s Audio Indicator. If the Audio Indicator lights red, turn the “VOL” control slightly counterclockwise until the Audio Indicator lights green or yellow with maximum audio input to the transmitter.
Adjusting Input Level — Handheld Transmitter Unscrew the lower body cover and slide it off, exposing the screwdriver and “LEVEL” (Gain Trimmer) control. Remove the screwdriver from its clip. Gently turn the “LEVEL” all the way up (clockwise, toward “H”). Check for excessive gain by speaking/singing into the microphone at typically loud levels while watching the receiver’s Audio Indicator. If the Audio Indicator lights red, turn the “LEVEL” control slightly counterclockwise until the Audio Indicator lights green or yellow with maximum audio input to the mic/transmitter. Return the screwdriver to its clip and close and secure the lower body. No further transmitter gain adjustments should be needed, as long as the acoustic input does not change significantly.
CAUTION! The small trimmer controls are delicate; use only the supplied screwdriver. Do not force the trimmers beyond their normal 190° range of rotation.
Setting System ID Number & Pairing your Transmitter and Receiver Your system has been preconfigured at the factory to operate with no other pairing setup required; it will work out of the box. That is, your receivers and transmitters are already digital pairs, with each transmitter sharing a System ID number with one of the receivers. The pairing instructions outlined below will help you if you find it necessary to change system ID numbers in multiple-system configurations, or pair a new transmitter to an existing receiver.
NOTE: System ID is an identical number assigned to a paired receiver and transmitter for identification purposes. The System ID number is not related to transmitting frequency. Due to the dynamic nature of System 10’s automatic frequency selection, the actual transmitting frequencies may change during power-up or performance. These frequency changes are seamless and imperceptible to the ear.
Pairing Receivers with Transmitters Note: Up to ten transmitters may be paired with any one receiver, and up to ten channels may be used simultaneously when multiple chassis are linked. (See “Linking Systems”
- Turn on the receiver chassis and transmitter.
- Press the System ID button on the chassis that corresponds to the receiver you wish to pair. The ID number will blink on the display. Continue to press the System ID button until the display shows the number from 0 to 9 that you want.
- Note: When pairing a receiver that is mounted out of range (typically beyond 100′) of the chassis or in another room, you will need to insert another receiver unit into the pairing receiver’s empty dock. Follow the directions below, then eject the substitute receiver once pairing is complete.
- Within 15 seconds, press and hold the Pair button on the receiver chassis for about one second. The receiver’s Pairing Indicator will begin to blink green. Your receiver is now in Pair Mode.
- Note: If the receiver’s Pair button is not pressed within 15 seconds, the System ID number will revert to its previous setting.
- Open your transmitter and press and hold its Pair button within 30 seconds of entering Pair Mode. The transmitter display will now show the System ID number you have chosen on the receiver. The receiver’s Pairing Indicator will glow steady, indicating you have successfully paired your system.
- To pair an additional transmitter, you must switch off the first transmitter by pressing and holding its Power/Mute button. Turn the second transmitter on and follow instructions 2-4 above, making sure to assign a different System ID number to the new transmitter.
- Repeat for each additional transmitter you wish to pair with this receiver. Remember to switch off all transmitters already paired before adding a new one and to use a unique ID number for each transmitter.
Note: With all transmitters turned off, the receiver’s System ID Display will cycle through all currently paired ID numbers. Turn on a transmitter to activate its pairing with the receiver. The receiver recognizes only one transmitter at a time. That transmitter must be turned off before the receiver will recognize another paired transmitter. If that transmitter is turned off out of range, the receiver will not recognize another paired transmitter until the receiver is powered off and turned on again. Clearing Individual ID Pairings
- Press the receiver’s System ID button to select the ID number you wish to clear. The number will begin to blink.
- Press and hold the Pair button and, while continuing to hold it, press and hold the ID button until the display shows a blinking “o.” This indicates that your selected ID number has been cleared.
- Release the Pair and ID buttons and, after a few seconds, the display will stop blinking and return to normal operation.
- Repeat to clear additional ID pairings.
Clearing All ID Pairings
- Press and hold the receiver’s Pair button and, while continuing to hold it, press and hold the ID button until the display shows a blinking “o.”
- Release the Pair and ID buttons. Then, within three seconds, press and hold the Pair and ID buttons again, until the display shows a blinking “A.” This indicates that all your paired ID numbers have been cleared.
- After blinking three seconds, the “A” will change to “-” to indicate that there are no paired transmitters.
Linking Systems
Up to five chassis (10 receiver units) may be linked to allow the simultaneous use of up to 10 channels. If more than five chassis (10 receivers) are linked, error code E44 will flash on chassis’ system ID display. Use the RJ12 cable that comes with each system to link multiple chassis. Run the RJ12 cable from the OUT connector of the first chassis to the IN connector of the second chassis. (If the IN/OUT connectors on the same chassis are linked, error code E41 will flash on chassis’ system ID display.) When successfully linked, the word “LINK” will appear at the bottom of each chassis’ system ID display. To extend the link, run another RJ12 cable from the OUT connector of the second chassis to the IN connector of a third. Continue in this manner to link a fourth and fifth chassis. (The IN connector of the first chassis and the OUT connector of the last chassis in the chain will remain unused.)
Ten Tips to Obtain the Best Results
- Use only fresh alkaline or fully charged rechargeable batteries for the transmitter.
- Position the receiver unit so that it has the fewest possible obstructions between it and the normal location of the transmitter. Line-ofsight is best.
- The transmitter and the receiver unit should be as close together as conveniently possible, but not less than 6′ (2 m).
- While System 10 PRO has been designed to mount in a rack for convenient multi-system operation, please keep other wireless devices (including wireless systems and routers) away from System 10 PRO receivers. For best performance, some routers and Wi-Fibased wireless systems may need to be up to 30 feet away from System 10 PRO receivers.
- Use the included RJ12 cable to link multiple (up to five) chassis. Linking the chassis will give you a stable multichannel system with the use of up to 10 simultaneous channels.
- The receiver antennas should be kept away from any metal.
- As some guitar pickups may be overly sensitive to magnetic interference, please keep the System 10 UniPak® body-pack transmitter at least 1′ (0.30 m) away from guitar pickups.
- Use the transmitter level control to optimize performance for your sound source.
- If the receiver output is set too low, the overall signal-to-noise ratio of the system may be reduced. Conversely, if the volume control on the receiver is set too high, it may over-drive the input of the mixer/ amplifier, causing distortion. Adjust the output level of the receiver so the highest sound pressure level going into the microphone (or the loudest instrument playing level) causes no input overload in the mixer, and yet permits the mixer level controls to operate in their “normal” range (not set too high or too low). This provides the optimum signal-to-noise for the entire system.
- Turn off chassis and transmitters when they are not in use. During extended periods of disuse, unplug chassis and remove batteries from transmitters.
System Operating Frequencies
Automatic Frequency Selection System 10 wireless systems operate in automatically selected frequencies in the 2.4 GHz range, far from TV and DTV interference. Up to ten channels may be used together without any frequency coordination problems or group selection issues. Every time a receiver/transmitter pair is powered on, it automatically selects clear frequencies. Due to the dynamic nature of System 10 automatic frequency selection, these transmitting frequencies may change during power-up or performance if interference is encountered. These frequency changes occur at both the receiver and transmitter; they are seamless and imperceptible to the ear.
Specifications
WARNING: TO REDUCE THE RISK OF FIRE OR ELECTRIC SHOCK, DO NOT REMOVE SCREWS. NO USER-SERVICEABLE PARTS INSIDE.REFER SERVICING TO QUALIFIED SERVICE PERSONNEL. WARNING: TO REDUCE THE RISK OF FIRE OR ELECTRIC SHOCK, DO NOT EXPOSE THE APPLIANCE TO RAIN OR MOISTURE.
CERTIFICATION: THIS DEVICE COMPLIES WITH PART 15 OF THE FCC RULES. THIS DEVICE COMPLIES WITH INDUSTRY CANADA LICENSE-EXEMPT RSS STANDARD(S). OPERATION IS SUBJECT TO THE FOLLOWING TWO CONDITIONS: (1) THIS DEVICE MAY NOT CAUSE HARMFUL INTERFERENCE, AND (2) THIS DEVICE MUST ACCEPT ANY INTERFERENCE RECEIVED, INCLUDING INTERFERENCE THAT MAY CAUSE UNDESIRED OPERATION.
WARNING: Changes or modifications not expressly approved in writing by Audio-Technica may void the user’s authority to operate this equipment.
RF Exposure Statement: This transmitter must not be co-located or operated in conjunction with any other antenna or transmitter used in other systems. The ATW-T1001, ATW-T1002 and ATW-RU13 complies with FCC/IC radiation exposure limits set forth for an uncontrolled environment and meet the FCC radio frequency (RF) Exposure Guidelines and RSS-102 of the IC radio frequency (RF) Exposure rules. This equipment has very low levels of RF energy that it deemed to comply without maximum permissive exposure evaluation. (MPE). But it is desirable that it should be installed and operated keeping the radiator at least 20cm or more away from person’s body.
CAUTION! Electrical shock can result from removal of the receiver chassis cover. Refer servicing to qualified service personnel. No user-serviceable parts inside. Do not expose to rain or moisture. The circuits inside the chassis, receivers and transmitters have been precisely adjusted for optimum performance and compliance with federal regulations. Do not attempt to open the chassis, receivers or transmitters. To do so will void the warranty, and may cause improper operation.
Notice to individuals with implanted cardiac pacemakers or AICD devices: Any source of RF (radio frequency) energy may interfere with normal functioning of the implanted device. All wireless microphones have low-power transmitters (less than 0.05 watts output) which are unlikely to cause difficulty, especially if they are at least a few inches away. However, since a “body-pack” mic transmitter typically is placed against the body, we suggest attaching it at the belt, rather than in a shirt pocket where it may be immediately adjacent to the medical device. Note also that any medical-device disruption will cease when the RF transmitting source is turned off. Please contact your physician or medical-device provider if you have any questions, or experience any problems with the use of this or any other RF equipment.
FCC
Note: The ATW-RC13 has been tested and found to comply with the limits for a Class B digital device, pursuant to part 15 of the FCC Rules. These limits are designed to provide reasonable protection against harmful interference in a residential installation. This equipment generates, uses and can radiate radio frequency energy and, if not installed and used in accordance with the instructions, may cause harmful interference to radio communications. However, there is no guarantee that interference will not occur in a particular installation. If this equipment does cause harmful interference to radio or television reception, which can be determined by turning the equipment off and on, the user is encouraged to try to correct the interference by one or more of the following measures: –
- Reorient or relocate the receiving antenna.
- Increase the separation between the equipment and receiver.
- Connect the equipment into an outlet on a circuit different from that to which the receiver is connected.
- Consult the dealer or an experienced radio/TV technician for help.
FAQS
No, as wireless mic will NOT work with any receiver since they may use incompatible frequencies, proprietary noise reduction circuits, and secure 128 or 256-bit encryption. But a wireless mic can work with multiple receivers from the same manufacturer’s matching model range.
Nowadays, UHF and the new-generation digital 2.4GHz are two typical types of wireless signal transmission that are applied by many microphone manufacturers to the best wireless microphone manufacturing.
No, this will not work. A wireless receiver can only demodulate the signal from one active mic-transmitter at a time. But you may use one transmitter or the other, as long as only one transmitter is powered up at any time
After a single charge, most wireless lavalier microphones that are powered by an AA battery can last 5 to 10 hours. Some are equipped with an inbuilt battery whose working time depends on the capacity. But generally, they can also last for 5 hours at least
There’s really only one big difference between the two: the typical “wired” mic has a male XLR output connection and relies on a cable to carry its signal to the mic input. In contrast, the wireless microphone relies on a radio transmitter to broadcast its output signal to a receiver before being sent to a mic input.
In a wireless microphone system, the transmitter is the handheld mic, or the bodypack (worn by the talker) that connects to a lapel mic or a headworn mic. The transmitter always has a battery of some type. The receiver is the “box” that connects into the sound system.
Rather than quote a specific maximum operating distance most manufacturers of wireless microphone systems give a “typical” range. For systems of the type discussed here (10-50 mW, VHF or UHF) the typical range may vary from 100 ft. to 1000 ft.
You will need a microphone, a transmitter, and a receiver. A functional wireless microphone system actually consists of three discreet components: A microphone, a transmitter, and a receiver
As a transmitted wave spreads, it encounters surfaces that reflect or absorb different parts of the wave. As these waves bounce off of and around surfaces, they arrive at the receiver at slightly different times and thus out of phase—creating dropouts and dead-spots for wireless microphones.
The manufacture, import, sale, lease, offer for sale or lease, or shipment of wireless microphones or similar devices intended for use in the United States that operate on the 600 MHz service band frequencies (617-652 MHz and 663-698 MHz) is now prohibited.
You can’t. Bluetooth microphones use the A2DP profile, and the way this profile is designed, you can only have one connection at a time. The Bluetooth SIG designed this profile to offer point-to-point audio streaming only, so you cannot have two audio sources streaming to the same destination at the same time.
All wireless microphone transmitters (and some receivers*) rely upon batteries for their power. There are plenty of different batteries available, from traditional alkaline batteries to various types of rechargeables, but they don’t necessarily provide the same level of service.
Wireless microphone antenna distributors receive multiple microphone signals through a pair of antennas, split and amplify those signals, and send each signal to their respective receivers via coaxial cable
Wireless microphones, however, send sound through thin air. They do this by converting the sound into radio-frequency (RF) energy and sending it from the microphone’s transmitter to the microphone’s receiver, which then converts the signal back into audio and routes it into a mixer.
Yes and no—but mostly no. WiFi devices—including cellphones that are WiFi capable—can and do interfere with wireless microphones, but only with mics using the 2.4 GHz band, which are less common than industry standard UHF mics.

























