

START GUIDESMART WI-FI CAMERA
GN-CW047-199 Smart Wi-Fi Camera
Can’t connect?
Need help?
WE CAN HELP
DO NOT RETURN THIS PRODUCT TO THE STORE support.mygeeni.com
(888)232-3143 Toll-free or tap ‘support‘ for help in the Geeni app.
Thank you for purchasing your GEENI smart home product.
Get started using your new devices by downloading Geeni, one convenient app that manages everything straight from your phone or tablet. Easily connect to your home Wi-Fi, and control multiple devices from the touch of your fingertips
FCC Notice:
This equipment has been tested and found to comply with the limits for a Class B digital device, pursuant to part 15 of the FCC Rules. These limits are designed to provide reasonable protection against harmful interference in a residential installation. This equipment generates, uses, and can radiate radio frequency energy and, if not installed and used in accordance with the instructions, may cause harmful interference to radio communications.
However, there is no guarantee that interference will not occur in a particular installation. If this equipment does cause harmful interference to radio or television reception, which can be determined by turning the equipment off and on, the user is encouraged to try to correct the interference by one or more of the following measures:
- Reorient or relocate the receiving antenna.
- Increase the separation between the equipment and receiver.
- Connect the equipment into an outlet on a circuit different from that to which the receiver is connected.
- Consult the dealer or an experienced radio/TV technician for help.
Caution: Any changes or modifications to this device not explicitly approved by the manufacturer could void your authority to operate this equipment.
This device complies with part 15 of the FCC Rules. Operation is subject to the following two conditions: (1) This device may not cause harmful interference, and (2) this device must accept any interference received, including interference that may cause undesired operation.
To maintain compliance with FCC’s RF Exposure guidelines, This equipment should be installed and operated with a minimum 20cm distance between the radiator and your body: Use only the supplied antenna.
- Authorize your account with Smart Home Skills using the username and password from your Geeni app.

- Choose “Discover Devices.“ After a few seconds, your GEENI devices will be displayed under Smart Home in the Alexa app.

You can rename your devices in the Geeni app, and Alexa will refer to them by the same name.
So if you rename a smart bulb to “Living Room“ or a nickname like a smart camera to “Living Room Camera” or “Baby’s Room,”
Alternatively, you can create an Alexa group, like “Bedroom“ or “Downstairs,“ and add the device to the group.
Alexa will recognize the group name in the Alexa app, or the device name in the Geeni app.
More information is available at: http://tinyurl.com/alexa-smart-home-groups
Support:
If you encounter any issues, please contact us at support.mygeeni.com for help.
(888) 232-3143 Toll-free
To explore our full selection of products, visit us at: www.mygeeni.com
© 2021 Merkury Innovations • 45 Broadway 3rd FL, New York NY 10006.
The illustrated product and specifications may differ slightly from those supplied. Geeni is a trademark of Merkury Innovations LLC. iPhone, Apple, and the Apple logo are trademarks of Apple Inc., registered in the U.S. and other countries. App Store is a service mark of Apple Inc. Google, Google Play, and related marks and logos are trademarks of Google LLC. iOS is a registered trademark of Cisco in the U.S. and other countries and is used under license.
Amazon, Alexa, and all related logos are trademarks of Amazon.com, Inc. or its affiliates. All other trademarks and trade names are those of their respective owners.
Made in China
START GUIDE
What’s in the Box

Get Ready
![]() | ![]() |
| Know your Wi-Fi network and password | Make sure your mobile device is running iOS ® 9 or higher or Android™ 5.0 or higher |
![]() | ![]() |
| Make sure you’re connecting to a 2.4GHz Wi-Fi network. (Geeni can’t connect to 5GHz networks) | a microSD card can be used to save recorded footage but is not required |


To control your GEENI smart home products, just ask Alexa. Make sure your devices are already set up using the Geeni app.

Open the Alexa app and go to Skills in the menu.

Search for Geeni then tap Enable.
Choose “Geeni“ from the list of Home Control partners.

Authorize your account with Google Assistant using the username and password from your Geeni app.
Now your Google Home app and GEENI devices are linked!
You’re now able to say “Hey Google“ and control your GEENI devices.
At any time, go into the “Home Control“ section of the Google Home app to set nicknames and rooms for your devices. You can rename your devices in the Geeni app, and Google Assistant will refer to them by the same name.
So if you rename a camera to ‘Living Room Camera’ or ‘Baby’s Room,“ then Google Assistant will use that same name later on. You can always give it a nickname using the Google Home app as well. Google Assistant will be able to control devices by room.

STEP 1
Download the Geeni App from App Store or Google Play.
https://play.google.com/store/apps/details?id=com.merkuryinnovations.geeni
https://apps.apple.com/us/app/geeni/id1177386276
Register an account on your Geeni App. 01.
- Enter your mobile phone number or email address

- Enter the verification code and create a password.

- Log in to the App.

Plug-In

STEP 2
Plug-In
Plug the camera into the power source using the included USB cable. The indicator will remain solid blue when starting up but will begin to blink blue when it is ready to be connected. If it does not blink, please reset it. *see reset instructions on p.4
STEP 3
SD Card Installation
Insert microSD card as shown. Will enable video recording and playback from your phone

STEP 3
SD Card Installation Insert microSD card as shown. Will enable video recording and playback from your phone


To control your GEENI smart home products, just say “OK Google,“ or “Hey Google,“ and ask. Make sure your devices are already set up using the Geeni app.
*Some commands require compatible devices.
Open the Google Home app and go to Home Control in the menu.

Tap the “+“ button.
VOICE CONTROL GUIDE
Thank you for purchasing your GEENI smart home product. Make sure your devices are already set up using the Geeni app, then follow these steps.
Your video device is able to stream video to these leading smart assistants.

Name and Control Each Device by Voice


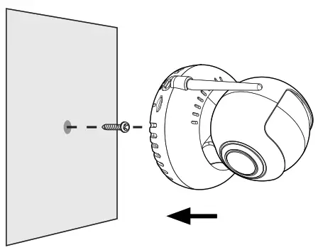
STEP 4
Mount The Camera:
01. Use the included screw and wall anchor to mount the camera.
*NOTE: If you unplug the camera, you do not need to repeat the setup steps—the camera will automatically reconnect to your Wi-Fi network.

STEP 5
How do I reset my device? and what does the blinking light mean?
Press and hold the reset button, and wait for the indicator light to start blinking to confirm that the camera has been reset.
Troubleshooting
Cannot connect to your Wi-Fi network.
Make sure you entered the correct Wi-Fi password during the Wi-Fi setup. Check whether there are any Internet connection problems. If the Wi-Fi signal is too weak, reset your Wi-Fi router and try again.
Reset the device
- Take the reset pin and push it in. Wait for the indicator light to start blinking to confirm that the camera has been reset.
System Requirements
- Mobile device running iOS ® 9 or higher or Android™ 5.0 or higher
- Existing Wi-Fi Network
Technical Specifications
- Camera: up to 1080p (1920 x 1080) at 25 frames/sec.
- H.264 encoding
- Field of View: 90° fixed
- 90° horizontal rotation, 120° vertical rotation
- Audio: Internal Speaker and Microphone
- Storage: supports up to 128GB microSD card (not included)
- Wi-Fi is not compatible with 5GHz Wi-Fi networks.
Frequently Asked Questions
My Geeni device has a funny name. How do I rename it?
– The range of your home Wi-Fi is heavily dependent on your home router and the conditions of the room. Check with your router specifications for exact range data.
– Geeni products need to be connected to Wi-Fi in order to use them remotely.
STEP 6
- Add device: QR Code Mode
- Be sure to reset the camera by pressing the reset button for 3-4 seconds.

- In the Geeni app, on the top corner of the Devices screen, click Choose “Wi-Fi Camera” and Choose “QR Code” in the top corner.
- Click Next and enter your Wi-Fi details.
- Scan the QR code with the camera. When you hear the camera beep, select ‘I heard the beep’ and it will add your camera.

- The indicator light will turn solid blue when the device was connected successfully!
NOTE: Geeni can’t connect to 5GHz networks.
Add device: Easy Mode
- In the Geeni app, on the top corner of the Devices screen, click Choose “Wi-Fi Camera”.

- Make sure the light on the camera is blinking blue, indicating the device is ready to connect, then press Next Step.
- Enter your Wi-Fi network and password.

- The Geeni app will attempt to connect. This may take a few moments. When the blinking light turns solid blue, the connection was successful!
NOTE: Geeni can’t connect to 5GHz networks. *If the connection fails, try to connect using QR Mode.
- Two-way Audio Mode :
In this mode, there is full two-way simultaneous communication. While the Press & Hold to speak button is pressed, you will be able to hear audio from the camera’s microphone while you are speaking. This may cause an echo.
- SD Card Capacity:
View the size of the SD card, used space, and space remaining. - Recording Mode:
Switch from motion recording (only records when the camera detects motion) to continuous recording. - Recording Schedule:
Set schedules for when you want the camera to record or not record video. - Format SD Card: Press to erase the MicroSD card.
- Indicator Light:
By default, the camera lights up to show it’s on.
Switch “Indicator Light” off to hide the light.
- Flip Video:
If you mount your camera upside down, toggling the “Flip” function will rotate the image so that it’s right side up.
- Time Watermark:
Turn the time watermark on to always see a timestamp of when the video is taking place. - One-way Audio Mode:
In One-way audio mode, you can speak by pressing the Press & Hold to speak button. Your voice will come out of the camera’s speaker. You will be unable to hear audio from the camera’s microphone while the button is pressed. This mode will not have an echo as you speak.
Main Screen
- Motion Alerts:
Turn on Motion Detection to be notified when motion is detected. Turn on Motion Tracking to have the camera follow and keep the subject in focus. - Press & Hold to Speak:

Press and hold here to speak, and your voice will come out of the camera’s speaker.
Note: If there are a lot of echoes, change the audio mode to one-way audio. See page 10 for more information. - Rotate:
Press here to bring up the control buttons to rotate the camera up/ down/left/right.
MAIN SCREEN
- Record:
Press here to start the video recording. Press again to stop the recording.
Note: the video files are saved to your phone’s memory. Please use your photo/video viewer on your phone to watch the videos.
- Screenshot:
Press here to take a screenshot. Note: the photos are saved to your phone’s memory. Please use your photo viewer on your phone to see the pictures. - Playback:
View recorded motion alert videos here. Note: you must have a microSD card installed to record motion alert videos.
SETTINGS
- Access Camera Settings:
From your main device list, click on the camera you want to edit, then press the “••• “ button on the top right for advanced settings.
- Device Name:
Press to rename your device to something like “Bedroom” or “Kids’ Room”. - Device Sharing:

Let friends, spouses, roommates, or family keep an eye on what your cameras see. Whether it’s a baby’s crib or the family dog, you can decide who gets to check in, access the camera, and set notifications. - Remove Device:
Delete the camera from your account. Until it’s deleted, it will always be linked to your account.








































