Felicitysolar LPBA48100-OL LifePO4 Battery System

INTRODUCTION
The document describes the installation. commissioning, maintenance and troubleshooting of the following low voltage battery listed below.
The battery chemistry of these products is Lithium Iron Phosphate. This manual is designed for qualified personnel only. The tasks described in this document should be performed by authorized and qualified technicians only. After Installation the Installer must explain the user manual to the end user.
SYMBOLS
SAFETY
Any work on the Batteries should be handled by authorized technicians and hence it is understood that the technicians should familiarize themselves with the contents of this manual before any maintenance or installation is carried out on the system.
Handling
- Do not expose battery to open flame.
- Do not place the product under direct sunlight.
- Do not place the product near flammable materials. It may lead to fire or explosion in case of accident.
- Store in a cool and dry place with ample ventilation.
- Store the product on a flat surface.
- Store the product out of reach of children and animals.
- Do not damage the unit by dropping, deforming, impacting, culling or penetrating with a sharp object. It may cause leakage of electrolyte or fire.
- Do not touch any liquid spilled from the product. There is a risk of electric shock or damage to skin.
- Always handle the battery wearing the insulated gloves.
- Do not step on the product or place any foreign objects on it. This can result in damage.
- Do not charge or discharge damaged battery.
Installation
- After unpacking, please check the product for damages and missing parts.
- Make sure that the inverter and battery is completely turned off before commencing installation.
- Do not interchange the positive and negative terminals of the battery.
- Ensure that there is no short circuit of the terminals or with any external device.
- Do not exceed the battery voltage rating of the inverter.
- Do not connect the battery to any incompatible inverter.
- Do not connect different battery types together.
- Please ensure that all the batteries are grounded properly.
- Do not open the battery to repair or disassemble. Only Felicity is allowed to carry out any such repairs.
- In case of fire, use only dry powder fire extinguisher. Liquid extinguishers should not be used.
- Install the battery away from children or pets.
- Do not use battery in high static environment where the protection device might be damaged.
- Do not install with other batteries or cells.
RESPONSE TO EMERGENCY SITUATIONS
The batteries comprise of multiple batteries connected in series. It is designed to prevent hazards or failures. However, Felicity cannot guarantee their absolute safety.Under exposure to the internal materials of the battery the following recommendations should be carried out by the user.
- If there has been inhalation, please leave the contaminated area immediately and seek medical attention.
- If there has been contact with eyes, rinse the eyes with running water for 15 minutes and seek medical attention immediately.
- If there has been contact with the skin, wash the contacted area with soap thoroughly and seek medical attention immediately.
- If there has been ingestion, induce vomiting and seek medical attention.
Fire Situation
Use a FM-200 or Carbon Dioxide (CO2) fire extinguishers to extinguish the fire if there is a fire in the area where the battery pack is installed. Wear a gas mask and avoid inhaling toxic gases and harmful substances produced by the fire.
Warning Labels
Warning labels and other relevant labels are attached on the battery pack.
PRODUCT INFORMATION
LPBA48100-OL photovoltaic energy storage system is a 48V energy storage system based on lithium-ion ferrous phosphate battery. It is equipped with a customized battery management system(BMS),Which is designed for energy storage applications of household photovoltaic power generation users.In the daytime,the surplus power of photovoltaic generation can be stored in the battery.At night or when necessary,the stored energy can be provided to the electrical equipment,it can improve the use efficiency of photovoltaic power generation,peak-load shifling,and provide emergency standby power.
Battery Module Specifications
| Specifications For LPBA48100-OL | |
| Battery Module | LPBA48100-OL |
| Total Energy [Kwh] | 5.12 |
| Nominal Voltage [V] | 51.2 |
| MAX. Charge Voltage [V] | 57.6 |
| MIN. Discharge Voltage [V] | 48 |
| Max. Chargeing Current [A] | 50 |
| Max. Discharge Current [A] | 50 |
| Communication | CAN,RS485 |
| Enclosure Protection Rating | lp65 |
| Working Temperature Range [°C] | -10 – 50 |
| Cycle Life | >6000 Cycle@ 80% DOD/ 25°C |
| Net Weight(KG) | 48.5kg |
| Gross Weight(KG) | 61kg |
| Product Dimension(MM) | 665*440*185 |
| Package Dimension(MM) | 760*535*345 |
Electrical Connections
Battery System Features
The batteries have been fitted with multiple protection systems to ensure the safe operation of the system. Some of the protection system includes:
- Inverter interface protection: Over voltage, Over current, External Short Circuit, Reverse Polarity,Ground Fault, Over Temp, In rush current.
- Battery Protection: Internal Short Circuit, Over voltage, over current, over temp, Under voltage The battery system contains the following Interface to allow it to connect and operate efficiently.
Electrical Interface Description of LPBA48100-OL 
| Code | Name |
| A | BAT- |
| B | BAT+ |
| C | Breather Valve |
| D | GND |
| E | Link-1 |
| F | Link-0 |
| G | RS485 Communication |
| H | PCS Communication |
| SW | |
| J | Handle |
| K | Power Breaker |
| L | LED Display |
| M | Power Switch |
Switch On I Off
- Switch on: close the breaker to the ON block, press and hold Power switch for 1 seconds, the battery will perform self-test before output. The LED will show SOC.
- Switch off: close the breaker to the OFF block, the battery will shut down directly.
Description for Communication port
LINK•0/LINK•1
| Pin | Function Definitions | Function Declaration |
| GND | Power/signal ground | |
| 2 | NC | |
| 3 | NC | |
| 4 | NC | |
| 5 | 485B | RS485-B |
| 6 | 485A | RS485-A |
| 7 | CANL | CANL |
| 8 | CANH | CANH |
RS-485
| Pin | Function Definitions | Function Declaration |
| GND | Power/signal ground | |
| 2 | 12V | |
| 3 | NC | |
| 4 | NC | |
| 5 | 485B | RS485-B |
| 6 | 485A | RS485-A |
| 7 | NC | |
| 8 | NC |
INSTALLATION
Items in the package
Please check if following items are including with the package:
FOR BCU600050
| Items | Code | Items | |
| Wall bracket | 7 | PV wake up line | |
| 2 | Communication line | 8 | User manual |
| 3 | Communication line | 9 | Guarantee card |
| 4 | Communication line | 10 | cables |
| 5 | adapter | 11 | |
| 6 | screw | 12 |
Tools 
Floor installation with base
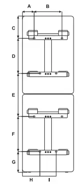
Installation Location Requirements
Consider the following points before selecting where to install:
- Do not mount the battery on flammable construction materials.
- The ambient temperature should be between O’C and 45’C to ensure optimal operation.
- The recommended installation position is to be adhered to the wall vertically.
- Be sure to keep other objects and surfaces as shown in the right diagram to guarantee sufficient heat dissipation and to have enough space for removing wires.

A 100 B 240 C 190.5 D 301 E 368 301 G H
150
140
Installation Procedure

Install Environment
Note:Build sun & rain shade to avoid direct exposure to sunlight and rain.
Terminal Connection
Power terminal
Note:Press the position indicated in the figure above before disconnecting the power terminal.
Communication terminal 
Battery system switch operation
Power on battery system:
Turn the breaker to the “ON” state, press the POWER button 1 seconds, wait for the battery system LED light to light up, indicating that the boot is complete.
Power off battery system:
Turn the breaker to the “OFF” state, turn off the entire battery system.
Commissioning
There are four LED indicators on the front of the battery packs to show its operating status.
SOC LED indication
ON I OFF or SOC Led (Mode or SOC)
| BATTERY MODE | ON/O | FF | so | c | REMARK | ||
| GREEN LED | RED LED | LED1 | LED2 | LED3 | LED4 | ||
| POWER OFF | OFF | OFF | OFF | OFF | OFF | OFF | |
| POWER ON | OFF | ON | ON | ON | ON | ON | |
| STANDBY | OFF | OFF | soc | SOC<10%(DEFAULT): LED1 FLASH | |||
| NORMAL | ON | OFF | RUNNING/SOC | SOC<10%(DEFAULT): LED1 FLASH | |||
| DISCHARGE | ON | OFF | soc | SOC<10%(DEFAULT): LED1 FLASH | |||
| CHARGE | FLASH | OFF | RUNNING | ||||
| LOW POWER | FLASH | OFF | OFF | ||||
|
FAULT |
OFF |
ON | ON | OFF | OFF | OFF | BATTERY VOLTAGE HIGH |
| OFF | ON | OFF | OFF | BATTERY VOLTAGE LOW | |||
| ON | ON | OFF | OFF | CELL VOLTAGE HIGH | |||
| OFF | OFF | ON | OFF | CELL VOLTAGE LOW | |||
| ON | OFF | ON | OFF | CHARGING CURRENT HIGH | |||
| OFF | ON | ON | OFF | DISCHARGING CURRENT HIGH | |||
| ON | ON | ON | OFF | BMS TEMPERATURE HIGH | |||
| OFF | OFF | OFF | ON | BMS TEMPERATURE LOW | |||
| ON | OFF | OFF | ON | CELL TEMPERATURE HIGH | |||
| OFF | ON | OFF | ON | CELL TEMPERATURE LOW | |||
| ON | ON | OFF | ON | CURRENT SENSOR ABNOMAL | |||
DIP switch SW1-SW4 Description
| DIP switch SW1-SW4 Description CD | ||||||
| Sw1 | SW2 | SW3 | SW4 | Remarks | DIP switch SW5 Description@ | |
| 0 | 0 | 0 | 0 | means ID=0,communication address is0x00/0x10® | SW5 | Remarl<s |
| 1 | 0 | 0 | 0 | means IO=1,communication address is0x01@ | means connect 1200 resistor | |
| 0 | 0 | 0 | means IO=2,communication address is0x02 | |||
| 0 | 0 | means IO=3,communication address is0x03 | 0 | means disconnect 1200 resistor | ||
| 0 | 0 | 0 | means IO=4,communication address is0x04 | |||
| 1 | 0 | 0 | means IO=5,communication address is0x05 | |||
| 0 | 0 | means IO=6,communication address is0x06 | ||||
| 1 | 1 | 1 | 0 | means IO=7,communication address is0x07 | ||
| 0 | 0 | 0 | means IO=8,communication address is0x08 | |||
| 0 | 0 | means IO=9,communication address is0x09 | ||||
| 0 | 0 | means 10=10,communication address is0x0A | ||||
| 1 | 1 | 0 | means IO=11,communication address is0x0B | |||
| 0 | 0 | means IO=12,communication address is0x0C | ||||
| 1 | 0 | means IO=13,communication address is0x0D | ||||
| 0 | means IO=14,communication address is0x0E | |||||
| means IO=15,communication address is0x0F | ||||||
| Remark(]): 1 in SW1-SW5 indicates ON status, and 0 indicates OFF status. | ||||||
| Remark®: When multiple battery packs communicate, the last battery pack SW5 needs to be in the ON status, otherwise the communication may have interference. | ||||||
| Remark®: When the battery pack ID is set to 0, it means stand-alone operation, and it is not necessary to detect whether the parallel condition is satisfied@ | ||||||
| Remark@: When the battery pack ID is set to 1-15, it means that the parallel operation is required, and it is necessary to detect whether the parallel condition is satisfied@ | ||||||
| Remark@: The parallel condition is that the difference between the battery voltage of the local battery and all the battery pack voltages is <3V, otherwise wait until the condition is satisfied | ||||||
WARRANTY
The warranty shall not cover the defects caused by normal wear and tear, inadequate maintenance, handling, storage faulty repair, modifications to the battery or pack by a third party other than Felicity, failure to observe the product specification provided herein or improper use or installation, including but not limited to the following.
- Damage during transport or storage.
- Incorrect Installation of battery into pack or maintenance.
- Use of battery pr pack in inappropriate environment.
- Improper, inadequate, or incorrect charge, discharge or production circuit other than stipulated herein.
- Incorrect use or inappropriate use.
- Insufficient ventilation.
- Ignoring applicable safety warnings and instructions.
- Altering or attempted repairs y unauthorized personnel.
- In case of force majeure (ex: lightning, storm, flood, fire, earthquake, etc.).
- There are no warranties-implied or express-other than those stipulated herein. Felicity shall not be liable for any consequential or indirect damages arising or in connection with the product specification, battery or pack.
TROUBLESHOOTING AND MAINTENANCE
Maintenance
- Regularly check whether the service environment of the battery meets the requirements, and the installation position should be far away from the heat source.
- ln case of one of the following situations, it needs to be charged in time:
- The battery is often under charged;
- The battery has been out of use or stored for more than 3 months.
- Regularly check whether the battery and its supporting terminals, connecting cables and indicator lights are normal.
Troubleshooting
When the red / green LED on the panel is flashing or normally on, it does not mean that the Battery system is abnormal, it may be just an alarm or protection. Please check the ‘LED fault message’ in chapter 7 for the detailed faulty definition before any trouble-shooting steps. In general, the alarm indication is normal without manual intervention. When the alarm triggering state is removed, Battery system will automatically return to normal use.
Problem determination based on the following points
- Whether the red light on theLPBA48100-OL is on;
- Whether the battery can be output voltage or not.
Preliminary determination steps
Battery system cannot work, when DC switch on and POWER on, the LED doesn’t light up or flash, please consider contact the local distributor.


















