DPR SR1 Small Label Rewinder

INSTALLATION
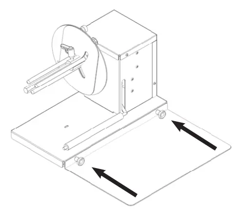
- Set the included printer plate beside the rewinder’s base and screw both plates with the two knobs.

- Load the empty cardboard core, let pass the printed media underneath the tension arm and stick it on the core.

- Adjustable core holder
- Adjustable core holder

- Slide in the outer disk onto the core holder and keep it close to the media edge. Once the media is loaded on the rewinder, slide left and right the rewinder to find the correct alignment with the printer

PAPER PATH

APPLICATION
The rewinder is used to rewind the labels on roll coming from the output of any barcode label printer onto an adjustable core holder from 40mm (1.57”) up to 76mm (3”) or onto the 76mm (3”) fixed core holder.
The maximum label roll diameter can be 170mm (6.7”) and the maximum label width can be 120mm (4.72”).
POWER SUPPLY
An external power supply 100/240VAC – 2.5A at 24V allows an electronic circuit to provide, through the tension arm, the speed and sense of rotation auto adjustment.
FUNCTIONING
The printer must be put onto the rewinder’s printer plate, in this way the correct rewinding operations are guaranteed and also the rewinder is fastened to the printer.
The rewinder has two types of speed adjustments, through the two buttons it is possible to set the maximum speed required while the tension arm will auto adjust the speed from zero to the set value. The control panel allows to set the label rewinding face-in or face-out option.
WORKING CONDITIONS
- When the printer forwards the media for printing, the tension arm goes down, the device rewinds the printed media. Yellow or green led on depending on the selected rewinding mode (face-in or face-out).
- When the unit is operating but the media is not loaded or it runs out, the tension arm reaches the lowest position and after few seconds the rewinder’s rotation will be stopped while both leds blink and it beeps.
CONTROL PANEL
ON-OFF
Push this button to turn On or Off the unit.
INCREASE SPEED
Push this button to increase the rotation speed.
DECREASE SPEED
Push this button to decrease the rotation speed.
LABEL FACE-OUT
Turn the unit off. Keep pushed “FACE OUT” button, push and release “ON-OFF” button while the green led turns on and off. The unit is now ready to operate.
LABEL FACE-IN
Turn the unit off. Keep pushed “FACE IN” button, push and release “ON-OFF” button while the yellow led turns on and off. The unit is now ready to operate.























