
RCSA270K30WN Refrigerator Freezer Type I
Instruction Manual![]()
RCSA270K30WN
RCSA270K30WN Refrigerator Freezer Type I
WARNING!
In order to ensure a normal operation of your refrigerating appliance, which uses a completely environmentally friendly refrigerant the R600a (flammable only under certain conditions) you must observe the following rules:
- Do not hinder the free circulation of the air around the appliance.
- Do not use mechanical devices in order to accelerate the defrosting, others than the ones recommended by the manufacturer.
- Do not destroy the refrigerating circuit.
- Do not use electric appliances inside the food keeping compartment, other than those that might have been recommended by the manufacturer.

Figures that take place in this instruction manual are schematic and may not correspond exactly with your product. If the subject parts are not included in the product you have purchased, then it is valid for other models.

Instruction for use
Congratulations on your choice of a Beko Quality Appliance, designed to give you many years of service.
Safety first!
Do not connect your appliance to the electricity supply until all packing and transit protectors have been removed.
- Leave to stand for at least 4 hours before switching on, to allow compressor oil to settle, if transported horizontally.
- If you are discarding an old appliance with a lock or latch fitted to the door, ensure that it is left in a safe condition to prevent the entrapment of children.
- This appliance must only be used for its intended purpose.
- This appliance can be used by children aged from 8 years and above and persons with reduced physical, sensory or mental capabilities or lack of experience and knowledge if they have been given supervision or instruction concerning use of the appliance in a safe way and understand the hazards involved. Children shall not play with the appliance. Cleaning and user maintenance shall not be made by children without supervision.
- Do not dispose of the appliance on a fire. Your appliance contains non CFC substances in the insulation which are flammable. We suggest you contact your local authority for information on disposal and available facilities.
- We do not recommend use of this appliance in an unheated, cold room. (e.g. garage, conservatory, annex, shed, out-house etc.)
To obtain the best possible performance and trouble free operation from your appliance it is very important to read these instructions carefully. Failure to observe these instructions may invalidate your right to free service during the guarantee period. Please keep these instructions in a safe place for easy reference.
Original Spare parts will be provided for 10 years, following the product purchasing date.
This appliance is not intended for use by persons (including children) with reduced physical, sensory or mental capabilities, or lack of experience and knowledge, unless they have been given supervision or instruction concerning use of the appliance by a person responsible for their safety. Children should be supervised to ensure that they do not play with the appliance.
Electrical requirements
Before inserting the plug into the wall socket make sure that the voltage and the frequency shown in the rating plate inside the appliance corresponds to your electricity supply. We recommend that this appliance is connected to the mains supply via a suitably switched and fused socket in a readily accessible position.
Warning! This appliance must be earthed. Repairs to electrical equipment should only be performed by a qualified technician. Incorrect repairs carried out by an unqualified person are carry risks that may have critical consequences for the user of the appliance.
ATTENTION!
This appliance operates with R600a which is an environmental friendly but flammable gas. During the transportation and fixing of the product, care must be taken not to damage the cooling system. If the cooling system is damaged and there is a gas leakage from the system, keep the product away from open flame sources and ventilate the room for a while.
WARNING – Do not use mechanical devices or other means to accelerate the defrosting process, others than those recommended by the manufacturer.
WARNING – Do not damage the refrigerant circuit.
WARNING – Do not use electrical appliances inside the food storage compartments of the appliance, unless they are of the type recommended by the manufacturer.
WARNING – If the supply cord is damaged, it must be replaced by the manufacturer, its service agent or similarly qualified persons in order to avoid a hazard.
Transportation instructions
- The appliance should be transported only in an upright position. The packing as supplied must be intact during transportation.
- If during the transport the appliance, has been positioned horizontally, it must not be operated for at least 4 hours, to allow the system to settle.
- Failure to comply with the above instructions could result in damage to the appliance, for which the manufacturer will not be held liable.
- The appliance must be protected against rain, moisture and other atmospheric influences.
Important!
- Care must be taken while cleaning/carrying the appliance not to touch the bottom of the condenser metal wires at the back of the appliance, as this could cause injury to fingers and hands.
- Do not attempt to sit or stand on top of your appliance as it is not designed for such use. You could injure yourself or damage the appliance.
- Make sure that the mains cable is not caught under the appliance during and after moving, as this could damage the cable.
- Do not allow children to play with the appliance or tamper with the controls.
Installation instructions
- Do not keep your appliance in a room where the temperature is likely to fall below 10 degrees C (50 degrees F) at night and/or especially in winter, as it is designed to operate in ambient temperatures between +10 and +38 degrees C (50 and 100 degrees F). At lower temperatures the appliance may not operate, resulting in a reduction in the storage life of the food.
- Do not place the appliance near cookers or radiators or in direct sunlight, as this will cause extra strain on the appliance’s functions. If installed next to a source of heat or freezer, maintain the following minimum side clearances:
From Cookers 30 mm
From Radiators 300 mm
From Freezers 25 mm - Make sure that sufficient room is provided around the appliance to ensure free air circulation (Item 2).
• Put the back airing lid to the back of your refrigerator to set the distance between the refrigerator and the wall (Item 3). - The appliance should be positioned on a smooth surface. The two front feet can be adjusted as required. To ensure that your appliance is standing upright adjust the two front feet by turning clockwise or anti-clockwise, until firm contact is secured with the floor. Correct adjustment of feet prevents excessive vibration and noise (Item 4).
- Refer to “Cleaning and Care” section to prepare your appliance for use.
Getting to know your appliance (Item 1)
- Thermostat and lamp housing
- Adjustable Cabinet shelves
- Water collector
- Crisper cover
- Crispers
- Compartment for quickly freezing
- Ice tray support & ice tray
- Compartments for frozen foods keeping
- Adjustable foot
- Shelf for jars
- Shelf for bottles
Suggested arrangement of food in the appliance
Guidelines for obtaining optimum storage and hygiene:
- The fridge compartment is for the short-term storage of fresh food and drinks.
- The freezer compartment is
rated and suitable for the freezing and storage of prefrozen food. The recommendation for
storage as stated on the food packaging should be observed at all times. - Dairy products should be stored in the special compartment provided in the door liner.
- Cooked dishes should be stored in airtight containers.
- Fresh wrapped produce can be kept on the shelf. Fresh fruit and vegetables should be cleaned and stored in the crispers.
- Bottles can be kept in the door section.
- To store raw meat, wrap in polythene bags and place on the lowest shelf. Do not allow to come into contact with cooked food, to avoid contamination. For safety, only store raw meat for two to three days.
- For maximum efficiency, the removable shelves should not be covered with paper or other materials to allow free circulation of cool air.
- Do not keep vegetable oil on door shelves. Keep the food packed, wrapped or covered. Allow hot food and beverages to cool before refrigerating. Leftover canned food should not be stored in the can.
- Fizzy drinks should not be frozen and products such as flavoured water ices should not be consumed too cold.
- Some fruit and vegetables suffer damage if kept at temperatures near 0°C. Therefore wrap pineapples, melons, cucumbers, tomatoes and similar produce in polythene bags.
- High-proof alcohol must be stored upright in tightly closed containers. Never store products that contain an inflammable propellant gas (e.g. cream dispensers, spray cans, etc.) or explosive substances. These are an explosion hazard.
- To take out the baskets from the freezer compartment please proceed as in Item 9.
Temperature control and adjustment
Operating temperatures are controlled by the thermostat knob (Item 5) and may be set at any position between 1 and 5 (the coldest position). The average temperature inside the fridge should be around +5°C (+41°F). Therefore adjust the thermostat to obtain the desired temperature. Some sections of the fridge may be cooler or warmer (such as salad crisper and top part of the cabinet) which is quite normal. We recommend that you check the temperature periodically with a thermometer to ensure that the cabinet is kept to this temperature. Frequent door openings cause internal temperatures to rise, so it is advisable to close the door as soon as possible after use.
Before operating Final Check
Before you start using the appliance check that:
- The feet have been adjusted for perfect levelling.
- The interior is dry and air can circulate freely at the rear.
- The interior is clean as recommended under “Cleaning and care.”
- The plug has been inserted into the wall socket and the electricity is switched on. When the door is open the interior light will come on. And note that:
- You will hear a noise as the compressor starts up. The liquid and gases sealed within the refrigeration system may also make some (noise), whether the compressor is running or not. This is quite normal.
- Slight undulation of the top of the cabinet is quite normal due to the manufacturing process used; it is not a defect.
- We recommend setting the thermostat knob midway and monitor the temperature to ensure the appliance maintains desired storage temperatures (See section Temperature Control and Adjustment).
- Do not load the appliance immediately it is switched on. Wait until the correct storage temperature has been reached. We recommend checking the temperature with an accurate thermometer (see; Temperature Control and Adjustment).
Storing frozen food
Your freezer is suitable for the long-term storage of commercially frozen foods and also can be used to freeze and store fresh food.
If there is a power failure, do not open the door.
Frozen food should not be affected if the failure lasts for less than 16 hrs. If the failure is longer, then the food should be checked and either eaten immediately or cooked and then re-frozen.
Freezing fresh food
Please observe the following instructions to obtain the best results. Do not freeze too large a quantity at any one time. The quality of the food is best preserved when it is frozen right through to the core as quickly as possible.
Do not exceed the freezing capacity of your appliance in 24 h. Placing warm food into the freezer compartment causes the refrigeration machine to operate continously until the food is frozen solid. This can temporarily lead to excessive cooling of the refrigeration compartment. When freezing fresh food, keep the thermostat knob at medium position. Small quantities of food up to 1/2 kg. (1 lb) can be frozen without adjusting the temperature control knob. Take special care not to mix already frozen food and fresh food.
Making ice cubes
Fill the ice – cube tray 3/4 full with water and place it in the freezer. Loosen frozen trays with a spoon handle or a similar implement; never use sharpedged objects such as knives or forks.
Defrosting
A) Fridge compartment The fridge compartment defrosts automatically. The defrost water runs to the drain tube via a collection container at the back of the appliance (Item 6). During defrosting, water droplets may form at the back of the fridge compartment where a concealed evaporator is located. Some droplets may remain on the liner and refreeze when defrosting is completed. Do not use pointed or sharp-edged objects such as knives or forks to remove the droplets which have refrozen. If, at any time, the defrost water does not drain from the collection channel, check that no food particles have blocked the drain tube. The drain tube can be cleared with a pipe-cleaner or similar implement. Check that the tube is permanently placed with its end in the collecting tray on the compressor to prevent the water spilling on the electric installation or on the floor (Item 7).
B) Freezer compartment
Defrosting is very straightforward and without mess, thanks to a special defrost collection basin. Defrost twice a year or when a frost layer of around 7 (1/4″) mm has formed. To start the defrosting procedure, switch off the appliance at the socket outlet and pull out the mains plug. All food should be wrapped in several layers of newspaper and stored in a cool place (e.g. fridge or larder). Containers of warm water may be placed carefully in the freezer to speed up the defrosting.
Do not use pointed or sharp-edged objects, such as knives or forks to remove the frost. Never use hairdryers, electrical heaters or other such electrical appliances for defrosting. Sponge out the defrost water collected in the bottom of the freezer compartment. After defrosting, dry the interior thoroughly (Item 8). Insert the plug into the wall socket and switch on the electricity supply.
Replacing the interior light bulb
To change the Bulb/LED used for illumination of your refrigerator, call your AuthorisedService. The lamp(s) used in this appliance is not suitable for household room illumination. The intended purpose of this lamp is to assist the user to place foodstuffs in the refrigerator/freezer in a safe and comfortable way. The lamps used in this appliance have to withstand extreme physical conditions such as temperatures below -20°C.
Cleaning and care
- We recommend that you switch off the appliance at the socket outlet and pull out the mains plug before cleaning.
- Never use any sharp instruments or abrasive substances, soap, household cleaner, detergent or wax polish for cleaning.
- Use luke warm water to clean the cabinet of the appliance and wipe it dry.
- Use a damp cloth wrung out in a solution of one teaspoon of bicarbonate of soda to one pint of water to clean the interior and wipe it dry.
- Make sure that no water enters the temperature control box.
- If the appliance is not going to be used for a long period of time, switch it off, remove all food, clean it and leave the door ajar.
- We recommend that you polish the metal parts of the product (i.e. door exterior, cabinet sides) with a silicone wax (car polish) to protect the high quality paint finish.
- Any dust that gathers on the condenser, which is located at the back of the appliance, should be removed once a year with a vacuum cleaner.
- Check door seals regularly to ensure they are clean and free from food particles.
- Never:
• Clean the appliance with unsuitable material; eg petroleum based products.
• Subject it to high temperatures in any way,
• Scour, rub etc., with abrasive material. - Removal of dairy cover and door tray:
• To remove the dairy cover, first lift the cover up by about an inch and pull it off from the side where there is an opening on the cover.
• To remove a door tray, remove all the contents and then simply push the door tray upwards from the base. - Make sure that the special plastic container at the back of the appliance which collects defrost water is clean at all times. If you want to remove the tray to clean it, follow the instructions below:
• Switch off at the socket outlet and pull out the mains plug.
• Gently uncrimp the stud on the compressor, using a pair of pliers, so that the tray can be removed.
• Lift it up.
• Clean and wipe it dry.
• Reassemble, reversing the sequence and operations. - To remove a drawer, pull it as far as possible, tilt it upwards and then pull it out completely.
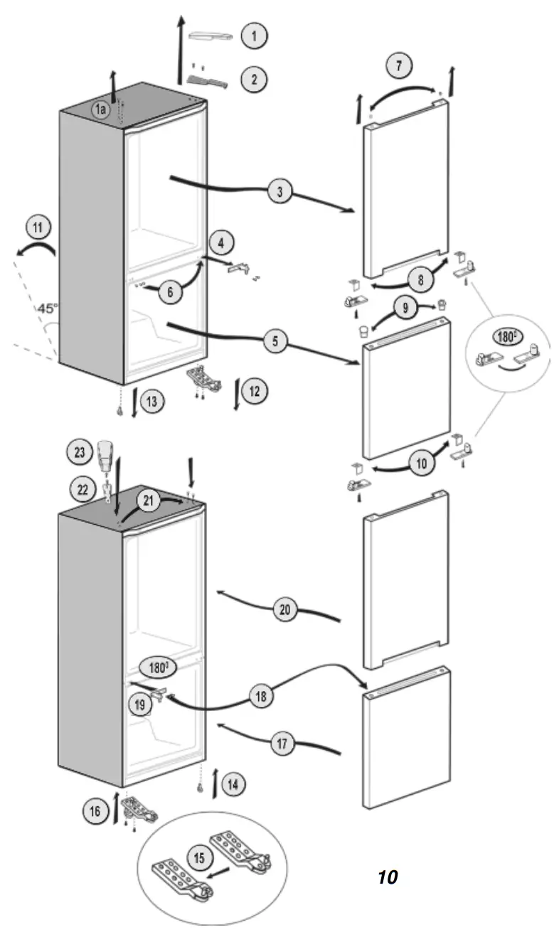
Repositioning the door
Proceed in numerical order (Item 10).
Do’s and don’ts
Do- Clean and defrost your appliance regularly (See “Defrosting”).
Do- Keep raw meat and poultry below cooked food and dairy products.
Do- Take off any unusable leaves on vegetablesand wipe off any soil.
Do- Leave lettuce, cabbage, parsley and cauliflower on the stem.
Do- Wrap cheese firstly in greaseproof paper and then in a polythene bag, excluding as much air as possible. For best results, take out of the fridge compartment an hour before eating.
Do- Wrap raw meat and poultry loosely in polythene or aluminium foil. This prevents drying.
Do- Wrap fish and offal in polythene bags.
Do- Wrap food with a strong odour or which maydry out, in polythene bags, or aluminium foil or place in airtight container.
Do- Wrap bread well to keep it fresh.
Do- Chill white wines, beer, lager and mineral water before serving.
Do- Check contents of the freezer every so often.Do- Keep food for as short a time as possible and adhere to “Best Before” and “Use by” etc. dates.
Do- Store commercially frozen food in accordance with the instructions given on the packets.
Do- Always choose high quality fresh food and be sure it is thoroughly clean before you freeze it.
Do- Prepare fresh food for freezing in small portions to ensure rapid freezing.
Do- Wrap all food in aluminium foil or freezer quality polythene bags and make sure any air is excluded.
Do- Wrap frozen food immediately after purchasing and put it in to the freezer as soon as possible.
Do- Defrost food in the fridge compartment.
Don’t- Store bananas in your fridge compartment.
Don’t- Store melon in your fridge. It can be chilled for short periods as long as it is wrapped to prevent it flavouring other food.
Don’t- Cover the shelves with any protective materials which may obstruct air circulation.
Don’t- Store poisonous or any dangerous substances in your appliance. It has been designed for the storage of edible foodstuffs only.
Don’t- Consume food which has been refrigerated for an excessive length of time.
Don’t- Store cooked and fresh food together in the same container. They should be packaged and stored separately.
Don’t- Let defrosting food or food juices drip onto food.
Don’t- Leave the door open for long periods, as this will make the appliance more costly to run and cause excessive ice formation.
Don’t- Use sharp edged objects such as knives or forks to remove the ice.
Don’t- Put hot food into the appliance. Let it cool down first.
Don’t- Put liquid-filled bottles or sealed cans containing carbonated liquids into the freezer, as they may burst.
Don’t- Exceed the maximum freezing loads when freezing fresh food.
Don’t- Give children ice-cream and water ices direct from the freezer. The low temperature may cause ‘freezer burns’ on lips.
Don’t- Freeze fizzy drinks.
Don’t- Try to keep frozen food which has thawed; it should be eaten within 24 hours or cooked and refrozen.
Don’t- Remove items from the freezer with wet hands.
Energy Consumption
Maximum frozen food storage volume is achieved without using the drawers provided in the freezer compartment. Energy consumption of your appliance is declared while the freezer compartment is fully loaded without using the drawers.
Practical advice concerning the reduction of the electricity consumption
- Make sure that the appliance is located in wellventilated areas, far from any source of heat (cooker, radiator etc.). At the same time, the location of the appliance must be done in such a way that it prevents it to be under the direct incidence of the sunbeams.
- Make sure that the food purchased in refrigerated/frozen condition is placed into the appliance as soon as possible, especially during summertime. It is recommended to use thermal insulated bags to transport the food home.
- We recommend the thawing of the packets taken out from the freezer compartment be done in the refrigerator compartment. For this purpose, the packet which is going to be thawed will be placed in a vessel so that the water resulting from the thawing does not leak in the refrigerator compartment. We recommend you to start the thawing at least 24 hours before the use of the frozen food.
- We recommend reducing the number of door openings to the minimum.
- Do not keep the door of the appliance open more than necessary and make sure that after each opening the door is well closed.
Information concerning the noise and the vibrations which might appear during the operation of the appliance
- The operation noise can increase during the operation.
– In order to keep the temperatures at the adjusted temperatures, the compressor of the appliance starts periodically. The noise produced by the compressor becomes stronger when it starts and a click can be heard when it stops.
– The performance and operation features of the appliance can change according to the modifications of the temperature of the ambient environment. They must be considered as normal. - Noises like liquids flowing or as being sprayed
– These noises are caused by the flow of the refrigerant in the circuit of the appliance and comply with the operation principle of the appliance. - Other vibrations and noises.
– The level of noise and vibrations can be caused by the type and the aspect of the floor on which the appliance is placed. Make sure that the floor does not have significant level distortions or if it can yield to the weight of the appliance (it is flexible).
– Another source of noise and vibrations is represented by the objects placed on the appliance. These objects must be removed from the appliance.
– The bottles and the vessels placed in the refrigerator touching each other. In such cases move the bottles and the vessels so that there is a small distance between them.
Troubleshooting
If the appliance does not operate when switched on, check:
- That the plug is inserted properly in the socket and that the power supply is on. (To check the power supply to the socket, plug in another appliance).
- Whether the fuse has blown/circuit breaker has tripped/main distribution switch has been turned off.
- That the temperature control has been set correctly.
- That the new plug is wired correctly, if you have changed the fitted, moulded plug.
If the appliance is still not operating at all after above checks, contact the dealer from whom you purchased the unit.
Please ensure that above checks have been done, as a charge will be made if no fault is found.
The symbol on the product or on packaging indicates that this product may not be treated as household waste. Instead it shall be handed over to the applicable collection oint for the recycling of electrical and electronic equipment. By ensuring this product is disposed of correctly, you will help prevent potential negatyve consequences for the environment and humann health, which could otherwise be otherwise be caused by inappropriate waste handling of this product. For more detailed information about recycling of this product, please contact your local city office, you household waste disposal service or the shop where you purchased the product.
4578336483_AC
www.beko.com
















