QSC PS-1600(H/G) Sixteen-Button Page Station User Manual
EXPLANATION OF TERMS AND SYMBOLS
The term “WARNING!” indicates instructions regarding personal safety. If the instructions are not followed the result may be bodily injury or death.
The term “CAUTION!” indicates instructions regarding possible damage to physical equipment. If these instructions are not followed, it may result in damage to the equipment that may not be covered under the warranty.
The term “IMPORTANT!” indicates instructions or information that are vital to the successful completion of the procedure.
The term “NOTE” is used to indicate additional useful information
The intent of the lightning flash with arrowhead symbol in a triangle is to alert the user to the presence of un-insulated “dangerous” voltage within the product’s enclosure that may be of sufficient magnitude to constitute a risk of electric shock to humans.
The intent of the exclamation point within an equilateral triangle is to alert the user to the presence of important safety, and operating and maintenance instructions in this manual.
IMPORTANT SAFETY INSTRUCTIONS
![]()
WARNING!: TO PREVENT FIRE OR ELECTRIC SHOCK, DO NOT EXPOSE THIS EQUIPMENT TO RAIN OR MOISTURE.
- Maximum operating ambient temperature is 50°C (122°F).
- Power must be supplied to the unit from an IEEE 802.3af compliant power sourcing equipment (PSE) using data communications cabling having a rating of category 5e or greater (Cat 5e) or from the optional +24 VDC/500 mA power supply
- Read these instructions.
- Keep these instructions.
- Heed all warnings.
- Follow all instructions.
- Do not use this apparatus near water.
- Clean only with a dry cloth.
- Do not block any ventilation opening. Install in accordance with the manufacturer’s instructions and all federal, state, and local municipal codes.
- Do not install near any heat sources such as radiators, heat registers, stoves, or other apparatus (including amplifiers) that produce heat.
- If your unit uses an auxiliary power supply, do not defeat the safety purpose of the polarized or grounding-type plug. A polarized plug has two blades with one wider than the other. A grounding type plug has two blades and a third grounding prong. The wide blade or the third prong are provided for your safety. If the provided plug does not fit into your outlet, consult an electrician for replacement of the obsolete outlet.
- Protect the power cord from being walked on or pinched particularly at plugs, convenience receptacles, and the point where they exit from the apparatus.
- Only use attachments/accessories specified by the manufacturer.
- Refer all servicing to qualified service personnel. Servicing is required when the apparatus has been damaged in any way, such as power-supply cord or plug is damaged, liquid has been spilled or objects have fallen into the apparatus, the apparatus has been exposed to rain or moisture, does not operate normally, or has been dropped.
- Adhere to all applicable, local codes.
- Consult a licensed, professional engineer when any doubt or questions arise regarding a physical equipment installation.
The product is not intended to be installed as a system for providing emergency voice communication or to be installed in areas specified by ANSI/ NFPA 72, “National Fire Alarm Code.”
FCC Statement
NOTE: This equipment has been tested and found to comply with the limits for a Class B digital device, pursuant to Part 15 of the FCC Rules.
These limits are designed to provide reasonable protection against harmful interference in a residential installation. This equipment generates, uses
and can radiate radio frequency energy and, if not installed and used in accordance with the instructions, may cause harmful interference to radio
communications. However, there is no guarantee that interference will not occur in a particular installation. If this equipment does cause harmful
interference to radio or television reception, which can be determined by turning the equipment off and on, the user is encouraged to try to correct
the interference by one or more of the following measures:
- Reorient or relocate the receiving antenna.
- Increase the separation between the equipment and receiver.
- Connect the equipment into an outlet on a circuit different from that to which the receiver is connected.
- Consult the dealer or an experienced radio/TV technician for help.
RoHS STATEMENT
The Q-Sys Page Station products are in compliance with European Directive 2002/95/EC – Restriction of Hazardous Substances (RoHS).
The Q-Sys Page Station products are in compliance with “China RoHS” directives. The following chart is provided for product use in China and its territories:
| Q-SYS Page Station | ||||||
| (Part Name) | (Toxic or hazardous Substances and Elements) | |||||
| (Pb) | 汞 (Hg) | (Cd) | (Cr(vi)) | (PBB) | (PBDE) | |
| (PCB Assemblies) | X | O | O | O | O | O |
| (Chassis Assemblies) | X | O | O | O | O | O |
| O SJ/T11363_2006 (O: Indicates that this toxic or hazardous substance contained in all of the homogeneous materials for this part is below the limit requirement in SJ/T11363_2006.) X SJ/T11363_2006 | ||||||
Package Contents
| H Model | G Model | ||||
| Part | Qty | Part | Qty | ||
| 1 | Q-Sys Page Station H Model | 1 | 1 | Q-Sys Page Station G Model | 1 |
| 2 | Hardware User Manua | 1 | 3 | Page Station Quick Start Guide | 1 |
| 4 | Connector ship kit | 1 | 5 | Connector ship kit | 1 |
| a. 6-pin Euro plug | 1 | 6-pin Euro plug | 1 | ||
| c. 3-pin Euro plugs | 2 | 3-pin Euro plugs | 2 | ||
| e. 2-pin Euro plug | 1 | 2-pin Euro plug | 1 | ||
| g. Screw (Tripple-gang box) (#6-32,1.25″) | 4 | 6 | Gooseneck Angle Mounting Bracket | 1 | |
| a. Microphone strain-relief clamp | 7 | Warranty TD-000453 | 1 | ||
| 8 | Microphone ship kit “H” Models | 1 | |||
| One hand-held dynamic microphone | 1 | ||||
| One microphone strain-relief clamp | 1 | ||||
| One strain-relief clamp screw (#6-32,0.375″) | 1 | ||||
| 9 | Warranty TD-000453 | 1 | |||
Introduction
Q-Sys is a platform of software and hardware products providing system designers and operators with the tools necessary to design, configure, and manage medium to large scale audio systems. In addition to the primary signal processing and system management components that make up a Q-Sys audio system, the Q-Sys solution includes peripheral components that offer services such as remote management and paging. This manual addresses the features and specifications related to the hardware components of the Q-Sys networked page station peripherals.
The Q-Sys Page Stations are network devices that provide paging services for a Q-Sys audio system. The Page Stations are defined and configured by the audio system designer using Q-Sys Designer. Q-Sys Designer is Windows-based software used to design, and manage, a Q-Sys system. (For information about configuring the Page Station, refer to the Q Sys Designer Online Help.) Once a Q-Sys design file has been created, it is then deployed to a Q-Sys Core over the Q-LAN network. The Q Sys Core is the centralized processing entity for the Q-Sys system. And as such, the Q-Sys Core pushes all necessary design and configuration information to each end node in the system including Page Station peripherals.
The Page Stations connect to a Q-Sys system by joining the Q-LAN network. Once connected to the network, a Q-Sys Core can automatically discover the Page Station, assimilate it into the Q-Sys system and push the appropriate configuration to the Page Station, as defined in the Q-Sys Designer design file. Once assimilated into the Q-Sys system, the Page Station can be operated entirely via its front panel user interface (UI) and microphone without further need of a design computer in the system.
As an addition to the Page Station equipment, Q-SYS offers a Page Station Expander (PS-X). The PS-X can serve as an extension to the Page Station, allowing two microphones to serve one area (such as in an airport gate, where the page station is at the counter, and the PS-X is at the door to the jetway). The PS-X connects directly to the Aux Input and GPIO port ensuring simple integration and flawless operation.
Page Station Description
The Q-Sys Page Station is a networked page station that connects to a Q-Sys system via Q-LAN. All audio deliveries to and from the Page Station use the Q-LAN network. The Page Station provides two Q-LAN network interfaces for connecting to the Q-Sys system. This allows Page Stations to connect to two switch ports or to be deployed on two separate networks to support a variety of redundant operation modes for mission critical applications.
The Q-SYS Page Station comes in four different models listed below. Each of these models has a hand-held microphone version (indicated by an “H” in the Model number), and a gooseneck microphone version (indicated by a “G” in the Model number). The differences are indicated below.
| Model | Total Buttons | Command Buttons | Keypad Commands | Security |
| PS-400 | 4 | Four Buttons | No | No |
| PS-800 | 8 | Eight Buttons | No | No |
| PS-1600 | 16 | Four Buttons | Yes | Yes |
| PS-1650 | 16 | Sixteen Buttons | No | No |
- Command Buttons – Assigns Commands to the available buttons.
- Keypad Commands – Has a numeric keypad; you can specify the Commands that can be entered using the keypad.
- Security – Sets Automatic logoff timeout, logon requirements, and restricts Users. A Page Station must have a keypad to have security requirements.
Power
In addition to audio and data deliveries via Q-LAN, the Page Station is designed to receive its power from the Q-LAN network via IEEE 802.3af compliant power sourcing equipment (PSE). This technology is better known as PoE (Power over Ethernet). A PSE node can be an appropriate PoE enabled switch port or a PoE enabled power injecting device. When both Q-LAN ports on the Page Station are connected to PoE enabled sources, the Page Station enters a load sharing mode that balances the power draw from each source to supply the page station. Should a port failure event occur, the page station draws the full power load required from the remaining healthy PoE enabled source. The Page Station can also be operated from a separate +24 VDC power supply in applications where PoE power is unavailable or undesirable.
User Interface
The Q-SYS Page Stations provide a front-panel user interface that includes a 16-, 8-, or 4-button capacitive-touch keypad. The keypad offers visible feedback and tactile cues, yet there are no buttons or membranes to wear out. Paging status, operational detail and alerts are also reported via illuminated status indicators and the station’s 240×64 monochrome graphics LCD.
Microphones
For Page Stations with the letter H in the model number, voice input is provided through a push-to-talk, dynamic paging microphone. A unique magnetic docking system and cable strain relief allow flexibility in microphone placement when not in use. The letter G in the model number indicates a dynamic gooseneck microphone.
Inputs and Outputs
The rear panel of the Page Station offers a variety of auxiliary audio I/O interfaces and GPIO for expanding its capability.
The auxiliary audio inputs can accommodate accessories such as a secondary microphone or an MP3 audio source. The Page Station auxiliary output can drive an amplifier input, powered loudspeaker or other destination device. And the Page Station GPIO interface can be configured to use external events to affect paging operation or to be the source of events to affect external control systems.
The Q‑Sys Q‑LAN Network
The Q-Sys solution is designed to be deployed on QSC’s high performance Q-LAN network (Figure 1). Q-LAN is a proprietary time-sensitive gigabit Ethernet network implementation that bundles several industry standard protocols into a data transport solution appropriate for live performance multimedia environments.
Q-LAN offers gigabit data rates, device and network redundancy, 32-bit floating point audio data transfers, and low latency support on local area network deployments. Accurate synchronization of end nodes and high-quality clock distribution are built into the Q-LAN solution using the IEEE-1588 Precision Time Protocol. Discovery of end nodes and auto configuration of end nodes are all included in the solution using industry standard protocols over a standards-based IP network implementation that utilizes off-the-shelf hardware components. Figure 1 shows a very simple Q-LAN network implementation with a Q-Sys Core, a Q-Sys I/O Frame, Ethernet switch, and a Q-Sys Page Station.
All devices are connected to a managed Gigabit Ethernet switch that includes the appropriate QoS (Quality of Service) to support multimedia applications. The network switch is also a PSE device, offering a number of PoE ports to power the Q-Sys Page Station devices.
The Page Stations can be configured via Q-Sys Designer to source page announcements or prerecorded audio streams to the Q-Sys Core. The Q-Sys Core can then redistribute these announcements or audio streams throughout the facility by forwarding them (with or without additional signal processing) to Q-Sys I/O Frames. The Q-Sys I/O Frames can then drive the inputs of QSC amplifiers or powered loudspeakers.
Note that a PC or laptop is only required during initial configuration of the system or when a PC is the preferred means for providing on-going management services to the system designer or operator.
There are no special unpacking precautions. However, it is recommended that you keep the original packing materials for reuse in the rare event that service is required. If service is required and the original packing material is not available, ensure that the unit is adequately protected for shipment (use a strong box of appropriate size, sufficient packing/padding material to prevent load shifting or impact damage) or call QSC’s Technical Services Group for replacement packing material and a carton.
Q Sys I/O Frame
Provides the means for audio input and output to the Q-LAN network
Windows Based Computer
A PC or laptop running Q Sys Designer or remote management application. This computer is required only during the design and configuring the system. The computer is not required for runtime operation, though it may be used for on-going system management.
Q Sys Core
Provides signal processing, distribution and management services for the Q Sys system. All time-sensitive audio and management communications traverse the Q-LAN network.
Q Sys Page Station
In conjunction with the Q Sys Core, the Page Station provides paging services for the Q Sys system. All audio and management communication traverse the Q LAN network.
Features
Q‑Sys PS‑1600H and G Front Panel
Refer to Figure 2. To see the keypad configurations of Page Station models PS-1650, PS-800, and PS-400 , see
Figure 2 

- LED touch indicators
- Capacitive Touch Keypad
- Busy and Ready Indicators for Command Buttons
- Button Monitor Speaker
- LCD – 240 x 64 Monochrome Graphics Display
- Global Busy, Ready and Record Indicators
- Dynamic Push-to-talk Microphone (hand-held only) Gooseneck models use the Talk/Start button to make the page.
- Magnetic Microphone Docking Plate (hand-held only)
- Gooseneck Microphone
LED Touch Indicators
When a key is pressed, the LED on that key illuminates to indicate that it was pressed.
Capacitive Touch Keypad
- Command buttons can be assigned one of several different types of Commands using the Q-SYS Designer Administration Interface. Once assigned, you just have to press the appropriate Command button to initiate the action.
- Use the number keys to enter Command Codes to initiate PA System actions (PS-1600 only)
- Use the number keys to enter the User PIN (if the Page Station requires user logon) (PS-1600 only)
- Press Clear (*) to clear keyed-in Codes prior to pressing Enter (#). (PS-1600 only)
- Press Clear (*) twice to log off of the Page Station. (PS-1600 only)
- Press Enter (#) to begin a page once the Code is entered. (PS-1600 only)
- Press Enter (#) to logon once the User PIN is entered. (PS-1600 only)
Talk/Start Button
- Tap the Talk/Start button one time to begin a page (tap-on). Tap the button a second time to end the page (tap-off). If you tap-off during the page, the page is logged as completed successfully. If you tap-off during the preamble, the page is logged as cancelled.
- Press and hold the Talk/Start button to begin a page. Release the button to end the page. If you release the button during the page, the page is logged as completed successfully. If you release the button during the preamble, the page is logged as canceled.
- Double-tap the Talk/Start button to clear an entry. (equal to pressing the Clear (*) button)
Busy and Ready Indicators for Command Buttons
- The red Busy LED indicates that the Command is in use by another Page Station.
- The green Ready LED indicates that you can initiate that Command.
Button Monitor Speaker
Produces a “beep” when a button is pressed.
LCD – 240 x 64 Monochrome Graphics Display
The LCD displays various messages including user instructions, the status of the Page Station, status of pages, and so on. The information displayed varies between models.
Global Busy, Ready, and Record Indicators
- Busy (red) illuminates when the selected Command has a queuing mode of Live, and one or more of the PA Zones associated with the Command is in use by another station.
- Ready (green) illuminates when the selected Command has a queuing mode of Live, and all of the PA Zones associated with your Command are available for use. If the queuing mode of the Command is Automatic, the Ready LED is illuminated at all times because the page is recorded if the zones are not available. In Delayed queuing mode the Ready LED is illuminated at all times because the page is recorded regardless of zone status.
- Record (red) illuminated indicates that the page you are making is being recorded. The Queuing method for your page must be Automatic, and one or more of the PA Zones associated with the page must be in use, or the queuing mode of the Command is Delayed. The message will be played once all associated PA Zones are free.
Microphone
A dynamic push-to-talk microphone is available with hand-held model Page Stations only. The hand-held models are designated by the letter H in the model number. Gooseneck microphone models must use the TALK/START button to make the page. Gooseneck models are designated by the letter G in the model number.
Magnetic Microphone Docking Plate
The Q-SYS Page Station uses a magnetic docking plate to hold the hand-held microphone. Just place the back of the microphone up against the plate and let it go! Available with hand-held microphone models only.
Q‑Sys Page Station Rear Panel
Refer to Figure 3.
- MIC LINE (In) (three-pin Euro connector)
- AUX POWER (two-pin Euro connector)
- Connector labels
- Strain Relief clamp and screw (hand-held only)
- Microphone Connector – RJ45 (hand-held only)
- Q-Sys LAN B (RJ45 connector)
- Q-Sys LAN A (RJ45 connector)
- GPIO connector (six-pin Euro connector)
- LINE OUT (three-pin Euro connector)
MIC/LINE In
The Page Station rear panel includes an auxiliary MIC/LINE input for support of a secondary microphone or other audio source. The MIC/LINE accepts a Euro style (Phoenix) three-terminal plug, included in the Page Station package. Follow the Page Station rear panel pin-out labels Figure 4 for wiring. Figure 5 and Figure 6 indicate appropriate termination practices for balanced and unbalanced applications.
Figure 4
Figure 5
Figure 6
AUX POWER
The Page Station rear panel includes a receptacle for connecting a +24 VDC/500 mA power source. This is an optional supply source to power the Page Station, and can be used as the only power source or as a backup power source should PoE fail. The power receptacle on the rear panel of the
Page Station accepts a Euro style (Phoenix) two-terminal plug (Figure 7), included in the Page Station package. Follow the Page Station rear panel pin-out label (Figure 8) when connecting to this receptacle. Figure 7
Figure 8
Figure 9
CAUTION!: The power supply used to provide 24 VDC power to the unit shall be a UL Listed ITE power supply, marked LPS, or a UL Listed direct plug-in power unit, marked Class 2, with a rated output of 24 VDC/500 mA.
Microphone Connector
- RJ45 connector for hand-held microphone models.
- The gooseneck microphone is not user-replaceable. Please contact QSC Support for details if it needs repair.
Strain relief
Secures the cord of the hand-held microphones to remove any stress to the RJ45 connector.
Q-LAN Network
Connect one end of a data communications cable (Cat 5e rating or better) terminated with a Class 2 RJ45 connector into the LAN A (and optionally the LAN B) connector on the rear panel of the Q-SYS Page Station (Figure 9). Ensure that the lock tab on the cable’s connector engages with the RJ45 connector on the rear panel. Ensure that the mating network switch port offers IEEE 802.3af compliant power if powering the Page Station via PoE. Refer to the Q-SYS online help for Networking details
Figure 9
GPIO Connector
The Page Station rear panel includes a six-terminal receptacle (Figure 10, and Figure 11) that provides various GPIO (General Purpose Inputs and Outputs) that allows the Page Station to control or be controlled by a variety of external products. The Page Station GPIO receptacle accepts Euro style
(Phoenix) two, three or six-terminal plugs. A six-terminal plug is included in the Page Station ship kit. Follow the Page Station rear panel pin out labels (Table 1) when connecting to the GPIO receptacle. Refer to the Q-SYS online help for GPIO details.
Figure 10
Figure 11
| Signal Name | Description |
| Dig 0 | Digital pin |
| Dig 1 | Digital pin |
| GND | Ground |
| Dig 2 | Digital pin |
| Dig 3 | Digital pin |
| GND | Ground |
| Digital one = 3.3 VDC @ 2mA Digital zero = 0 V | |
LINE OUT
The Page Station rear panel includes an auxiliary Line Output receptacle to drive an amplifier or console input directly. The Line Output may be used for mission critical or alternative event applications. The receptacle accept a Euro style (Phoenix) three-terminal plug, which are included in the Page Station package. Follow the Page Station rear panel pin-out labels (Figure 12) when connecting to the receptacle. Figure 13 and Figure 14 indicate appropriate termination practices for balanced and unbalanced applications.
Figure 12
Figure 13
Figure 14
Page Station Configuration and Setup
Q-SYS Designer is the software application required to configure your paging system. Refer to the Q-SYS Designer online help for details.
This section covers connecting the hardware to the Q-LAN network, powering up, and re-setting the Page Station to the factory defaults.
Optional Connections
The following are optional, and should be connected prior to powering up the Page Station.
- MIC/LINE (3-Pin Euro)
- LINE OUT (3-Pin Euro)
- GPIO
- AUX POWER (If you make this connection and plan to use PoE, do not turn the auxiliary power supply on until you have made the network connection with PoE turned on. See “About PoE and AUX POWER”, page 12)
- Page Station Expander Adapter, for use with the Q-SYS Page Station Expander.
Required Connections
- LAN-A — Connect one end of a Cat 5e cable with an RJ45 connector to the LAN-A connector on the Page Station. Connect the other end of the cable to the Q-LAN network.
- Connect LAN-B in the same way if you are going to be using LAN-B.
When power is supplied to the Page Station it may take several minutes to boot fully. The message “Q-SYS not configured” displays. This message remains until the network details are configured for the Page Station and it is included in a valid paging design.
About PoE and AUX POWER
There is no On/Off switch for the Page Station, making the order in which the power is connected important. The following information describes the events when power is lost based on which power is supplied to the Page Station first.
- If AUX POWER is supplied first:
- The Page Station boots using AUX POWER.
- If PoE is then connected, it is not used.
- If AUX POWER fails, power to the Page Station is lost, the Page Station re-boots using PoE.
- If PoE fails with AUX POWER still available, there is no effect – PoE was not being used.
- If PoE is supplied first:
- The Page Station boots using PoE.
- If AUX POWER is then connected, it is not used.
- If PoE fails, the Page Station switches to AUX POWER. There is no re-boot.
- If AUX POWER fails with PoE still available, there is no effect AUX POWER was not being used.
- If PoE returns, the Page Station remains on AUX POWER.
Using the Page Station Menu
To access the menu, when the “Q-SYS not configured” message is displayed, press and hold the Talk/Start button until the first item in the menu is displayed. Press the Talk/Start button to sequence through the menu pages. The following list shows the six pages with factory default settings. The factory settings are slightly different for each Page Station, below is an example.
- Q-SYS Page Station — Model PS-1600H
- Name: — Page Station 40ab
- LAN A — IP Addr 169.254.36.146 — Netmask 255.255.0.0
- LAN B — IP Addr 169.254.55.4 — Netmask 255.255.0.0
- Firmware Version — 2.0.111
- Copyright (C) 2010 — QSC Audio Products, LLC.
Reset the Page Station to Factory Defaults
- If the Page Station is part of a running design, do the following:
- In Q-SYS Designer, from the main menu, select File > Load from Core and Connect. Select the design containing the Page Station you wish to reset.
- From the main menu, select Tools > Configurator…
- Select the Page Station you wish to reset.
- Change the hostname of the Page Station. “Q-SYS not configured” displays on the Page Station LCD.
- Follow the procedure “Using the Page Station Menu” on page 12 to access the menu.
- Press the Talk/Start button to access the Name, LAN-A, or LAN-B menu page.
- Insert a reset tool (a paperclip works) into the small hole on the right side of the Page Station to press the reset button. “Clear settings in 10, 9, …” displays on the Page Station LCD.
- Hold the reset button until the count down gets to 0.
- Release the reset button. The Page Station is reset to factory default settings.
Mounting the Hand-held Microphone Models
NOTE: The product shall be installed in accordance with the applicable code requirements. The tripple-gang electrical box must be UL listed, and the dimensions must meet NEMA standards.
Q-Sys Page Stations are designed to be mounted on a wall or podium with an appropriate cutout and cavity to allow all cables and power sources to connect to the Page Station rear panel with adequate stress relief. The included Mounting Bracket is designed to mate with a standard, triple-gang U.S. electrical box, but does not need one to be mounted. Using an electrical box provides contractors with the option of pre-wiring, then installing the Page Station at a later time. The Mounting Bracket should be firmly attached to the wall using the electrical box (if installed) for alignment only.
Figure 15
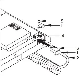
- Remove the Mounting Bracket from the Page Station. It is secured by one screw on the bottom of the Page Station. Refer to Figure 17 a. Set the screw aside for later use.
Refer to Figure 15. - Place the Microphone Strain-relief Clamp (1) over the Microphone cable (2).
- Plug the RJ-45 plug (3) into the receptacle (4) on the Page Station.
- Install screw (5) through the clamp and into the Page Station to secure the Mic cable.
- Route all Page Station wiring and connectors through the center of the Mounting Bracket.
- Use four tripple-gang screws (included) (Figure 16-1) to align and mount the Mounting Bracket to the triple-gang electrical box if you are using one.
- Use six screws (not included) (Figure 16-2) to secure the Mounting Bracket to the wall. The six screws shall be appropriate for the surface to which the Page Station is mounted.
Figure 16
IMPORTANT: The six screws, securing the Mounting Bracket to the wall, are required even when using the triple-gang electrical box. - Connect all Page Station wiring to the proper connectors on the Page Station.
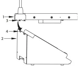
Refer to “Q-Sys Page Station Rear Panel” on page 9. Refer to Figure 17. - Tilt the top of the Page Station back and install the Page Station onto the Mounting Plate by aligning the two tabs on the Page Station with the two slots on the Mounting Plate.
- With the Page Station still tilted, carefully bundle the wiring back into the wall (or triple-gang electrical box).
- Push the bottom of the Page Station to the wall.
- Install and tighten the screw (Figure 17 1) removed in step 1, through the Mounting Bracket up into the Page Station.
Figure 17
NOTE: Use these installation instructions to mount the Hand-held Page Station models to other surfaces as well.
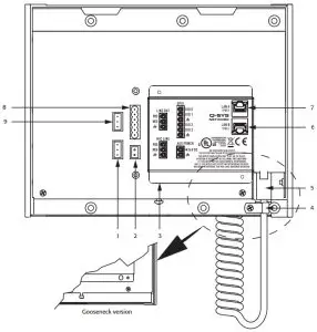
Mounting the Gooseneck Microphone Models
There are two methods of mounting the Gooseneck Microphone Page Stations. You can mount the Page Station onto the mounting surface with the Page Station at a 30° angle to the mounting surface or into a podium or other surface so that the Page Station surface is flush with the mounting surface. The first method is discussed in this document, while the flush, or Podium Mount is an optional accessory for the Gooseneck Page Station with separate instructions
Figure 18
- Select the surface on which you wish to mount the Page Station. The surface should have enough access-room below it to allow for installing the attaching hardware and the Page Station cables.
- Place the Angle-Mount Bracket on the surface oriented as you wish.
- Mark four screw holes (one in each corner) along both bottom sides of the Angle Mount bracket. (See Figure 18)
- Optionally, you can make an opening in the mounting surface for the cables under the bracket, or feed
the cables through the slot at the bottom back side of the bracket. - Sse a 1/4” drill bit to drill the six holes.
- Use a Phillips screwdriver to remove the top two screws on the back of the Page Station. Discard thescrews. (Figure 19)

- Align the Angle-Mount Bracket (2) with the holes drilled in step 5 and insert six bolts (not supplied) through the Angle-Mount bracket and the mounting surface, then secure with the appropriate washers and nuts.
- Hold the Page Station (1) horizontally above the Angle Mount Bracket (Figure 20) and lower the Page Station down onto the bracket so that the two tabs (3) on the Page Station slide into the two slots (4) on the bracket.
- Lower the front of the Page Station down onto the bracket. Make sure the two tabs on the Page Station remain engaged with the two slots in the bracket.
- Connect all Page Station wiring to the proper connectors on the Page Station. Refer to “Q-Sys Page Station Rear Panel” on.

CAUTION!: Make sure that the wiring is secured so that it does not place stress on the connectors..
Refer to Figure 21.
- Insert the socket-head cap screw (1) through the bracket and into the Page Station. Tighten with a 9/16″ hex wrench.
Specifications
| Hardware | |
| Dimensions (H/W/D) Line voltage requirements Accessories included | 10.37” x 8.3” x 1.5” (263.4 mm x 210.8 mm x 38.1 mm) IEEE 802.3af power or +24 VDC/500 mA Hardware User Manual, Accessory ship kit, Warranty card |
| Audio Channel Capacity | |
| Line Inputs Line Outputs | 2 1 |
| Front Panel Controls | |
| Paging keypad Microphone | Capacitive touch keypad, PTT momentary button PTT momentary switch (hand-held models only) |
| Front Panel Indicators | |
| Talk, Ready, Busy Keypad button activity LCD | Bi-color LEDs (red/green) Green LEDs 240×64 monochrome graphics display |
| Rear Panel Connectors | |
| Hand-held microphone Q-LAN Network LAN A and LAN-B DC power +24 VDC inlet Line Input Line Output GPIO | RJ45 RJ45 1000 Mbps only 2-pin Euro receptacle 3-pin Euro receptacle 3-pin Euro receptacle 6-pin Euro receptacle |
| Line Input | |
| Dynamic range Unweighted A-weighted | >115 dB >118 dB |
| Distortion (20 Hz – 20 kHz, all sensitivities) +4 dBu (maximum) 2 dB below clip (maximum) | <0.009% THD+N <0.009% THD+N |
| Crosstalk (20 Hz – 20 kHz) Inter-channel (maximum) Inter-channel (typical) Intra-channel (maximum) Intra-channel (typical) | >75 dB >90 dB >85 dB >100 dB |
| Frequency response 20 Hz – 20 kHz (maximum) 20 Hz – 20 kHz (typical) | ± 0.5 dB ± 0.2 dB |
| Input impedance Balanced (nominal) Unbalanced (nominal) | 10k ohms 10k ohms |
| Common mode rejection: 20 Hz – 20 kHz (minimum) 20 Hz – 20 kHz (typical) | >54 dB >60 dB |
| Input sensitivities: Vrms dBu dBv | 1.5, 3, 9, 18 5.7, 11.8, 21.3, 27.3 3.5, 9.5, 19.1, 25.1 |
| Line Output | |
| Dynamic range Unweighted A-weighted | >112 dB >115 dB |
| Crosstalk (20 Hz – 20 kHz) Inter-channel (maximum) Inter-channel (typical) Intra-channel (maximum) Intra-channel (typical) |
|
| Mute | Infinite attenuation |
| Optional Accessories | PS-X Page Station Expander |
Keypad Configurations
The following keypads are available with both the hand-held, and gooseneck models.
Figure 22
Figure 23
Figure 24
Figure 25
Customer Support
Mailing Address:
QSC, LLC
1675 MacArthur Boulevard
Costa Mesa, CA 92626-1468 U.S.
Main Number: (714) 754-6175
World Wide Web: www.qsc.com
Q-SYS 24/7 Emergency Support*
Tel: +1-888-252-4836 (U.S./Canada)
Tel: +1-949-791-7722 (non-U.S.)
*Q-SYS 24/7 Support is for Emergency assistance with Q-SYS systems only. 24/7 support guarantees a call back within 30 min after a message is left. Please include, Name, Company, Call Back Number and description of the Q-SYS emergency for prompt call back. If calling during business hours please use the standard support numbers above.
Sales & Marketing:
Voice: (714) 957-7100 or toll free (U.S. only) (800) 854-4079
FAX: (714) 754-6174
E-mail: [email protected]
Q-SYS Support Email
[email protected]
(Immediate email response times not guaranteed)
Q-SYS™ Customer Support
Application Engineering and Technical Services
Monday – Friday 7 AM to 5 PM PST (Excludes Holidays)
Tel. 800-772-2834 (U.S. only)
Tel. +1 (714) 957-7150
QSC
Technical Services
1675 MacArthur Blvd.
Costa Mesa, CA 92626 U.S.
Tel: 800-772-2834 (U.S. only)
Tel: +1 (714) 957-7150
FAX: +1 (714) 754-6173
© 2010 – 2015, QSC, LLC. All rights reserved. QSC and the QSC logo are registered trademarks of QSC, LLC in the U.S. Patent and Trademark office and other countries. Q-SYS is a trademark of QSC, LLC. Patents may apply or be pending. “Windows” is a trademark of Microsoft Corp. All other trademarks are the property of their respective owners.
http://patents.qsc.com
























